GM Service Manual Online
For 1990-2009 cars only
Makes
🢒
Chevrolet
🢒
2000
🢒
Astro - 2WD
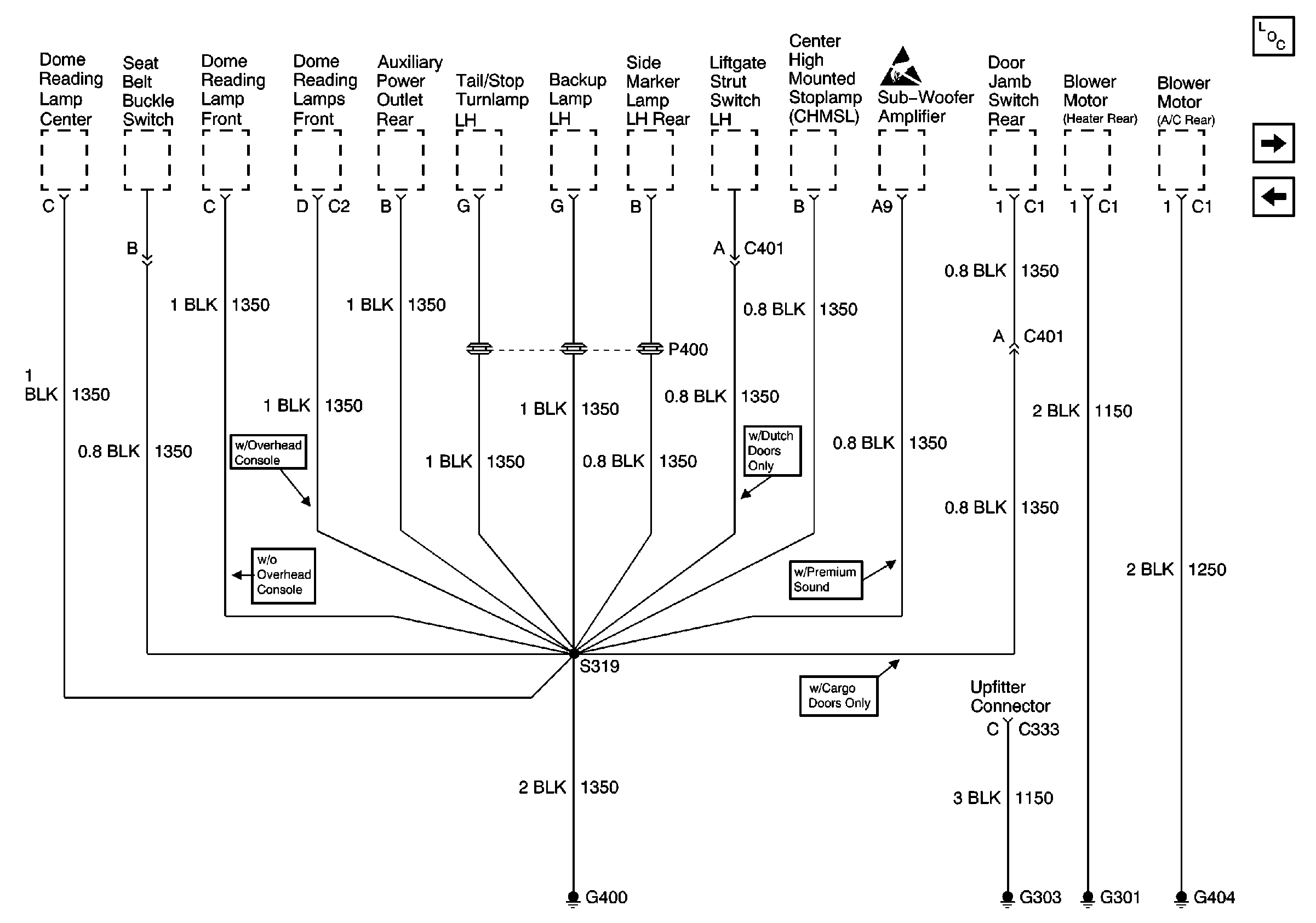
🢒 G301, G303, G400 and G404
G301, G303, G400 and G404
G301, G303, G400 and G404
Power and Grounding Components
G300 and G403
G200 (2 of 2) and G401
Handling ESD Sensitive Parts Notice