GM Service Manual Online
For 1990-2009 cars only
Makes
🢒
Chevrolet
🢒
2000
🢒
Astro - 2WD
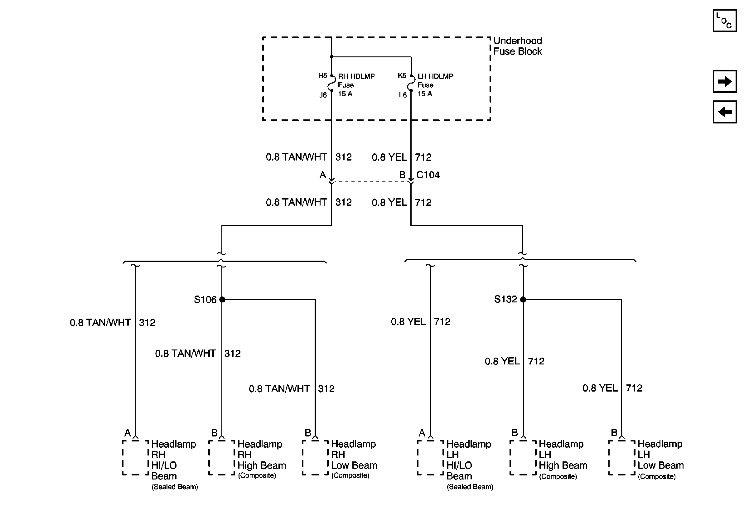
🢒 RH HDLMP and LH HDLMP Fuse
RH HDLMP and LH HDLMP Fuse
RH HDLMP and LH HDLMP Fuse
Power and Grounding Components
IGN-B Fuse and Ignition Switch
HTD MIR/RR DEFOG, A/C COMP, HORN, ECM-B Fuse