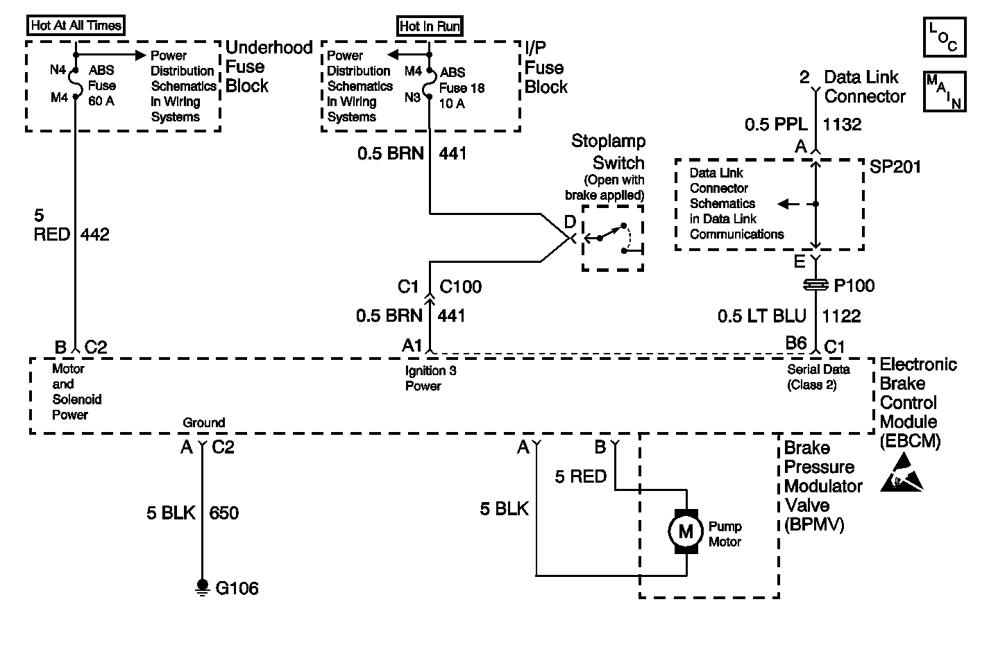
The EBCM relay closes and vehicle battery voltage is applied to the high side of all six solenoid coils (three isolation solenoid coils and three dump solenoid coils) whenever ABS valve activity may be required. Each valve solenoid is energized when the EBCM microprocessor turns on an output driver transistor to short the low side of the solenoid coil to ground. The EBCM microprocessor monitors the state of the circuit on the low side of each solenoid coil with a feedback circuit to the EBCM microprocessor. Whenever the EBCM relay is closed and a solenoid coil output driver transistor is not turned on, the feedback voltage should be high. If it is not, and the problem persists long enough, the open solenoid coil DTC will set. If the EBCM relay is not turned on, the feedback voltage should be low. If it is not, and the problem persists long enough, the shorted solenoid coil DTC will set. The relay and the six solenoid coils are located within the EBCM.
| • | Ignition switch in the RUN position. |
| • | The ABS bulb check is complete |
| • | EBCM internal relay closed |
Low voltage is present on the EBCM solenoid driver circuit when the voltage is expected to be high (solenoid not energized).
High voltage is present on the EBCM solenoid driver circuit when the voltage is expected to be low (solenoid energized).
| • | The ABS indicator lamp turns on |
| • | The ABS disables |
Malfunction responses to DTC C0241--C0254 vary, depending on the affected subsystem.
| • | ABS--Ignition latched |
| • | DRP--DRP critical (all except DTC C0243/44, C0247/48 which are DRP non critical) |
For a detailed explanation of DTC malfunction responses, refer to Self-Diagnostics
| • | Repair the conditions responsible for setting the DTC |
| • | Use the Scan Tool Clear DTCs function |
This DTC usually sets because of an open/shorted solenoid coil within the EHCU. The solenoid coil is located within the EBCM and is not serviceable. If the test does not repair the DTC, then replace the EBCM.
If this DTC sets with other DTCs, check for the following conditions:
| • | A poor EBCM power or signal ground |
| • | A poor EBCM power or ignition feed |
The numbers below refer to the steps in the diagnostic table:
Step | Action | Value(s) | Yes | No |
|---|---|---|---|---|
1 | Did you perform the ABS Diagnostic System Check? | -- | Go to Step 2 | Go to Diagnostic System Check |
2 |
Does the DTC set? | -- | Go to Step 3 | Go to Step 4 |
Replace the EBCM. Refer to Electronic Brake Control Module Replacement . Did you complete the replacement? | -- | Go to Step 4 | -- | |
4 | Operate the vehicle under the conditions for running the DTC as specified in the supporting text. Does the DTC set? | -- | Go to Step 2 | System OK |