GM Service Manual Online
For 1990-2009 cars only

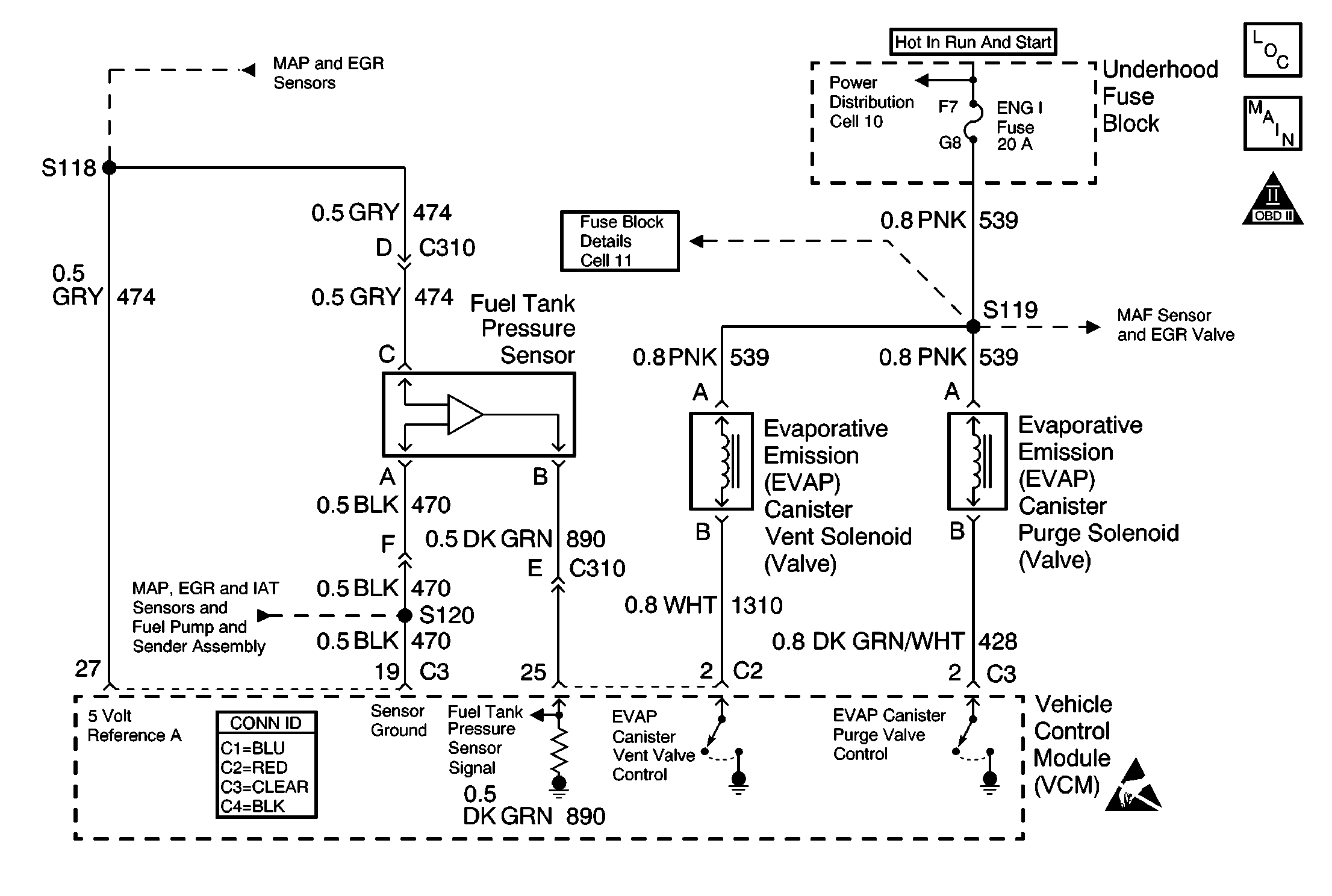
Object Number: 600572  Size: MF
Engine Controls Components
Emission Controls
OBD II Symbol Description Notice
Handling ESD Sensitive Parts Notice

Circuit Description

The vehicle control module (VCM) monitors the performance of the evaporative emissions (EVAP) system by applying a predetermined level of vacuum to the EVAP system and monitoring the vacuum decay rate. The VCM sets this DTC if the vacuum decay rate is more than a predetermined value. The VCM monitors the amount of vacuum and the amount of pressure in the EVAP system by monitoring the fuel tank pressure (FTP) sensor. For this DTC the VCM turns ON both the EVAP purge valve and the EVAP vent valve when the Conditions for Running the DTC are met. This applies an engine vacuum to a closed EVAP system. The VCM turns OFF both the EVAP purge valve and the EVAP vent valve when the system reaches the correct amount of vacuum. The EVAP system should quickly release the vacuum in the EVAP system with the EVAP purge valve OFF and the EVAP vent valve OFF. This test indicates a blocked or restricted EVAP vent path, if the EVAP system fails to release the vacuum quickly enough.

Conditions for Running the DTC

    • No active manifold absolute pressure (MAP) sensor DTCs
    • No active throttle position (TP) sensor DTCs
    • No active vehicle speed sensor (VSS) DTCs
    • No active heated oxygen sensor (HO2S) DTCs
    • No active engine coolant temperature (ECT) sensor DTCs
    • No active intake air temperature (IAT) sensor DTCs
    • DTC P0125 is not active.
    • The fuel level is between 12.5 percent and 87 percent.
    • The system voltage is between 10 and 17 volts.
    • The ECT is between 4°C and 30°C (39°F- 86°F).
    • The IAT is between 4°C and 30°C (39°F- 86°F).
    • The cold start temperature difference (ECT minus IAT) is more than:
        1.5°C (35°F) when the IAT is more than the ECT .
        OR:
        8°C (46°F) when the ECT is more than the IAT.
    • The barometric pressure (BARO) is more than 72 kPa.
    • The change in the fuel tank vacuum is more than 0.6 inch of H2O, or the change in fuel level is more than 8 percent.
    • The fuel tank vacuum level remains more than a calibrated value for a specified number of seconds.

Conditions for Setting the DTC

The VCM fails to detect a decrease in the EVAP system vacuum over a calibrated number of seconds with the vent valve open.

Action Taken When the DTC Sets

    • The VCM illuminates the malfunction indicator lamp (MIL) during the first key cycle in which the DTC sets.
    • The VCM stores the conditions that were present when the DTC sets as a Freeze Frame and Failure Records data.

Conditions for Clearing the MIL or DTC

    • The control module turns OFF the MIL after 3 consecutive drive trips when the test has run and passed.
    • A history DTC will clear if no fault conditions have been detected for 40 warm-up cycles. A warm-up cycle occurs when the coolant temperature has risen 22°C (40°F) from the startup coolant temperature and the engine coolant reaches a temperature that is more than 70°C (158°F) during the same ignition cycle.
    • Use a scan tool in order to clear the DTCs.

Diagnostic Aids

Important: An accurate indication of the fuel level is required for the VCM to properly Pass or Fail this DTC. Always diagnose any fuel level sensor DTCs before performing this diagnostic table. Always check for fuel level sensor DTCs stored in History.

Inspect for the following conditions:

    • A loose, missing, damaged, or incorrect fuel cap
    • Any missing or damaged O-rings at the EVAP canister fuel vapor and purge line fittings
    • A cracked or punctured EVAP canister
    • Any incorrectly routed or defective EVAP system purge and vapor lines
    • A damaged or disconnected EVAP purge line, vent hose, or fuel tank vapor line
    • A stuck closed EVAP vent valve
    • A restricted or stuck closed fuel tank rollover valve
    • A poor connection at the VCM
         Inspect the harness connectors for the following conditions:
       - Backed-out terminals
       - Improper mating
       - Broken locks
       - Improperly formed or damaged terminals
       - A poor terminal-to-wire connection
    •  Inspect the wiring harness to the EVAP vent valve, the EVAP purge valve, and the FTP sensor for any intermittent, open, or short circuits.
    • A kinked, pinched, or plugged EVAP purge line or fuel tank vapor line.

Refer to Evaporative Emission System Cleaning before starting any repairs.

Reviewing the Failure Records vehicle mileage since the diagnostic test last failed may help determine how often the condition that caused the DTC to be set occurs. This may assist in diagnosing the condition.

Test Description

The numbers below refer to the step numbers on the diagnostic table.

  1. If the vacuum stored in the EVAP system is quickly released, an intermittent system restriction or failure of the EVAP vent valve or the FTP sensor may have occurred.

  2. Checking the vapor canister and the EVAP vent valve for restriction.

  3. An EVAP pressure sensor that does not correctly respond to pressure will cause this DTC to set. The EVAP pressure sensor monitors a range from 7.5 inches H2O of pressure to -17.5 inches H2O of pressure. In order to test the EVAP pressure sensor for pressure response SEAL the system with the scan tool and use the EVAP pressure/purge diagnostic cart to apply pressure to the system. Compare the pressure gauge (inches H2O) on the diagnostic cart to the EVAP pressure sensor reading on the scan tool.

Step

Action

Values

Yes

No

1

Did you perform the Powertrain On-Board Diagnostic (OBD) System Check?

--

Go to Step 2

Go to Powertrain On Board Diagnostic (OBD) System Check

2

  1. Inspect the EVAP system for the following conditions:
  2. • Any improperly routed, kinked, or damaged EVAP purge and tank vent lines
    • A damaged EVAP system component
  3. Repair the EVAP system as necessary.

Was a repair made to the EVAP system?

--

Go to Step 16

Go to Step 3

3

Are DTCs P0452 or P0453 also set?

--

Go to the applicable DTC tables

Go to Step 4

4

  1. Start and idle the engine.
  2. Using the scan tool select the EVAP purge/seal function.
  3. While monitoring the FTP sensor display, command enough EVAP purge to obtain the specified amount of vacuum.
  4. After the specified vacuum has been obtained, seal the system.
  5. While monitoring the FTP sensor display, command the EVAP vent valve OPEN by pressing exit.

Does the EVAP fuel tank pressure sensor quickly decrease to near 0 inches H2O when 0 percent EVAP purge is commanded and the EVAP vent valve is opened?

-8 in. H2O

Go to Diagnostic Aids

Go to Step 5

5

  1. Turn OFF the ignition.
  2. Disconnect the fuel tank vapor and the EVAP purge lines from the EVAP vapor canister.
  3. Plug the canister fitting for the fuel tank vapor line.
  4. Connect a hand vacuum pump to the canister fitting for the EVAP purge line .
  5. With the ignition ON and the engine OFF, command the EVAP vent valve ON.
  6. Using the hand vacuum pump, apply and hold the specified amount of vacuum.
  7. While monitoring the hand vacuum pump gauge, command the EVAP vent valve OFF.

Does the vacuum decrease from the specified value when the EVAP vent valve is opened?

5 in. Hg

Go to Step 8

Go to Step 6

6

  1. Leave system as connected in Step 5.
  2. Disconnect the vent line at the EVAP vent valve.
  3. Plug the vent line.
  4. Using the hand vacuum pump, apply and hold the specified amount of vacuum.
  5. While monitoring the hand vacuum pump gauge, remove the plug from the vent line.

Does the vacuum decrease from the specified value when the vent line is unplugged?

5 in. Hg

Go to Step 10

Go to Step 7

7

  1. Inspect the EVAP vent line from the canister to the EVAP vent valve for restrictions.
  2. Replace the vent line if necessary.

Was the EVAP vent line replaced?

--

Go to Step 16

Go to Step 13

8

  1. Inspect the fuel tank vapor line for a restriction.
  2. Replace the vapor line if necessary.

Was the fuel tank vapor line replaced?

--

Go to Step 16

Go to Step 9

9

    Important: The following steps require the J 41413 EVAP pressure/purge diagnostic station .

    Always zero the EVAP pressure and vacuum (inches H2O) gauges on the EVAP pressure/purge diagnostic station before proceeding with diagnosis.

  1. Turn the ignition OFF.
  2. Remove the plug and the hand held vacuum pump.
  3. Reconnect the EVAP vapor canister purge and vent lines.
  4. Connect the EVAP pressure/purge diagnostic station to the EVAP system service port.
  5. Operate the vehicle until the EVAP purge valve can be commanded ON with a scan tool.
  6. Using the scan tool, use purge/seal to turn the EVAP purge valve ON to varying vacuum levels with the engine running and quickly seal the system with the scan tool. Leaving the EVAP purge valve ON for higher percents or longer times will allow a higher amount of vacuum to develop. A maximum of -8.5 inches H2O of vacuum can be applied to the EVAP system using the scan tool.
  7. While the system is sealed compare the EVAP pressure/purge diagnostic stations vacuum gauge (inches H2O) to the vacuum shown on the scan tool from the FTP sensor. Allow a few seconds for the system to stabilize.

Do both values indicate the same amount of vacuum in the EVAP system to within the range specified?

±2 in. H2O

Go to Step 2

Go to Step 14

10

  1. Turn OFF the ignition.
  2. Disconnect the electrical connector for the EVAP vent valve .
  3. Connect a test lamp between the driver circuit and the ignition feed circuit of the EVAP vent valve.
  4. Turn ON the ignition, leaving the engine OFF.

Does the test lamp illuminate?

--

Go to Step 11

Go to Step 12

11

Test for a short to ground on the vent valve driver circuit. Repair the circuit as necessary.

Was a problem found?

--

Go to Step 16

Go to Step 15

12

Replace the EVAP vent valve. Refer to Evaporative Emission Vent Valve Replacement .

Is the replacement complete?

--

Go to Step 16

--

13

Replace the EVAP vapor canister. Refer to Evaporative Emission Canister Replacement .

Is the replacement complete?

--

Go to Step 16

--

14

Replace the fuel tank pressure sensor. Refer to Fuel Tank Pressure Sensor Replacement .

Is the replacement complete?

--

Go to Step 16

--

15

Important: The replacement VCM must be programmed.

Replace the VCM. Refer to VCM Replacement/Programming .

Is the action complete?

Go to Step 16

--

16

  1. Using the scan tool, clear the DTCs.
  2. Start the engine.
  3. Allow the engine to idle until the engine reaches a normal operating temperature.
  4. Select the DTC and the Specific DTC functions.
  5. Enter the DTC number which was set.
  6. Operate the vehicle within the Conditions for Setting the DTC until the scan tool indicates the diagnostic Ran.

Does the scan tool indicate the diagnostic Passed?

--

Go to Step 17

--

17

Does the scan tool display any additional undiagnosed DTCs?

--

Go to the applicable DTC tables

System OK