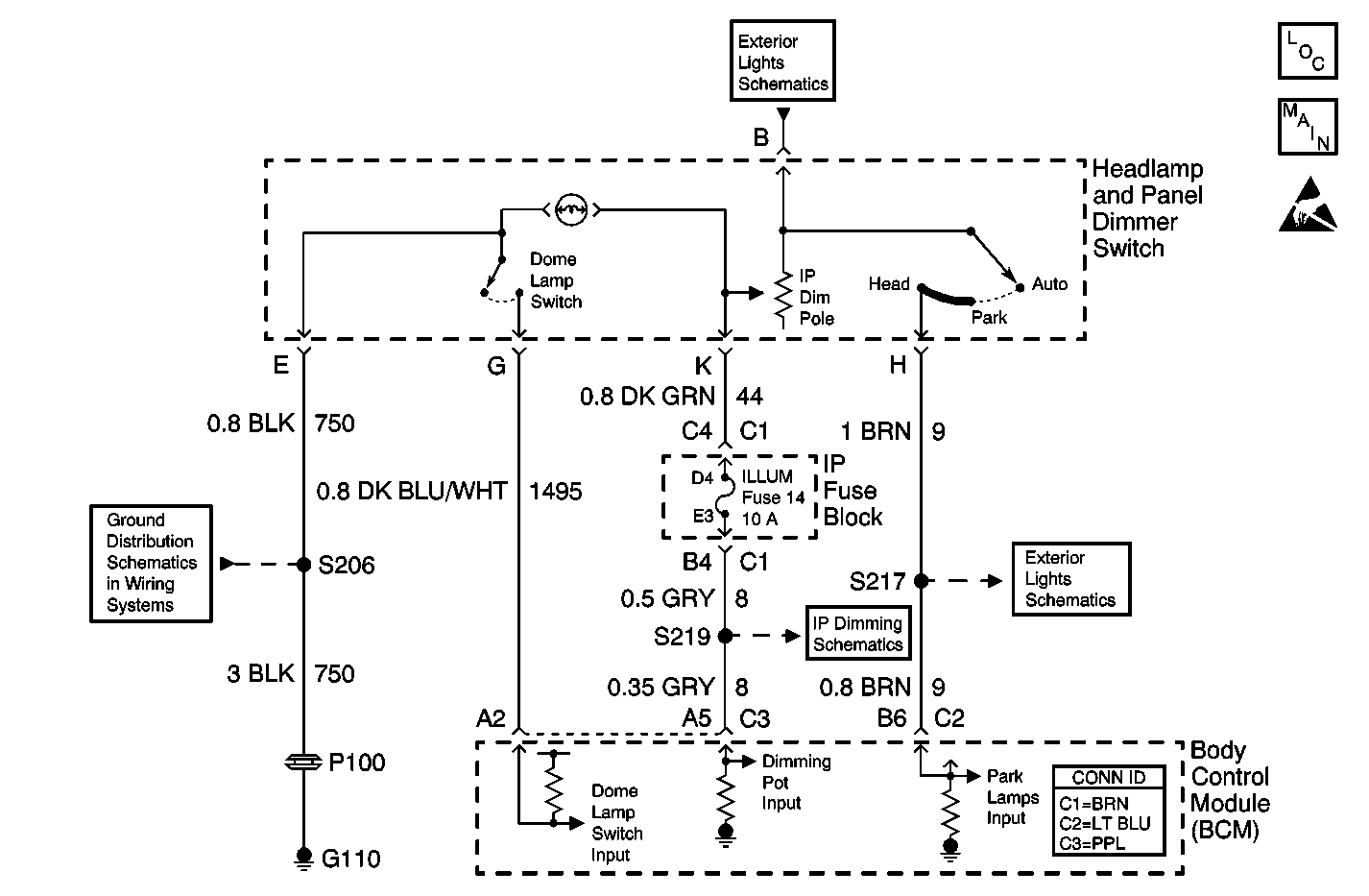
The body control module (BCM) monitors the instrument panel (IP) dimming voltage on CKT 8 from the dimmer switch (thumb wheel) , part of the headlamp and panel dimmer switch. The dimmer switch controls the IP dimming by sending a signal to the BCM on CKT 8 in order to indicate the position of the thumb wheel when the headlamps are ON. The dimmer switch also provides dimming for the backlighting of the instrument cluster , the radio and the overhead console.
| • | The battery voltage must be between 9.0 and 16.0 volts. |
| • | Ignition switch in the RUN position. |
| • | The park lamp switch (part of the headlamp and panel dimmer switch) must be in the OFF (AUTO) position and the ambient light sensor must be in the DARK state. |
| • | The park brake released. |
To set B2613, the following conditions must be present:
| • | CKT 8 is shorted to battery voltage. |
| • | The above conditions must be met for 0.5 seconds. |
The instrument panel lights remain full bright at all times.
| • | A current DTC will clear at the next fault free ignition cycle. |
| • | A history DTC will clear after 100 consecutive ignition cycles without a fault present. |
| • | Use a scan tool in order to clear history and current DTCs. |
| • | Perform a visual inspection for loose or poor connections at all related components. |
| • | Refer to Testing for Intermittent Conditions and Poor Connections in Wiring Systems. |
The number(s) below refer to the step number(s) on the diagnostic table.
Tests for the proper operation of the circuit in the low voltage range.
Tests for the proper operation of the circuit in the high voltage range. If the fuse in the jumper opens when you perform this test, the signal circuit is shorted to ground.
Tests for a short to voltage in the 12 volt reference circuit.
After replacement of the BCM you must calibrate the new module for proper operation.
Step | Action | Value(s) | Yes | No |
|---|---|---|---|---|
1 | Did you perform the Lighting System Diagnostic System Check? | -- | Go to Step 2 | |
2 |
Does the scan tool indicate that the Dimming Potentiometer parameter is within the specified range? | 0.1 - 13.5 volts | Go to Diagnostic Aids | Go to Step 3 |
Does the scan tool indicate that the Dimming Potentiometer parameter is less than the specified value? | 0.1 volts | Go to Step 4 | Go to Step 9 | |
Does the scan tool indicate that the Dimming Potentiometer parameter is greater than the specified value? | 13.5 volts | Go to Step 5 | Go to Step 7 | |
Does the voltage measure less than the specified value? | 0.1 volt | Go to Step 10 | Go to Step 6 | |
6 | Test the 12 volt reference circuit of the Dimming Potentiometer for a short to voltage. Refer to Circuit Testing and Wiring Repairs in Wiring Systems. Did you find and correct the condition? | -- | Go to Step 14 | Go to Step 11 |
7 | Test the 12 volt reference circuit of the Dimming Potentiometer for a short to ground, a high resistance, or an open. Refer to Circuit Testing and Wiring Repairs in Wiring Systems. Did you find and correct the condition? | -- | Go to Step 14 | Go to Step 8 |
8 | Test the signal circuit of the Dimming Potentiometer for a short to ground, a high resistance, or an open. Refer to Circuit Testing and Wiring Repairs in Wiring Systems. Did you find and correct the condition? | -- | Go to Step 14 | Go to Step 11 |
9 | Test the signal circuit of the Dimming Potentiometer for a short to voltage. Refer to Circuit Testing and Wiring Repairs in Wiring Systems. Did you find and correct the condition? | -- | Go to Step 14 | Go to Step 11 |
10 | Inspect for poor connections at the harness connector of the Dimming Potentiometer. Refer to Testing for Intermittent Conditions and Poor Connections and Connector Repairs in Wiring Systems. Did you find and correct the condition? | -- | Go to Step 14 | Go to Step 12 |
11 | Inspect for poor connections at the harness connector of the BCM. Refer to Testing for Intermittent Conditions and Poor Connections and Connector Repairs in Wiring Systems. Did you find and correct the condition? | -- | Go to Step 14 | Go to Step 13 |
12 | Replace the Headlamp and Panel Dimmer Switch. Refer to Headlamp Switch Replacement . Did you complete the replacement? | -- | Go to Step 14 | -- |
Did you complete the replacement? | -- | Go to Step 14 | -- | |
14 |
Does the DTC reset? | -- | Go to Step 2 | System OK |