GM Service Manual Online
For 1990-2009 cars only

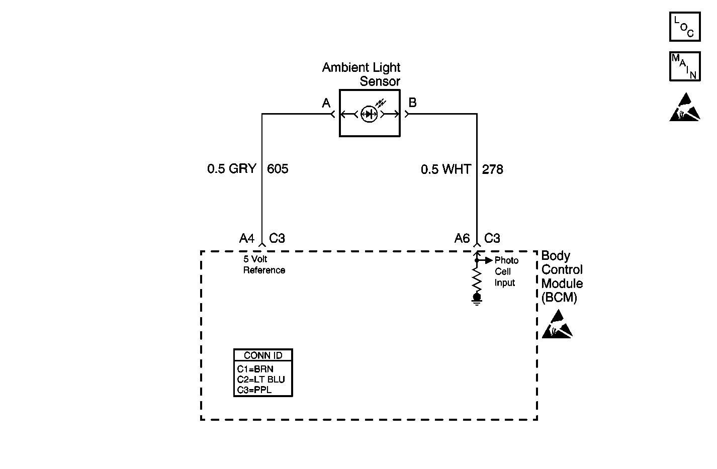
Object Number: 595577  Size: MF
Lighting Systems Components
Headlights/Daytime Running Lights (DRL) Schematics
Handling ESD Sensitive Parts Notice
Handling ESD Sensitive Parts Notice

Circuit Description

The body control module (BCM) monitors CKT 278 in order to determine if the daytime running lights (DRL) or the auto headlights (AHL) should be turned ON in the AUTO mode. When the BCM senses the ambient light sensor voltage between 1.7  4.7 volts (light state) the DRL will be commanded ON. When the BCM senses the ambient light sensor voltage between 0.2  1.0 volts (dark state) the AHL will be commanded ON.

Conditions for Running the DTC

    • The system voltage must be between 9.0 and 16.0 volts.
    • The ignition switch must be in the RUN position.
    • The park brake must be released.
    • The headlamp switch must be in the AUTO position.

Conditions for Setting the DTC

    • When the ambient light sensor input voltage is less than 0.2 volts (CKT 278 is open or shorted to ground).
    • When CKT 605 is open.
    • The above conditions must be met for 0.5 seconds.

Action Taken When the DTC Sets

The AHL will remain ON in any ambient light state.

Conditions for Clearing the MIL/DTC

    • This DTC will clear immediately after the condition for setting the fault is corrected.
    • A history DTC will clear after 100 consecutive ignition cycles without a fault present.
    • Us a scan tool in order to clear history and current DTCs.

Diagnostic Aids

    • Perform a visual inspection for loose or poor connections at all related components.
    • Refer to Testing for Intermittent Conditions and Poor Connections in Wiring Systems.

Test Description

The number(s) below refer to the step number(s) on the diagnostic table.

  1. Tests for the proper operation of the circuit in the low voltage range.

  2. Tests for the proper operation of the circuit in the high voltage range. If the fuse in the jumper opens when you perform this test, the signal circuit is shorted to ground.

  3. Tests for a short to voltage in the 5 volt reference circuit.

  4. After replacement of the BCM you must calibrate the new module for proper operation.

Step

Action

Value(s)

Yes

No

1

Did you perform the Lighting Systems Diagnostic System Check?

--

Go to Step 2

Go to Diagnostic System Check - Lighting Systems .

2

  1. Install a scan tool.
  2. Turn ON the ignition, with the engine OFF.
  3. With a scan tool, observe the Ambient Light Sensor parameter in the Body Control Module (BCM) data list .

Does the scan tool indicate that the Ambient Light Sensor parameter is within the specified range?

0.2 - 4.7 volts

Go to Diagnostic Aids

Go to Step 3

3

  1. Turn OFF the ignition.
  2. Disconnect the ambient light sensor.
  3. Turn ON the ignition, with the engine OFF.
  4. With a scan tool, observe the Ambient Light Sensor parameter.

Does the scan tool indicate that the Ambient Light Sensor parameter is less than the specified value?

.02 volts

Go to Step 4

Go to Step 9

4

  1. Turn OFF the ignition.
  2. Connect a 3 amp fused jumper wire between the 5 volt reference circuit of the ambient light sensor and the signal circuit of the ambient light sensor.
  3. Turn ON the ignition, with the engine OFF.
  4. With a scan tool, observe the Ambient Light Sensor parameter.

Does the scan tool indicate that the Ambient Light Sensor parameter is greater than the specified value?

4.7 volts

Go to Step 5

Go to Step 7

5

  1. Disconnect the fused jumper wire.
  2. Measure the voltage between the 5 volt reference circuit of the ambient light sensor and the signal circuit of the ambient light sensor.

Does the voltage measure less than the specified value?

5.25 volts

Go to Step 10

Go to Step 6

6

Test the 5 volt reference circuit of the ambient light sensor for a short to voltage. Refer to Circuit Testing and Wiring Repairs in Wiring Systems.

Did you find and correct the condition?

--

Go to Step 14

Go to Step 11

7

Test the 5 volt reference circuit of the ambient light sensor for a short to ground, a high resistance, or an open. Refer to Circuit Testing and Wiring Repairs in Wiring Systems.

Did you find and correct the condition?

--

Go to Step 14

Go to Step 8

8

Test the signal circuit of the ambient light sensor for a short to ground, a high resistance, or an open. Refer to Circuit Testing and Wiring Repairs in Wiring Systems.

Did you find and correct the condition?

--

Go to Step 14

Go to Step 11

9

Test the signal circuit of the ambient light sensor for a short to voltage. Refer to Circuit Testing and Wiring Repairs in Wiring Systems.

Did you find and correct the condition?

--

Go to Step 14

Go to Step 11

10

Inspect for poor connections at the harness connector of the ambient light sensor. Refer to Testing for Intermittent Conditions and Poor Connections and Connector Repairs in Wiring Systems.

Did you find and correct the condition?

--

Go to Step 14

Go to Step 12

11

Inspect for poor connections at the harness connector of the BCM. Refer to Testing for Intermittent Conditions and Poor Connections and Connector Repairs in Wiring Systems.

Did you find and correct the condition?

--

Go to Step 14

Go to Step 13

12

Replace the ambient light sensor.

Did you complete the replacement?

--

Go to Step 14

--

13

  1. Replace the BCM. Refer to Body Control Module Replacement .
  2. Program the BCM with the proper calibrations. Refer to Body Control Module (BCM) Programming/RPO Configuration

Did you complete the replacement?

--

Go to Step 14

--

14

  1. Use the scan tool in order to clear the DTCs.
  2. Operate the vehicle within the Conditions for Running the DTC as specified in the supporting text.

Does the DTC reset?

--

Go to Step 2

System OK