GM Service Manual Online
For 1990-2009 cars only

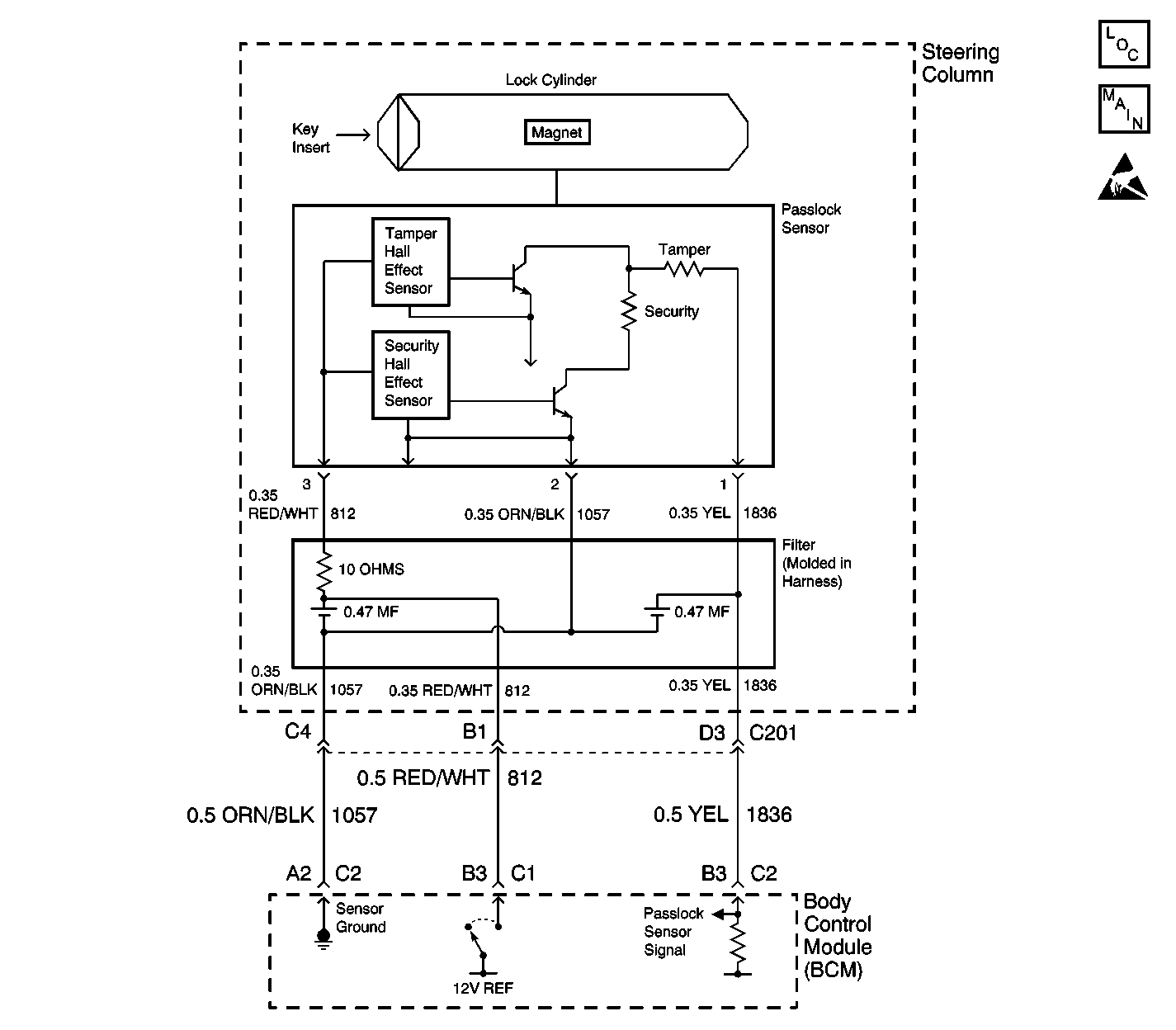
Object Number: 573153  Size: LF
Theft Deterrent System Components
Theft Deterrent System Schematics
Theft Deterrent System Schematic Icons

Circuit Description

The body control module (BCM) will read an analog voltage form the Passlock sensor. Based on an internal reference, the BCM will determine if the measured voltage is in 1 of the following conditions:

    • Open
    • Shorted to ground
    • A valid code
    • A tamper code

There are 10 possible valid code combination. The BCM will only recognize the last learned valid code.

Conditions for Setting the DTC

    • The ignition switch is ON.
    • The BCM signal input is greater than 4.9 volts for 1 second after turning the ignition switch to the CRANK position.

Conditions Causing Problem, not Setting DTC

    • The ignition switch is OFF.
    • The BCM signal input is greater than 4.9 volts for 1 second after turning the ignition switch to the ON, then to the CRANK position.

Action Taken When the DTC Sets

    • The DTC will set only when the engine is running
    • The BCM will be in the fail enable mode allowing the vehicle to start and run.
    • The security telltale will be on.

Action Taken When DTC is not Set

    • The DTC will not set if the engine was not running
    • The VTD Fuel Disable will be Active not allowing the vehicle to start and run.
    • The security telltale will be off.

Conditions for Clearing the DTC

    • The current DTC will clear once an ignition cycle has occurred without the fault recurring.
    • After 100 concurrent ignition cycles occur without the fault recurring, a history DTC clears.
    • Using a scan tool.

Diagnostic Aids

    • When replacing the Passlock sensor, all of the following components are included as a replacement part and must be replaced:
       - The lock
       - The sensor
       - The filter
       - The harness
    • Use a scan tool in order to inspect the Passlock data voltage and the Passlock code.
    • Perform a visual inspection of the wiring and the connectors.
    • Inspect the Passlock sensor harness for an intermittent or a short to battery. Refer to Testing for Intermittent Conditions and Poor Connections in Wiring Systems.
    • You may be directed to this table from the VTD Systems Check without a DTC B2958 being set. If you were directed to this table, follow all of the steps in this diagnostic.
    • When directed to this table, DTC B2958 may have a history status.
    • When connecting connector C201, make measurements on the harness side of the connector.

Test Description

The numbers below refer to the step numbers on the diagnostic table.

  1. This step determines if the Passlock™ data terminal has an open condition or a short to battery.

  2. This step determines if Passlock™ sensor power is available at the body control module (BCM). If CKT 812 is shorted to ground, DTC B2947 will set in addition to DTC B2958. Troubleshoot DTC B2947 prior to DTC B2958. Diagnosing and repairing DTC B2947 may clear DTC B2958.

  3. This step inspects the BCM Passlock ground.

  4. This step inspects for an open in any of the Passlock™ sensor lines.

  5. This step inspects for a short to battery on the Passlock™ data line.

  6. This step isolates the short to battery between the Passlock™ sensor and CKT 1836.

  7. This step inspects for a short to ignition 1.

  8. This step inspects for a short between CKT 1836 and CKT 812.

  9. This step isolates the short to ignition 1 between the harness and the Passlock sensor.

  10. This step inspects for a short between CKT 812 and CKT 1836.

Step

Action

Value(s)

Yes

No

1

Did you perform the VTD Diagnostic System Check?

--

Go to Step 2

Go to Diagnostic System Check - Theft Deterrent

2

  1. Set the park brake.
  2. Rotate the ignition key from the OFF position in order to momentarily engage the starter.
  3. Turn the ignition back to the ON position.
  4. Use a J 39200 digital multimeter (DMM) in order to backprobe the BCM connector C2 terminal B3 to ground.

Is the voltage within the specified range?

4.9-5.0 V

Go to Step 3

Go to Step 8

3

Backprobe the BCM connector C1 terminal B3 to ground.

Is the voltage within the specified range?

9-16 V

Go to Step 4

Go to DTC B2947 Security System Sensor Power CKT Low

4

Use a J 39200 digital multimeter (DMM) in order to backprobe the BCM connector C1 terminal B3 to connector C2 terminal A2.

Is the voltage within the specified range?

9-16 V

Go to Step 5

Go to Step 7

5

  1. Turn the ignition switch to the OFF position.
  2. Disconnect the BCM connectors C1 and C2.
  3. Disconnect connector C201 at the base of the steering column.
  4. Inspect for continuity between the following components:
  5. • The vehicle harness connector C201 terminal C2 to the BCM connector C1 terminal B3.
    • The vehicle harness connector C201 terminal D3 to the BCM connector C2 terminal B3.
    • The vehicle harness connector C201 terminal C4 to the BCM connector C2 terminal A2.

Does the J 39200 digital multimeter (DMM) indicate continuity in all 3 of the circuits?

--

Go to Step 6

Go to Step 11

6

  1. Replace the Passlock sensor.
  2. • To disassemble Lock Housing:
    • To reassemble Lock Housing:
  3. Follow the Passlock learn procedure. Refer to PASSLOCK Reprogramming Seed and Key or PASSLOCK Reprogramming Auto Learn .

Is the repair complete?

--

Go to Step 12

--

7

  1. Turn the ignition switch to the OFF position.
  2. Replace the BCM. Refer to Body Control Module Replacement in Body Control Systems.

Is the repair complete?

--

Go to Step 12

--

8

  1. Turn the ignition switch to the OFF position.
  2. Disconnect the BCM connector C1 and connector C2.
  3. Turn the ignition switch to the ON position.
  4. Using the J 39200 DMM, measure the resistance between the BCM connector C2 terminal B3 and connector C1 terminal A2.

Is the resistance within the specified range?

(OL) Infinite

Go to Step 13

Go to Step 9

9

  1. Disconnect the C201 connector at the base of the steering column.
  2. Use a J 39200 DMM in order to measure the resistance at the BCM connector C2 terminal B3 to connector C1 terminal A2.

Does the J 39200 DMM indicate the specified range?

(OL) Infinite

Go to Step 6

Go to Step 10

10

Locate and repair the short to battery in CKT 1836.

Is the repair complete?

--

Go to Step 12

--

11

Locate and repair the open in the appropriate circuit.

Is the repair complete?

--

Go to Step 12

--

12

  1. Reconnect all of the previously disconnected connectors and the components.
  2. Turn the ignition switch to the ON position.
  3. Connect the scan tool.
  4. Clear the DTCs.
  5. Perform one of the following Relearn Procedures if the Passlock sensor or the BCM have been replaced:
  6. • Seed and Key in 10 minutes PASSLOCK Reprogramming Seed and Key
    • Auto Learn in 30 minutes PASSLOCK Reprogramming Auto Learn

Is the operation complete?

--

Go to Diagnostic System Check - Theft Deterrent

--

13

Use a J 39200 DMM in order to measure the resistance between the BCM connector C2 terminal B3 to connector C1 terminal B2.

Is the resistance within the specified value?

(OL) Infinite

Go to Step 14

Go to Step 15

14

Use a J 39200 DMM in order to measure the resistance between the BCM connector C2 terminal B3 to connector C1 terminal B3.

Is the resistance within the specified value?

(OL) Infinite

Go to Step 7

Go to Step 17

15

  1. Disconnect C201 at the base of the steering column.
  2. Use a J 39200 DMM in order to measure the resistance between the BCM connector C2 termianl B3 to connector C1 terminal B2.

Is the resistance within the specified value?

(OL) Infinite

Go to Step 6

Go to Step 16

16

Locate and repair the short to IGN 1 in CKT 1836.

Is the repair complete?

--

Go to Diagnostic System Check - Theft Deterrent

--

17

  1. Disconnect C201 at the base of the steering column.
  2. Use a J 39200 DMM in order to measure the resistance between connector C1 termianl B3 to connector C1 terminal B3.

Is the resistance within the specified value?

(OL) Infinite

Go to Step 6

Go to Step 18

18

Locate and repair the harness short between CKT 1836 and CKT 812.

Is the repair complete?

--

Go to Step 12

--