GM Service Manual Online
For 1990-2009 cars only

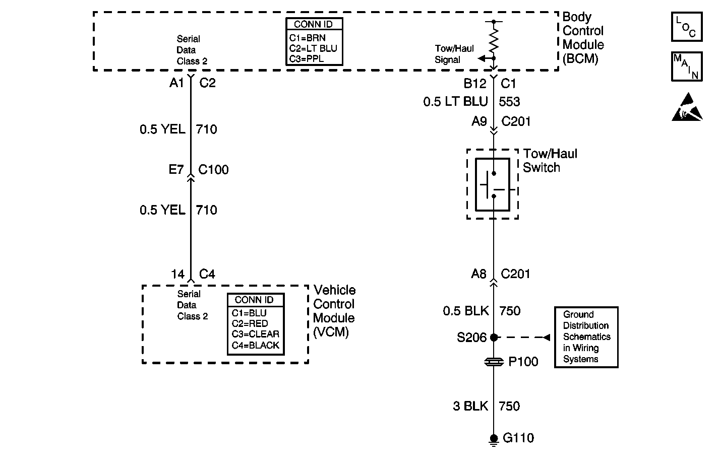
Object Number: 595559  Size: MF
Automatic Transmission Components
Automatic Transmission Controls Schematics
Handling ESD Sensitive Parts Notice
Ground Distribution Schematics

Circuit Description

The body control module (BCM) monitors the signal circuit of the Tow/Haul switch in order to determine when the switch is activated, requesting a trailering or hauling shift pattern.

Conditions for Running the DTC

    • The battery voltage must be between 9.0-16.0 volts.
    • Ignition switch in the RUN position.
    • The Tow/Haul switch must be activated.

Conditions for Setting the DTC

When the signal circuit of the Tow/Haul switch is shorted to ground for approximately 3 minutes.

When theTow/Haul switch is acivated (stuck) for approximately 3 minutes.

Action Taken When the DTC Sets

Tow/Haul mode will be inoperative.

Conditions for Clearing the MIL/DTC

    • This DTC will clear on current status after the condition for setting the fault is corrected.
    • A history DTC will clear after 100 consecutive ignition cycles without a fault present.
    • History and current DTC(s) can be cleared using a scan tool.

Diagnostic Aids

    • Perform a visual inspection for loose or poor connections at all related components.
    • Refer to Testing for Intermittent Conditions and Poor Connections in Wiring Systems.

Test Description

The number(s) below refer to the step number(s) on the diagnostic table.

  1. The normal state is the state of the input before activation

  2. The normal state is the state of the input before activation

  3. After replacement of the BCM you must calibrate the new module for proper operation.

Step

Action

Value(s)

Yes

No

1

Did you perform a Powertrain On Board Diagnostic (OBD) System Check?

--

Go to Step 2

Go to Powertrain On Board Diagnostic (OBD) System Check - Automatic Transmission

2

  1. Install a scan tool.
  2. Turn ON the ignition, with the engine OFF.
  3. With a scan tool, observe the Transmission Preference parameter in the Body Control Module (BCM) Inputs 2 data list.

Does the scan tool display OFF?

ON/OFF

Go to Step 3

Go to Step 4

3

  1. Activate the Tow/Haul switch.
  2. With the scan tool, observe the Transmission Preference parameter.

Does the Transmission Preference parameter change state?

ON/OFF

Go to Diagnostic Aids

Go to Step 4

4

  1. Turn OFF the ignition.
  2. Disconnect the Tow/Haul switch.
  3. Turn ON the ignition, with the engine OFF.
  4. With a scan tool, observe the Transmission Preference parameter.

Does the scan tool display OFF?

ON/OFF

Go to Step 7

Go to Step 5

5

Test the signal circuit of the Tow/Haul switch for a short to ground. Refer to Circuit Testing and Wiring Repairs in Wiring Systems.

Did you find and correct the condition?

--

Go to Step 10

Go to Step 6

6

Inspect for poor connections at the harness connector of the BCM. Refer to Testing for Intermittent Conditions and Poor Connections and Connector Repairs in Wiring Systems.

Did you find and correct the condition?

--

Go to Step 10

Go to Step 8

7

Inspect for poor connections at the harness connector of the Tow/Haul switch. Refer to Testing for Intermittent Conditions and Poor Connections and Connector Repairs in Wiring Systems.

Did you find and correct the condition?

--

Go to Step 10

Go to Step 9

8

  1. Replace the body control module (BCM). Refer to Body Control Module Replacement in Body Control System.
  2. Program the BCM with the proper calibrations. Refer to Body Control Module (BCM) Programming/RPO Configuration in Body Control System.
  3. Perform the learn procedure.

Did you complete the replacement?

--

Go to Step 10

--

9

Replace the Tow/Haul switch. Refer to Shift Lever Replacement - On Vehicle in Steering Wheel and Column - Tilt.

Did you complete the replacement?

--

Go to Step 10

--

10

  1. Use the scan tool in order to clear the DTCs.
  2. Operate the vehicle within the Conditions for Running the DTC as specified in the supporting text.

Does the DTC reset?

--

Go to Step 2

System OK