GM Service Manual Online
For 1990-2009 cars only

Steering Shaft, Lower Bearing, and Jacket - Assemble - Off Vehicle Tilt Column


    Object Number: 306322  Size: SH

    Notice: Use the correct fastener in the correct location. Replacement fasteners must be the correct part number for that application. Fasteners requiring replacement or fasteners requiring the use of thread locking compound or sealant are identified in the service procedure. Do not use paints, lubricants, or corrosion inhibitors on fasteners or fastener joint surfaces unless specified. These coatings affect fastener torque and joint clamping force and may damage the fastener. Use the correct tightening sequence and specifications when installing fasteners in order to avoid damage to parts and systems.

    Important: If the steering column support assembly and the pivot pins have been staked 3 times, replace the pins.

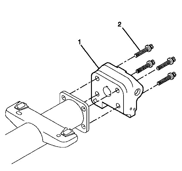
  1. Install the 4 TORX® head screws (2) onto the steering column support assembly (1).
  2. Tighten
    Tighten the screws to 17 N·m (13 lb ft).


    Object Number: 299888  Size: SH
  3. Apply lithium grease to the race and upper shaft assembly and then install the lower shaft assembly using the alignment marks from the disassemble procedure.

  4. Object Number: 306316  Size: SH
  5. Install the steering shaft assembly (2) into the steering column tilt head assembly (1).

  6. Object Number: 306309  Size: SH
  7. Install the tilt head assembly (1) and the steering shaft assembly (3) into the steering column jacket assembly (2).

  8. Object Number: 560759  Size: SH

    Important: If the steering column support assembly and the pivot pins have been staked 3 times they must be replaced.

  9. Lubricate the pivot pins (1) with lithium grease.
  10. Firmly seat each pivot pin (1) into the steering column tilt head assembly.
  11. Stake the pivot pins (1).

  12. Object Number: 360606  Size: SH
  13. Install the adapter and bearing assembly (2) onto the steering column jacket assembly (1).
  14. Install the steering column seal (3) onto the adapter and bearing assembly (2).

  15. Object Number: 662202  Size: SH
  16. If you need to assemble the linear shift assembly first, refer to Linear Shift Assembly - Assemble - Off Vehicle .
  17. Install the linear shift assembly onto the steering column support assembly.

    Notice: Use the correct fastener in the correct location. Replacement fasteners must be the correct part number for that application. Fasteners requiring replacement or fasteners requiring the use of thread locking compound or sealant are identified in the service procedure. Do not use paints, lubricants, or corrosion inhibitors on fasteners or fastener joint surfaces unless specified. These coatings affect fastener torque and joint clamping force and may damage the fastener. Use the correct tightening sequence and specifications when installing fasteners in order to avoid damage to parts and systems.

  18. Secure the linear shift assembly to the steering column assembly with the 3 flat head tapping screws.
  19. Move the linear shift assembly out of the PARK position to install the lower socket tapping screw.

    Tighten
    Tighten the screws to 10 N·m (89 lb in).


    Object Number: 324919  Size: SH

    Caution: Improper routing of the wire harness assembly may damage the inflatable restraint steering wheel module coil. This may result in a malfunction of the coil, which may cause personal injury.

  20. Install the automatic transmission shift lock control.
  21. Install the turn signal and multifunction switch assembly only. Refer to Turn Signal and Multifunction Switch Assembly - Assemble - Off Vehicle .
  22. Install the shift lever assembly only. Refer to Shift Lever - Assemble - Off Vehicle .
  23. Put the shift lever in the NEUTRAL position.

  24. Install the tilt spring assembly only. Refer to Tilt Spring - Assemble - Off Vehicle .
  25. Install the electronic lock module assembly. Refer to Electronic Column Lock Module - Assemble - Off Vehicle .
  26. Enable the inflatable restraint steering wheel module. Refer to Enabling the SIR System in SIR.