GM Service Manual Online
For 1990-2009 cars only
Figure 1:

Forward Lamps Harness, Left Side


Object Number: 552588  Size: LF
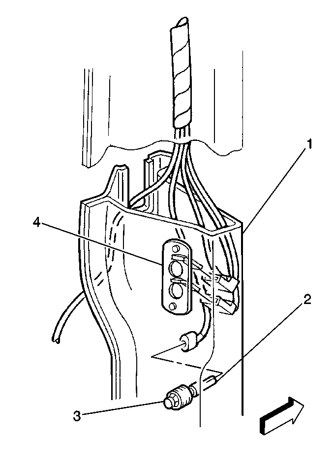
(1)Headlamp LH HI/LO Beam (Sealed)
(2)C100
(3)P100
(4)C104
(5)C109
(6)C102
(7)S103
(8)S132
(9)S131
(10)S103
(11)S102
(12)S105
(13)S104
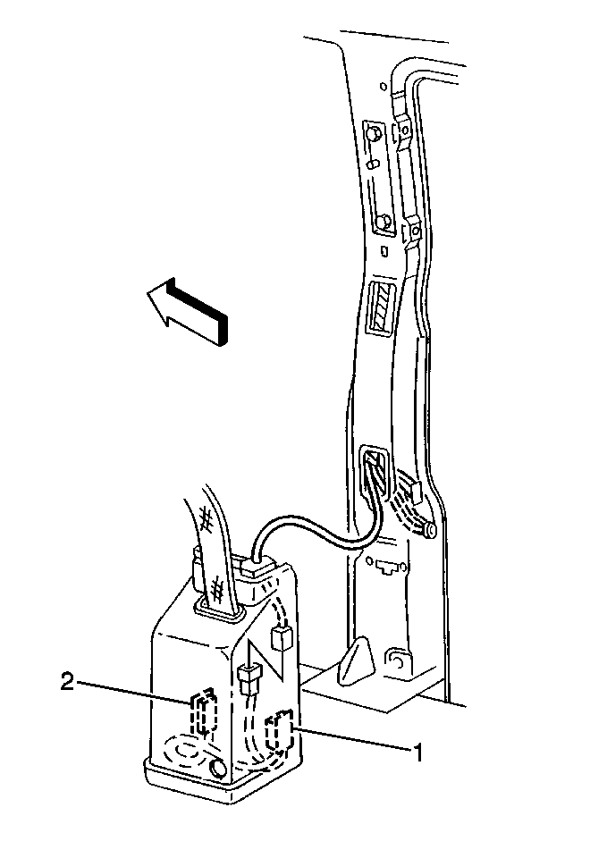
(14)Marker Lamp - LF Connector
(15)Marker Lamp - LF
(16)Park/Turn Signal Lamp - LF
(17)Park/Turn Signal Lamp - LF Connector
(18)Inflatable Restraint Front End Discriminating Sensor Connector
(19)Inflatable Restraint Front End Discriminating Sensor
Figure 2:

Forward Lamp Harness, RH Side


Object Number: 582030  Size: LF
(1)Rear Window Washer Fluid Pump
(2)S101
(3)Park/Turn Signal Lamp - RF
(4)Park/Turn Signal Lamp - RF Connector
(5)Marker Lamp - RF Connector
(6)Marker Lamp - RF
(7)S106
(8)S100
(9)Hi/Lo Headlamp (Sealed Beam) RH
(10)G100
(11)Blower Motor
(12)Windshield Washer Fluid Pump
(13)Blower Motor Resistor Assembly
Figure 3:

Headlamp Assembly (Left Side)


Object Number: 297866  Size: MF
(1)High Beam Headlamp (Composite)
(2)Low Beam Headlamp (Composite)
Figure 4:

Brake Pedal Position (BPP) Switch


Object Number: 297850  Size: MF
(1)Brake Pedal Position (BPP) Switch Connector
(2)Brake Pedal Position (BPP) Switch
Figure 5:

I/P Fuse Block/Convenience Center Wiring


Object Number: 597158  Size: MF
(1)Convenience Center
(2)Turn Signal/Hazard Flasher Module
(3)Horn Relay
(4)I/P Fuse Block
(5)C213
(6)C212
Figure 6:

Instrument Panel Cluster Wiring


Object Number: 582011  Size: LF
(1)Body Control Module (BCM)
(1)Body Control Module (BCM)
(2)HVAC Control Assembly
(3)S219
(4)S217
(5)S211
(6)S257
(7)S213
(8)Headlamp and Panel Dimmer Switch
(9)S256
(10) Headlamp and Panel Dimmer Switch Connector
(11)Remote Control Door Lock Receiver (RCDLR)
(12)S210
(13)S254
(14)S209
(15)S255
(16)S212
(17)S218
(18)S221
(19)Instrument Panel Cluster Connector
(20)S258
(21)S222
(22)S225
(23)Radio Connectors
(24)Body Control Module (BCM) Connectors
Figure 7:

Dome Lamp Defeat Switch


Object Number: 281314  Size: SF
(1)Dome Lamp Defeat Switch
(2)Dome Lamp Switch (Part of the Headlamp Switch)
Figure 8:

Ambient Light Sensor


Object Number: 558990  Size: SH
(1)Ambient Light Sensor
(2)Ambient Light Sensor Connector
Figure 9:

Vanity Mirror Wiring


Object Number: 582022  Size: LF
(1)S237
(2)Inside Rearview Mirror Connector
(3)Vanity Lamp Connector
(4)Vanity Lamp
(5)S236
(6)C209
Figure 10:

Kick Panel - Driver, Wiring


Object Number: 582018  Size: LF
(1)G300
(2)C301
(3)C303
(4)Door Jamb Switch - Driver
Figure 11:

Courtesy Lamp - Left Wiring


Object Number: 581991  Size: LF
(1)Daytime Running Lamps (DRL) Diode
(2)S328
(3)Courtesy Lamp - Left
Figure 12:

Door Contact Plate Wiring


Object Number: 297705  Size: MH
(1)Right B-Pillar
(2)Door Jamb Switch Connectors
(3)Door Jamb Switch
(4)Door Contact Plate
Figure 13:

Right B Pillar Wiring (Passenger Van)


Object Number: 297822  Size: MH
(1)Stepwell Lamp
(2)Courtesy Lamp - Right
Figure 14:

Right B Pillar Wiring (Cargo Van)


Object Number: 297830  Size: MH
(1)Stepwell Lamp
(2)Courtesy Lamp - Right
Figure 15:

Dome/Reading Lamp Wiring


Object Number: 297818  Size: MF
(1)Dome Lamp (Front Shown, Center and Rear Similar)
(2)Courtesy/Reading Lamps (Front Shown, Center and Rear Similar)
(1)Dome Lamp (Front Shown, Center and Rear Similar)
(3)Reading Lamps (Front Shown, Center and Rear Similar)
Figure 16:

Center High Mounted Stoplamp (CHMSL)


Object Number: 297812  Size: MF
(1)Center High Mounted Stop Lamp Connector
(2)Center High Mounted Stop Lamp (CHMSL)
Figure 17:

License Plate Wiring


Object Number: 297808  Size: MF
(1)License Lamp Connector
(2)License Lamp
Figure 18:

Rear Lamps Wiring (Left Shown, Right Similiar) - Except Export


Object Number: 297806  Size: MF
(1)Tail/Stop and Turn Signal Lamp - Left
(2) Marker Lamp - LR
(3)Backup Lamp - Left