GM Service Manual Online
For 1990-2009 cars only

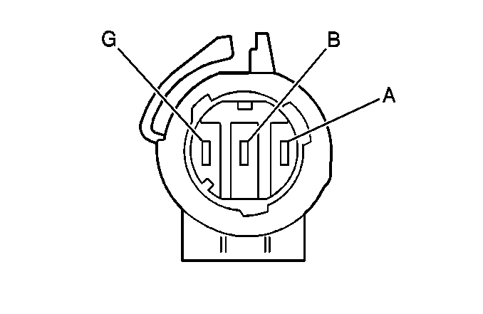
Ambient Light Sensor


Object Number: 82383  Size: CH

Connector Part Information

    • 12047662
    • 2-Way F Metri-Pack 150 Series (BLK)

Pin

Wire Color

Circuit No.

Function

A

605

GRY

5 Volt Reference

B

278

WHT

Ambient Light Sensor Signal

Backup Lamp - Left


Object Number: 306266  Size: CH

Connector Part Information

    • 12089347
    • Lamp Socket Type B1 Right Angle

Pin

Wire Color

Circuit No.

Function

A

LT GRN

24

Backup Lamp Supply Voltage

G

BLK

1350

Ground

Backup Lamp - Left (VE1)


Object Number: 306266  Size: CH

Connector Part Information

    • 12089347
    • Lamp Socket Type B1 Right Angle

Pin

Wire Color

Circuit No.

Function

A

LT BLU

14

Left Turn Signal Lamps Supply Voltage

G

BLK

1350

Ground

Backup Lamp - Right


Object Number: 306266  Size: CH

Connector Part Information

    • 12089347
    • Lamp Socket Type B1 Right Angle

Pin

Wire Color

Circuit No.

Function

A

LT GRN

24

Backup Lamp Supply Voltage

G

BLK

1450

Ground

Backup Lamp - Right (VE1)


Object Number: 306266  Size: CH

Connector Part Information

    • 12089347
    • Lamp Socket Type B1 Right Angle

Pin

Wire Color

Circuit No.

Function

A

DK BLU

15

Right Turn Signal Lamps Supply Voltage

G

BLK

1450

Ground

Center High Mounted Stoplamp (CHMSL)


Object Number: 35441  Size: CH

Connector Part Information

    • 12047663
    • 2-Way M Metri-Pack 150 Series (BLK)

Pin

Wire Color

Circuit No.

Function

A

WHT

17

Stop Lamp Switch Signal

B

BLK

1350

Ground

Stop Lamp Switch Connector


Object Number: 62424  Size: CH

Connector Part Information

    • 12040551
    • 6-Way F Metri-pack 480 Series (BLK)

Pin

Wire Color

Circuit No.

Function

A

WHT

17

Stop Lamp Switch Signal

B

ORN

140

Battery Positive Voltage

C

PPL (2 Wires)

420

TCC Brake Switch/Cruise Control Release Signal

D

BRN (2 Wires)

441

Ignition 3 Voltage

E

DK GRN/WHT

1135

A/T Shift Lock Control Solenoid Supply Voltage

F

LT GRN

275

Park Neutral Position Switch Park Signal

Courtesy Lamp - Left Connector


Object Number: 82383  Size: CH

Connector Part Information

    • 12047662
    • 2-Way Male M/P 150 Series

Pin

Wire Color

Circuit No.

Function

A

ORN

1732

Courtesy Lamps Supply Voltage

B

BLK

156

Courtesy Lamp Low Control

Courtesy Lamp - Right Connector


Object Number: 82383  Size: CH

Connector Part Information

    • 12047663
    • 2-Way Male 150 Series

Pin

Wire Color

Circuit No.

Function

A

ORN

1732

Courtesy Lamps Supply Voltage

B

WHT

156

Courtesy Lamp Low Control

Courtesy/Reading Lamp - Center


Object Number: 333035  Size: CH

Connector Part Information

    • 12047781
    • 3-Way F Metri-Pack 150 Series (BLK)

Pin

Wire Color

Circuit No.

Function

A

ORN

1732

Courtesy Lamps Supply Voltage

B

WHT

156

Courtesy Lamp Switch Signal

C

BLK

1350

Ground

Courtesy/Reading Lamp - Front


Object Number: 38600  Size: CH

Connector Part Information

    • 12047781
    • 3-Way Metri Pack Series 150

Pin

Wire Color

Circuit No.

Function

A

ORN

1732

Courtesy Lamps Supply Voltage

B

WHT

156

Courtesy Lamp Low Control

C

BLK

1350

Ground

Daytime Running Lamps (DRL) Diode


Object Number: 35456  Size: CH

Connector Part Information

    • 12064749
    • 2-Way F Metri Pack 480 Series (BLK)

Pin

Wire Color

Circuit No.

Function

A

YEL

634

DRL Diode Supply Voltage

B

WHT

815

DRL Diode Signal

Dome Lamp - Rear


Object Number: 68722  Size: CH

Connector Part Information

    • 15528758
    • 2-Way Dome Lamp Base

Pin

Wire Color

Circuit No.

Function

A

ORN

1732

Courtesy Lamps Supply Voltage

B

WHT

156

Courtesy Lamp Switch Signal

Headlamp - High Beam - Right


Object Number: 35447  Size: CH

Connector Part Information

    • 12059183
    • 2-Way F Metri- Pack 280 Series, Sealed (BLK)

Pin

Wire Color

Circuit No.

Function

A

PNK

1200

Headlamp High Beam Signal

B

TAN/WHT

312

Right Headlamp Supply Voltage

Headlamp and Panel Dimmer Switch Connector


Object Number: 362755  Size: CH

Connector Part Information

    • 15304617
    • 10-Way F Metri- Pack Junction Systems (BLK)

Pin

Wire Color

Circuit No.

Function

A

BRN

9

Park Lamp Supply Voltage

B

ORN

240

Battery Positive Voltage

C

WHT

352

Headlamp Relay Coil Supply Voltage

D

ORN

1840

Battery Positive Voltage

E

BLK

750

Ground

G

DK BLU/WHT

1495

Courtesy Lamps On Signal

H

PPL/WHT

549

Headlamp Switch Headlamps Off Signal

J

PPL

328

Interior Lamp Defeat Switch Signal

K

DK GRN

44

Instrument Panel Lamps Dimmer Switch Signal

Headlamp - Low Beam - Left


Object Number: 35444  Size: CH

Connector Part Information

    • 12059181
    • 2-Way F Metri- Pack Series 280 Sealed

Pin

Wire Color

Circuit No.

Function

A

DK BLU

1201

Headlamp Low Beam Signal

B

YEL

712

Left Headlamp Supply Voltage

Headlamp - High Beam - Left


Object Number: 35447  Size: CH

Connector Part Information

    • 12059183
    • 2-Way F Metri- Pack Series 280 Sealed (BLK)

Pin

Wire Color

Circuit No.

Function

A

PNK

1200

Headlamp High Beam Signal

B

YEL

712

Left Headlamp Supply Voltage

Headlamp - Low Beam - Right


Object Number: 35444  Size: CH

Connector Part Information

    • 12059181
    • 2-Way F Metri Pack Series 280 Sealed

Pin

Wire Color

Circuit No.

Function

A

DK BLU

1201

Headlamp Low Beam Signal

B

TAN/WHT

312

Right Headlamp Supply Voltage

Headlamp - LH


Object Number: 306269  Size: CH

Connector Part Information

    • 12034372
    • 3-Way F Metri-Pack Series 800 (BLK)

Pin

Wire Color

Circuit No.

Function

A

YEL

712

Left Headlamp Supply Voltage

B

PNK

1200

Headlamp High Beam Signal

C

DK BLU

1201

Headlamp Low Beam Signal

Headlamp - RH


Object Number: 306269  Size: CH

Connector Part Information

    • 12034372
    • 3-Way F Metri Pack Series 800 (BLK)

Pin

Wire Color

Circuit No.

Function

A

TAN/WHT

312

Right Headlamp Supply Voltage

B

PNK

1200

Headlamp High Beam Signal

C

DK BLU

1201

Headlamp Low Beam Signal

I/P Compartment Lamp


Object Number: 82383  Size: CH

Connector Part Information

    • 12047662
    • 2-Way F Metri- Pack 150 Series (BLK)

Pin

Wire Color

Circuit No.

Function

A

ORN

1732

Courtesy Lamps Supply Voltage

B

BLK

1050

Ground

License Lamp


Object Number: 744036  Size: CH

Connector Part Information

    • 12110053
    • W-2 Lamp Socket Wedge Base (GRY)

Pin

Wire Color

Circuit No.

Function

A

BRN

9

Park Lamp Supply Voltage

B

BLK

1450

Ground

Marker Lamp - Front Left


Object Number: 744036  Size: CH

Connector Part Information

    • 12110053
    • W-2 Lamp Socket Wedge Base (GRY)

Pin

Wire Color

Circuit No.

Function

A

LT BLU

14

Left Turn Signal Lamps Supply Voltage

B

BRN

9

Park Lamp Supply Voltage

Marker Lamp - LR


Object Number: 744036  Size: CH

Connector Part Information

    • 12110053
    • W-2 F Lamp Socket Wedge Base (GRY)

Pin

Wire Color

Circuit No.

Function

A

BRN

9

Park Lamp Supply Voltage

B

BLK

1350

Ground

Marker Lamp - RR


Object Number: 744036  Size: CH

Connector Part Information

    • 12110053
    • W-2 F Lamp Socket Wedge Base (GRY)

Pin

Wire Color

Circuit No.

Function

A

BRN

9

Park Lamp Supply Voltage

B

BLK

1450

Ground

Park/Turn Signal Lamp - LF


Object Number: 95769  Size: CH

Connector Part Information

    • 12160395
    • Lamp Socket Wedge Base W3 Right Angle (GRY)

Pin

Wire Color

Circuit No.

Function

A

LT BLU

14

Left Turn Signal Lamps Supply Voltage

B

BRN

9

Park Lamp Supply Voltage

G

BLK

250

Ground

Park/Turn Signal Lamp - LF (VE1)


Object Number: 95769  Size: CH

Connector Part Information

    • 12160395
    • Lamp Socket Wedge Base W3 Right Angle (GRY)

Pin

Wire Color

Circuit No.

Function

A

LT BLU

14

Left Turn Signal Lamps Supply Voltage

B

DK BLU

914

Left Front Turn Signal Lamp Supply Voltage

G

BLK

250

Ground

Park/Turn Signal Lamp - RF


Object Number: 95769  Size: CH

Connector Part Information

    • 12160395
    • Lamp Socket Wedge Base W3 Right Angle (GRY)

Pin

Wire Color

Circuit No.

Function

A

DK BLU

15

Right Turn Signal Lamps Supply Voltage

B

BRN

9

Park Lamp Supply Voltage

G

BLK

350

Ground

Park/Turn Signal Lamp - RF (VE1)


Object Number: 95769  Size: CH

Connector Part Information

    • 12160395
    • Lamp Socket Wedge Base W3 Right Angle (GRY)

Pin

Wire Color

Circuit No.

Function

A

DK BLU

15

Right Turn Signal Lamps Supply Voltage

B

LT BLU

915

Right Front Turn Signal Lamp Supply Voltage

G

BLK

350

Ground

Repeater Lamp - Left Connector (Japan Only)


Object Number: 258174  Size: CH

Connector Part Information

    • 12010973
    • 2-Way M Weather Pack (BLK)

Pin

Wire Color

Circuit No.

Function

A

BLK

250

Ground

B

LT BLU

14

Left Turn Signal Lamps Supply Voltage

Repeater Lamp - Right Connector (Japan Only)


Object Number: 258174  Size: CH

Connector Part Information

    • 12010973
    • 2-Way M Weather Pack (BLK)

Pin

Wire Color

Circuit No.

Function

A

BLK

350

Ground

B

DK BLU

15

Right Turn Signal Lamps Supply Voltage

Stepwell Lamp Right Connector


Object Number: 82383  Size: CH

Connector Part Information

    • 12047662
    • 2-Way FMetri-Pack 150 Series (BLK)

Pin

Wire Color

Circuit No.

Function

A

ORN

1732

Courtesy Lamps Supply Voltage

B

WHT

156

Courtesy Lamp Switch Signal

Tail/Stop And Turn Signal Lamp - Left (VE1)


Object Number: 306271  Size: CH

Connector Part Information

    • 12089345
    • Lamp Socket C2 Base (GRY)

Pin

Wire Color

Circuit No.

Function

A

WHT

17

Stop Lamp Switch Signal

B

BRN

9

Park Lamp Supply Voltage

G

BLK

1350

Ground

Tail/Stop and Turn Signal Lamp - Left


Object Number: 306271  Size: CH

Connector Part Information

    • 12089345
    • Lamp Socket C2 Base (GRY)

Pin

Wire Color

Circuit No.

Function

A

YEL

18

Left Rear Stop/Turn Lamp Supply Voltage

B

BRN

9

Park Lamp Supply Voltage

G

BLK

1350

Ground

Tail/Stop and Turn Signal Lamp - Right


Object Number: 306271  Size: CH

Connector Part Information

    • 12089345
    • Lamp Socket C2 Base (GRY)

Pin

Wire Color

Circuit No.

Function

A

DK GRN

19

Right Rear Stop/Turn Lamp Supply Voltage

B

BRN

9

Park Lamp Supply Voltage

G

BLK

1450

Ground

Tail/Stop And Turn Signal Lamp - Right (VE1)


Object Number: 306271  Size: CH

Connector Part Information

    • 12089345
    • Lamp Socket C2 Base (GRY)

Pin

Wire Color

Circuit No.

Function

A

WHT

17

Stop Lamp Switch Signal

B

BRN

9

Park Lamp Supply Voltage

G

BLK

1450

Ground

Vanity Mirror Lamp - Left


Object Number: 35441  Size: CH

Connector Part Information

    • 12047663
    • 2-Way M Metri-Pack 150 Series (BLK)

Pin

Wire Color

Circuit No.

Function

A

ORN

1732

Courtesy Lamps Supply Voltage

B

BLK

750

Ground

Vanity Mirror Lamp - Right


Object Number: 35441  Size: CH

Connector Part Information

    • 12047663
    • 2-Way M Metri-Pack 150 Series (BLK)

Pin

Wire Color

Circuit No.

Function

A

ORN

1732

Courtesy Lamps Supply Voltage

B

BLK

750

Ground