GM Service Manual Online
For 1990-2009 cars only

Removal Procedure

  1. Remove the front door window belt filler.
  2. Remove the sound insulator patch.
  3. Disconnect the electrical connector, if equipped.

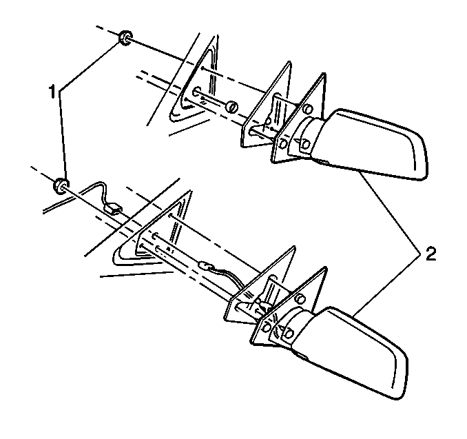
  4. Object Number: 324142  Size: SH
  5. Remove the nuts (1) from the mirror.
  6. Remove the mirror (2) from the door.

Installation Procedure


    Object Number: 324142  Size: SH
  1. Install the mirror (2) to the door.
  2. Notice: Refer to Fastener Notice in the Preface section.

  3. Install the nuts (1) to the mirror.
  4. Tighten
    Tighten the nuts (1) to the mirror to 10 N·m (88 lb in).

  5. Connect the electrical connector, if equipped.
  6. Install the sound insulator patch.
  7. Install the front door window belt filler.