GM Service Manual Online
For 1990-2009 cars only
Makes
🢒
Chevrolet
🢒
2001
🢒
Astro - 2WD
🢒
Body and Accessories
🢒
Seats
🢒 Power Seats Schematics
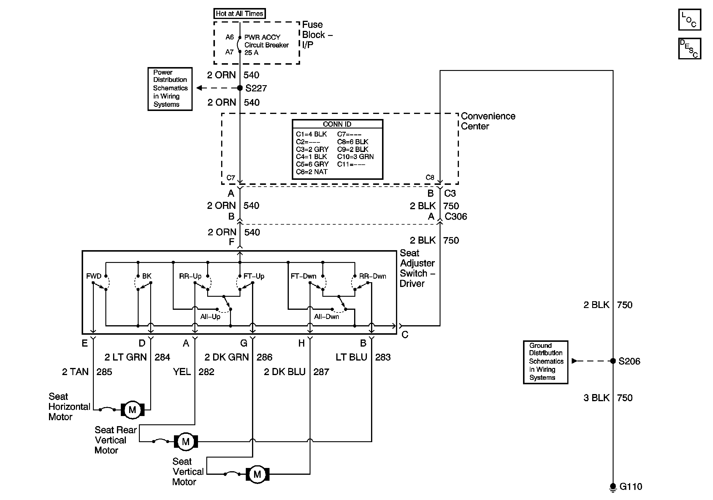
Driver Seat Adjuster Switch, Driver Seat Motors
Master Electrical Component List
Power Seats System Description and Operation
PWR ACCY Circuit Breaker
G110 (1 of 2)