GM Service Manual Online
For 1990-2009 cars only

Removal Procedure

  1. Remove the trim panel. Refer to Rear Door Trim Panel Replacement .
  2. Use a soft-faced scraper, if needed, in order to peel the water deflector away from the door. Refer to Water Deflector Replacement .

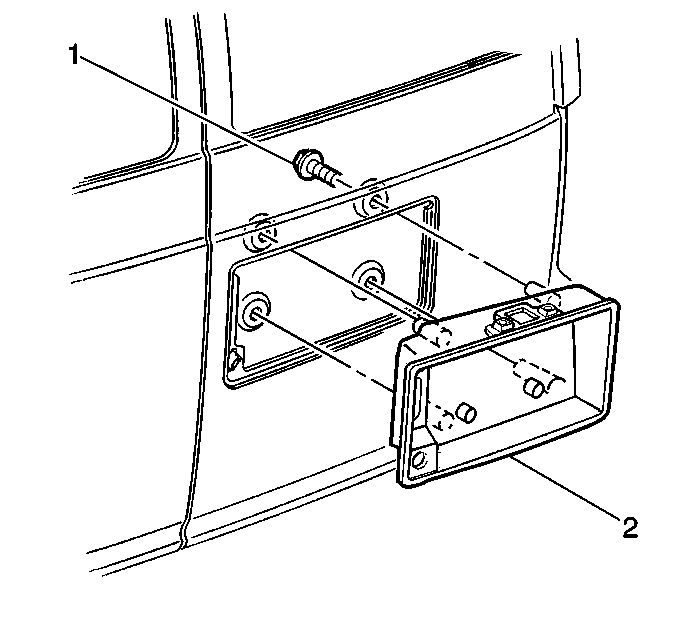
  3. Object Number: 324245  Size: SH
  4. Remove the lamp harness from the license plate housing (2).
  5. Remove the bolts (1) from the housing.
  6. Remove the housing from the door (2).

Installation Procedure


    Object Number: 324245  Size: SH
  1. Install the housing (2) to the door.
  2. Notice: Refer to Fastener Notice in the Preface section.

  3. Install the housing to door bolts (1).
  4. Tighten
    Tighten the door bolts to 4 N·m (35 lb in).

  5. Install the lamp harness to the housing.
  6. Install the water deflector. Refer to Water Deflector Replacement .
  7. Install the trim panel. Refer to Rear Door Trim Panel Replacement .