GM Service Manual Online
For 1990-2009 cars only

Rear Door Hinge Replacement Cargo Doors

Removal Procedure

  1. Remove the door from the vehicle. Refer to Rear Door Replacement .
  2. Remove the taillamp. Refer to Tail Lamp Replacement .
  3. Remove the taillamp filler panel.

  4. Object Number: 324185  Size: MH
  5. Remove the trim panel: Refer to Door Trim Panel Replacement .
  6. 4.1. Scribe an outline of the hinge halves on the door (2) and the body (1).
    4.2. Use the template provided with the service hinge in order to center punch the existing welds.
    4.3. Drill a 3.0 mm (1/8 in) pilot hole completely through the following components at the punch marks:
       • Hinge
       • Frame
       • Reinforcement
       • Gusset
    4.4. Use the pilot holes as guides in order to drill a 13.0 mm (1/2 in) hole through the following components at the punch marks:
       • Hinge
       • Frame
       • Reinforcement
       • Gusset
  7. Drive a chisel between the hinge and the door frame if any additional weld holds the hinge to the frame in order to remove the hinge halves.
  8. Remove any additional weld on the door or the body side frame. This step may include using a grinder in order to remove any remaining weld.

Installation Procedure


    Object Number: 324185  Size: MH
  1. Install the hinge pin bushings.
  2. Apply a medium-bodied sealer to the mating surface of the hinge halves.
  3. Notice: Use the correct fastener in the correct location. Replacement fasteners must be the correct part number for that application. Fasteners requiring replacement or fasteners requiring the use of thread locking compound or sealant are identified in the service procedure. Do not use paints, lubricants, or corrosion inhibitors on fasteners or fastener joint surfaces unless specified. These coatings affect fastener torque and joint clamping force and may damage the fastener. Use the correct tightening sequence and specifications when installing fasteners in order to avoid damage to parts and systems.

  4. Install the following components to the door and the body frame:
  5. • Anchor plates
    • Bolts (3)

    Tighten
    Tighten the bolts to the door and the body frame to 27 N·m (20 lb ft).

    • Hinge halves
    • Align the hinge with the previously made mark.
  6. Paint the hinge and the surrounding area.
  7. Install the trim panel. Refer to Door Trim Panel Replacement .
  8. Install the taillamp filler panel.
  9. Install the taillamp. Refer to Tail Lamp Replacement .
  10. Install the door to the vehicle. Refer to Rear Door Replacement .
  11. Adjust the door to fit properly in the door opening frame:
  12. 9.1. Ensure that the left door is closed when adjusting the right door.
    9.2. Do not close the right door completely until a visual check is made in order to determine that the lock assembly is properly engaged to the striker.

Rear Door Hinge Replacement E54

Removal Procedure

  1. Remove the door from the vehicle. Refer to Rear Door Replacement .
  2. Remove the taillamp. Refer to Tail Lamp Replacement .
  3. Remove the taillamp filler panel.
  4. Important: When replacing the rear door hinge refer to the install procedure.


    Object Number: 324185  Size: MH
  5. Remove the trim panel: Refer to Door Trim Panel Replacement .
  6. 4.1. Scribe an outline of the hinge halves on the door (2) and the body (1).
    4.2. Use the template provided with the service hinge in order to center punch the existing welds.
    4.3. Drill a 3.0 mm (1/8 in) pilot hole completely through the following components at the punch marks:
       • Hinge
       • Frame
       • Reinforcement
       • Gusset
    4.4. Use the pilot holes as guides in order to drill a 13.0 mm (1/2 in) hole through the following components at the punch marks:
       • Hinge
       • Frame
       • Reinforcement
       • Gusset
  7. Drive a chisel between the hinge and the door frame if any additional weld holds the hinge to the frame in order to remove the hinge halves.
  8. Remove any additional weld on the door or the body side frame. This step may include using a grinder in order to remove any remaining weld.

Installation Procedure

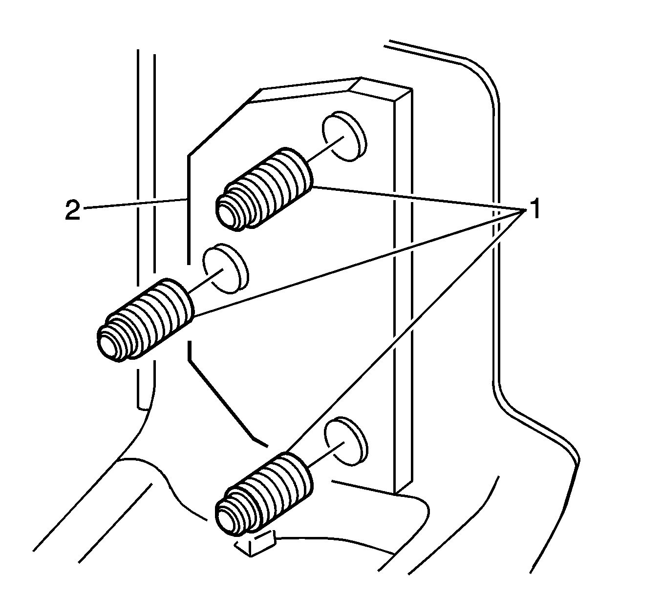
    Important: When replacing a rear door hinge remove the ends of the bolts  (1). This will allow the door to close fully.


    Object Number: 1673078  Size: SH
  1. Remove the excess ends of the bolt (1) to be even with the door plate (2).

  2. Object Number: 324185  Size: MH
  3. Install the hinge pin bushings.
  4. Apply a medium-bodied sealer to the mating surface of the hinge halves.
  5. Notice: Refer to Fastener Notice in the Preface section.

  6. Install the following components to the door and the body frame:
  7. • Anchor plates
    • Bolts (3)

    Tighten
    Tighten the bolts to the door and the body frame to 27 N·m (20 lb ft).

    • Hinge halves
    • Align the hinge with the previously made mark.
  8. Paint the hinge and the surrounding area.
  9. Install the trim panel. Refer to Door Trim Panel Replacement .
  10. Install the taillamp filler panel.
  11. Install the taillamp. Refer to Tail Lamp Replacement .
  12. Install the door to the vehicle. Refer to Rear Door Replacement .
  13. Adjust the door to fit properly in the door opening frame:
  14. 10.1. Ensure that the left door is closed when adjusting the right door.
    10.2. Do not close the right door completely until a visual check is made in order to determine that the lock assembly is properly engaged to the striker.