Pin | Wire Color | Circuit No. | Function |
|---|---|---|---|
A2 | DK BLU | 75 | RAP Relay Switch Supply Voltage |
A3 | YEL | 343 | Accessory Voltage |
A6 | RED | 142 | Battery Positive Voltage |
A7 | ORN | 540 | Battery Positive Voltage |
B2-B4 | -- | -- | Not Used |
B6 | RED | 142 | Battery Positive Voltage |
B8 | -- | -- | Not Used |
C1 | ORN | 1140 | Battery Positive Voltage |
C3 | ORN | 640 | Battery Positive Voltage |
C5 | ORN | 840 | Battery Positive Voltage |
C7 | ORN | 140 | Battery Positive Voltage |
D2 | WHT | 1390 | Off, Run, Crank Voltage |
D4 | DK GRN | 44 | Instrument Panel Lamps Dimmer Switch Signal |
D6 | YEL | 5 | Crank Voltage |
D8 | DK BLU | 75 | RAP Relay Switch Supply Voltage |
E1 | PNK | 1020 | Off, Run, Crank Voltage |
E1 | PNK | 1020 | Off, Run, Crank Voltage |
E3 | GRY | 8 | Instrument Panel Lamp Supply Voltage - 1 |
E5 | PPL | 806 | Crank Voltage |
E7 | YEL | 43 | Accessory Voltage |
F2-F4 | -- | -- | Not Used |
F6 | RED | 42 | Battery Positive Voltage |
F8 | -- | -- | Not Used |
G1 | ORN | 1740 | Battery Positive Voltage |
G3 | ORN | 1840 | Battery Positive Voltage |
G5 | ORN | 240 | Battery Positive Voltage |
G7 | ORN | 40 | Battery Positive Voltage |
H2-H4 | -- | -- | Not Used |
H6 | PNK | 3 | Ignition Switch Output Ignition 1 |
H8-J1 | -- | -- | Not Used |
J3 | PNK | 139 | Ignition 1 Voltage |
J3 | PNK | 139 | Ignition 1 Voltage |
J5 | YEL | 1139 | Ignition 1 Voltage |
J7 | PNK | 39 | Ignition 1 Voltage |
K2 | -- | -- | Not Used |
K4 | BRN | 4 | Accessory Voltage |
K6 | -- | -- | Not Used |
K8 | PPL | 293 | Rear Defogger Element Supply Voltage |
L1 | WHT | 393 | Rear Window Wiper Motor Control |
L3 | YEL | 143 | Accessory Voltage |
L5 | -- | -- | Not Used |
L7 | PPL | 1093 | Rear Defog Element Supply Voltage |
M2-M4 | -- | -- | Not Used |
M6 | ORN | 300 | Ignition 3 Voltage |
M8-N1 | -- | -- | Not Used |
N3 | BRN | 441 | Ignition 3 Voltage |
N3 | BRN | 441 | Ignition 3 Voltage |
N5 | BRN | 141 | Ignition 3 Voltage |
N7 | BRN | 41 | Ignition 3 Voltage |
Name | Fuse Number | Size | Circuit | Loads |
|---|---|---|---|---|
STOP/HAZ | 1 | 20A Fuse | 140 | Stop Lamp Switch, Turn Signal/Multifunction Switch |
RADIO ACCY | 2 | 10A Fuse | 43 | Radio, Driver Information Center (DIC), Rear Seat Audio (RSA) Controller |
CTSY | 3 | 20A Fuse | 40 | Courtesy Lamps, Dome/Reading Lamps, IP Compartment Lamp, Vanity Mirrors, Power Mirrors |
GAUGES | 4 | 10A Fuse | 39 | Driver Information Center, Multifunction Alarm Module, IP Cluster, H/L Switch |
RR DEFOG | 5 | 30A Fuse | 1093 | Not Used |
CRUISE | 6 | 10A Fuse | 4 | Cruise Control Module and Switch |
AUX PWR | 7 | 25A Fuse | 840 | Auxiliary Power Outlets, Sub-Woofer Amplifier, DLC |
CRANK | 8 | 10A Fuse | 5 | Ignition Switch Output Crank |
PK LPS | 9 | 20A Fuse | 240 | Headlamp and Panel Dimmer Switch |
AIR BAG | 10 | 10A Fuse | 1139 | SDM |
11 | Not Used | |||
HTR-A/C | 12 | 20A Fuse | 141 | Upfitter Accessory Relay, A/C Relay (Rear), Temperature Control Motor |
CIG LTR | 13 | 20A Fuse | 640 | LH and RH Lower Door Lock Switches, Cigar Lighter |
ILLUM | 14 | 10A Fuse | 8 | IP Cluster, HVAC Controls, RR HVAC Controls, IP Switches, Radio Illumination, Multifunction Alarm Module, Overhead Console |
BCM | 15 | 10A Fuse | 1840 | Body Control Module |
TURN-B/U | 16 | 20A Fuse | 139(2) | Turn Signal/Multifunction Switch, Park/Neutral Position Switch |
WIPER | 17 | 25A Fuse | 143 | Wipers |
BRAKE | 18 | 10A Fuse | 441(2) | Stop Lamp Switch, Brake Pressure Modulator Valve, PCM |
RADIO BATT | 19 | 10A Fuse | 1140 | Radio (Battery) |
TRANS | 20 | 10A Fuse | 1020(2) | IP Cluster, Transmission |
PWR ADJ MIR | 21 | 5A Fuse | 1740 | Power Mirrors |
22 | Not Used | |||
RR WIPER | 23 | 20A Fuse | 393 | Rear Window Wiper/Washer Switch |
-- | 24 | -- | -- | Not Used |
PWR ACCY | A | 30A C/B | 540 | Power Door Lock, 6-Way Power Steering, Keyless Entry Module, Liftgate Module |
WINDOWS | B | 30A C/B | 343 | Power Windows |
Connector Part Information |
| ||||||
|---|---|---|---|---|---|---|---|
Pin | Wire Color | Circuit No. | Function | ||||
1 | LT BLU | 1344 | Trunk Release Relay Control | ||||
2 | ORN | 540 | Battery Positive Voltage | ||||
3 | TAN | 294 | Door Lock Actuator Unlock Control | ||||
4 | TAN | 246 | Rear Door Lock Actuator Unlock Control | ||||
5 | ORN | 540 | Battery Positive Voltage | ||||
6 | LT GRN | 1391 | Left Front Door Lock Relay Control | ||||
7 | ORN | 540 | Battery Positive Voltage | ||||
8 | BLK | 1050 | Ground | ||||
9 | TAN | 694 | Driver Door Lock Actuator Unlock Control | ||||
10 | ORN | 540 | Battery Positive Voltage | ||||
11 | GRY/BLK | 690 | Courtesy Lamp Relay Control | ||||
12 | WHT | 156 | Courtesy Lamp Switch Signal | ||||
13 | -- | -- | Not Used | ||||
14 | BLK | 750 | Ground | ||||
15 | ORN | 1732 | Courtesy Lamp Supply Voltage | ||||
16 | DK BLU | 1393 | Courtesy Lamp Relay Control | ||||
17 | ORN | 40 | Battery Positive Voltage | ||||
18 | -- | -- | Not Used | ||||
19 | ORN | 1732 | Courtesy Lamp Supply Voltage | ||||
20 | ORN | 40 | Battery Positive Voltage | ||||
Connector Part Information |
| ||||||
|---|---|---|---|---|---|---|---|
Pin | Wire Color | Circuit No. | Function | ||||
1 | BLK | 755 | RAP Relay Coil Control | ||||
2 | RED | 742 | Battery Positive Voltage | ||||
3 | BRN | 4 | Accessory Voltage | ||||
4 | DK BLU | 75 | RAP Relay Switch Supply Voltage | ||||
5 | RED | 742 | Battery Positive Voltage | ||||
6 | PNK | 39 | Ignition 1 Voltage | ||||
7 | BLK | 750 | Ground | ||||
8 | PPL | 544 | Headlamp Low Beam Supply Voltage | ||||
9 | WHT | 815 | DRL Diode Signal | ||||
10 | LT GRN/BLK | 592 | DRL Relay Control | ||||
Name | Cavity Number | Size | Circuit | Loads |
|---|---|---|---|---|
DIODE - A/C COIL | K3-L4 | 1AMP - 400V Diode - 280 Series | 59 | A/C Clutch |
RH HEADLAMP | H5-J6 | 15A Fuse | 312 | RH Headlamp |
LH HEADLAMP | K5-L6 | 15A Fuse | 712 | LH Headlamp |
ENG-I | F7-G8 | 20A Fuse | 539 | All Oxygen Sensor, PCM, MAF Sensor, Camshaft Position Sensor, EGR Valve, Evaporative Emission (EVAP) Canister Purge Solenoid |
IGN-E | H7-J8 | 10A Fuse | 639 | A/C Enable Relay |
ECM-I | K7-L8 | 20A Fuse | 439 | Fuel Injectors, PCM, Crankshaft Position Sensor, Ignition Control Module |
RR HEAT-A/C | F9-G10 | 30A Fuse | 1040 | Rear Heat, Rear A/C |
ATC | H9-J10 | 20A Fuse | 1540 | Active Transfer Case |
FRT HVAC | K9-L10 | 30A Fuse | 340 | Front HVAC |
ECM-B | F11-G12 | 20A Fuse | 440 | Fuel Pump Relay, PCM, Engine Oil Pressure Switch and Sender |
HORN | H11-J12 | 20A Fuse | 740 | Horn Relay |
A/C COMP | K11-L12 | 10A Fuse | 1240 | A/C Enable Relay |
RR DEFOG | M1-N1 | 40A Fuse | 1440 | Heated Mirror, Rear Defogger |
RAP (Retained Accessory Power) | M2-N2 | 40A Fuse | 742 | Retained Accessory Power |
ABS | M4-N4 | 60A Fuse | 442 | Electronic Brake Control Module (EBCM) |
IGN-B | M5-N5 | 40A Fuse | 342 | IGN-B Switch to IP Fuse Block Bus Bars |
IGN-A | M6-N6 | 40A Fuse | 242 | IGN-A Switch to IP Fuse Block Bus Bar, Park/Neutral Position Switch, Underhood Fuse-Relay Center Bus Bar |
BATT | M7-N7 | 50A Fuse | 142 | IP Fuse Block Bus Bar, Lock/Seats Circuit Breaker |
LIGHTING | M8-N8 | 40A Fuse | 42 | Headlamp and Panel Dimmer Switch, IP Fuse Block Bus Bar |
A/C CLUTCH | L4-K3 | Diode-I | 850-59(2) | A/C Enable Relay, A/C Compressor Clutch |
UPFIT-ACCY | P7-R7 | 30A Fuse | -- | Portable/Installed By Upfitter |
UPFIT-BATT | P8-R8 | 30A Fuse | -- | Portable/Installed by Upfitter |
-- | Stud "A" | 30A Fuse | 1842 | Upfitter Ignition Power Stud |
-- | Stud "B" | 30A Fuse | 1742 | Upfitter Battery Power Stud |
Headlamps | A1-A3-B1-B2-B3 | Micro Relay | 1346 | Headlamp Supply Voltage |
Starter Enable Relay | A4-A6-B4-B5-B6 | Mini Relay | 6 | Starter Solenoid Crank Voltage |
A/C Relay (Rear) | A7-A9-B7-B8-B9 | Mini Relay | 1923 | Auxiliary HVAC Switch Supply Voltage |
Fuel Pump Relay | C1-C3-D1-D2-D3 | Micro Relay | 440 | Battery Positive Voltage |
A/C Enable Relay | C4-C6-D4-D5-D6 | Micro Relay | 59 | A/C Compressor Clutch Supply Voltage |
Upfitter/ Accessory | D7-D9-E7-E8-E9 | Mini Relay | 1839 | Ignition 1 Voltage |
Cavity | Gauge/Color | Circuit | Description |
|---|---|---|---|
A1 | 0.8 WHT | 352 | Headlamp Relay Coil Supply Voltage |
A3 | 3.0 RED | 42 | Battery Positive Voltage |
A4 | 0.5 BLK | 850 | Ground |
A6 | 3.0 RED | 242 | Battery Positive Voltage |
A7 | 0.8 BRN | 141 | Ignition 3 Voltage |
A9 | 3.0 ORN | 1040 | Battery Positive Voltage |
B1 | 3.0 LT BLU | 1346 | Headlamp Supply Voltage |
B2 | -- | -- | Not Used |
B3 | 0.8 BLK | 250 | Ground |
B4 | 3.0 PPL | 6 | Starter Solenoid Crank Voltage |
B5 | -- | -- | Not Used |
B6 | 0.5 YEL | 1737 | Neutral Safety Switch - Park/Neutral Signal |
B7 | 3.0 ORN | 1923 | Auxilary HVAC Switch Supply Voltage |
B8 | -- | -- | Not Used |
B9 | 0.8 BLK | 850 | Ground |
C1 | 0.5 DK GRN/WHT | 465 | Fuel Pump Relay Control |
C3 | 2.0 GRY | 120 | Fuel Pump Supply Voltage |
C4 | 0.5 DK GRN/WHT | 459 | A/C Compressor Clutch Relay Control |
C6 | 0.8 ORN | 1240 | Battery Positive Voltage |
D1 | 2.0 ORN | 440 | Battery Positive Voltage |
D2 | -- | -- | Not Used |
D3 | 0.5 BLK | 850 | Ground |
D4 | 0.8 DK GRN | 59 | A/C Compressor Clutch Supply Voltage |
D5 | -- | -- | Not Used |
D6 | 0.5 PNK | 639 | Ignition 1 Voltage |
D7 | 1.0 YEL | 143 | Accessory Voltage |
D9 | 3.0 RED | 1842 | Battery Positive Voltage |
E7 | 3.0 PNK | 1839 | Ignition 1 Voltage |
E8 | -- | -- | Not Used |
E9 | 0.8 BLK | 850 | Ground |
F1-G6 | -- | -- | Not Used |
G8 | 0.8 PNK | 539 | Ignition 1 Voltage |
G10 | 3.0 ORN | 1040 | Battery Positive Voltage |
G12 | 2.0 ORN | 440 | Battery Positive Voltage |
H1-H3 | -- | -- | Not Used |
H5 | 3.0 LT BLU | 1346 | Headlamp Supply Voltage |
H7 | 3.0 PNK | 3 | Ignition 1 Voltage |
H9 | 3.0 RED | 1 | Battery Positive Voltage |
H11 | 3.0 RED | 1 | Battery Positive Voltage |
J2-J4 | -- | -- | Not Used |
J6 | 0.8 TAN/WHT | 312 | Right Headlamp Low Beam Supply Voltage |
J8 | 0.5 PNK | 639 | Ignition 1 Voltage |
J10 | 2.0 ORN | 1540 | Battery Positive Voltage |
J12 | 0.8 ORN | 740 | Battery Positive Voltage |
K1 | -- | -- | Not Used |
K3 | 0.8 DK GRN | 59 | A/C Compressor Clutch Solenoid Supply Voltage |
K5-L2 | -- | -- | Not Used |
L4 | 0.8 BLK | 850 | Ground |
L6 | 0.8 YEL | 712 | Left Headlamp Low Beam Supply Voltage |
L8 | 0.8 PNK | 439 | Ignition 1 Voltage |
L10 | 3.0 ORN | 340 | Battery Positive Voltage |
L12 | 0.8 ORN | 1240 | Battery Positive Voltage |
N1-N8 | Bus Bar Feed to Attached Fuses | -- | Not Used |
M1 | 3.0 RED | 1442 | Battery Positive Voltage |
M2 | 3.0 RED | 742 | Battery Positive Voltage |
M3 | -- | -- | Not Used |
M4 | 5.0 RED | 442 | Battery Positive Voltage |
M5 | 3.0 RED | 342 | Battery Positive Voltage |
M6 | 3.0 RED | 242 | Battery Positive Voltage |
M7 | 5.0 RED | 142 | Battery Positive Voltage |
M8 | 3.0 RED | 42 | Battery Positive Voltage |
P7-P8-R7-R8 | 30A Fused w/ Aftermarket Upfitter Provisions | -- | Not Used |
Connector Part Information |
| ||||||
|---|---|---|---|---|---|---|---|
Pin | Wire Color | Circuit No. | Function | ||||
A | RED | 1742 | Battery Positive Voltage | ||||
B | PNK | 1839 | Ignition 1 Voltage | ||||
C1 | GRY | 8 | Instrument Panel Lamp Supply Voltage - 1 | ||||
C2 | BLK | 750 | Ground | ||||
C3 | ORN | 1923 | Auxiliary HVAC Switch Supply Voltage | ||||
C4 | GRY/BLK | 1596 | Heater Water Control Solenoid Control | ||||
C6 | RED | 1742 | Battery Positive Voltage | ||||
C7 | ORN | 540 | Battery Positive Voltage | ||||
C8 | BLK | 750 | Ground | ||||
C9 | RED | 1742 | Battery Positive Voltage | ||||
D1 | GRY | 8 | Instrument Panel Lamp Supply Voltage - 1 | ||||
D2 | PPL/WHT | 1382 | LED Dimming Signal | ||||
D3 | ORN | 140 | Battery Positive Voltage | ||||
D4 | BLK | 1050 | Ground | ||||
D5 | LT GRN/BLK | 735 | Ambient Air Temperature Sensor Signal | ||||
D6 | DK GRN/WHT | 817 | Vehicle Speed Signal | ||||
D7 | ORN | 1732 | Courtesy Lamps Supply Voltage | ||||
D8 | BLK | 750 | Ground | ||||
D9 | ORN | 640 | Battery Positive Voltage | ||||
E1 | BRN | 441 | Ignition 3 Voltage | ||||
E2 | -- | -- | Not Used | ||||
E3 | DK GRN/WHT | 1133 | Class 2 Serial Data (ATC) | ||||
E4 | BLK | 750 | Ground | ||||
E5 | ORN | 1540 | Battery Positive Voltage | ||||
E6 | -- | -- | Not Used | ||||
F1 | GRY | 8 | Instrument Panel Lamp Supply Voltage - 1 | ||||
F2 | BLK | 750 | Ground | ||||
F3 | ORN | 1923 | Auxiliary HVAC Switch Supply Voltage | ||||
F5 | LT BLU | 195 | Door Lock Control | ||||
F6 | WHT | 194 | Door Unlock Control | ||||
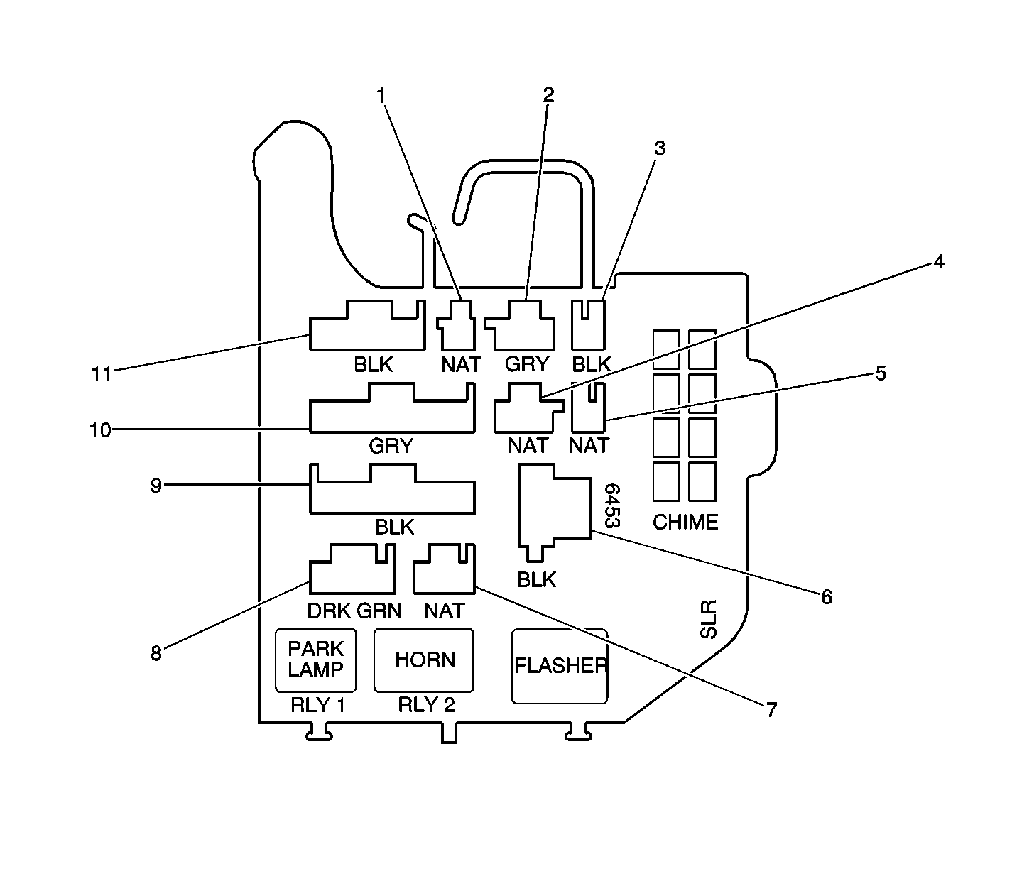
G1 | WHT | 1080 | Park Lamp Relay Control | ||||
G2 | -- | -- | Not Used | ||||
G3 | BRN | 9 | Park Lamp Supply Voltage | ||||
G4 | ORN | 740 | Battery Positive Voltage | ||||
G5 | -- | -- | Not Used | ||||
G6 | DK GRN | 29 | Horn Control | ||||
G8 | BLK | 550 | Ground | ||||
H1 | ORN | 240 | Battery Positive Voltage | ||||
H3 | ORN | 240 | Battery Positive Voltage | ||||
H4 | ORN | 740 | Battery Positive Voltage | ||||
H6 | BLK | 28 | Horn Relay Control | ||||
H7 | PPL | 16 | Turn Signal Flasher Signal | ||||
H8 | -- | -- | Not Used | ||||
H9 | LT GRN | 62 | Hazard Indicator Supply Voltage | ||||
J1-K4 | -- | -- | Not Used | ||||