GM Service Manual Online
For 1990-2009 cars only
Makes
🢒
Chevrolet
🢒
2001
🢒
Astro - 2WD
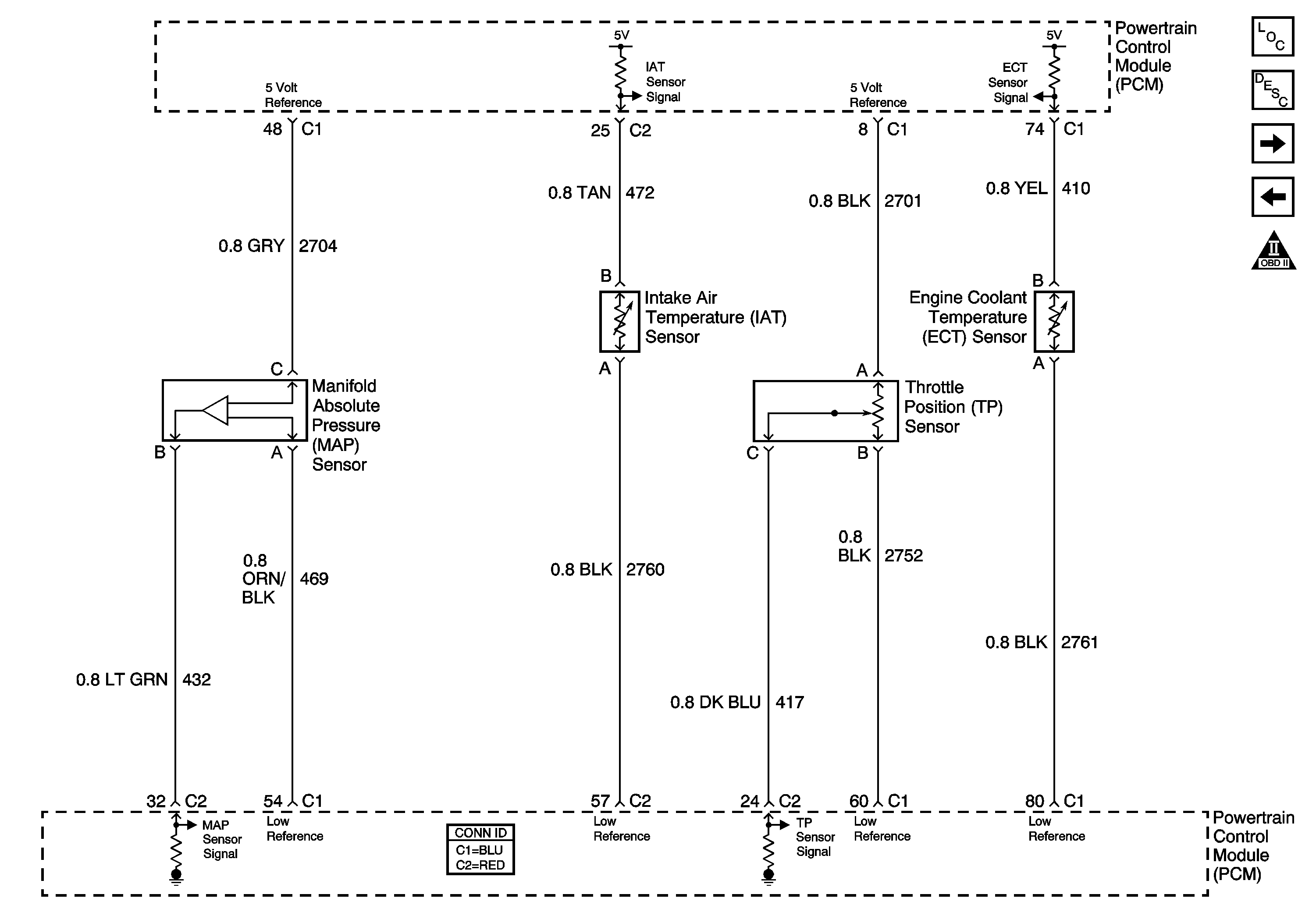
🢒 Fuel Mixture Input Controls
Fuel Mixture Input Controls
Fuel Mixture Input Controls
Master Electrical Component List
Fuel System Description
Emission Controls
Fuel Injection Controls
OBD II Symbol Description Notice