GM Service Manual Online
For 1990-2009 cars only
Makes
🢒
Chevrolet
🢒
2001
🢒
Astro - 2WD
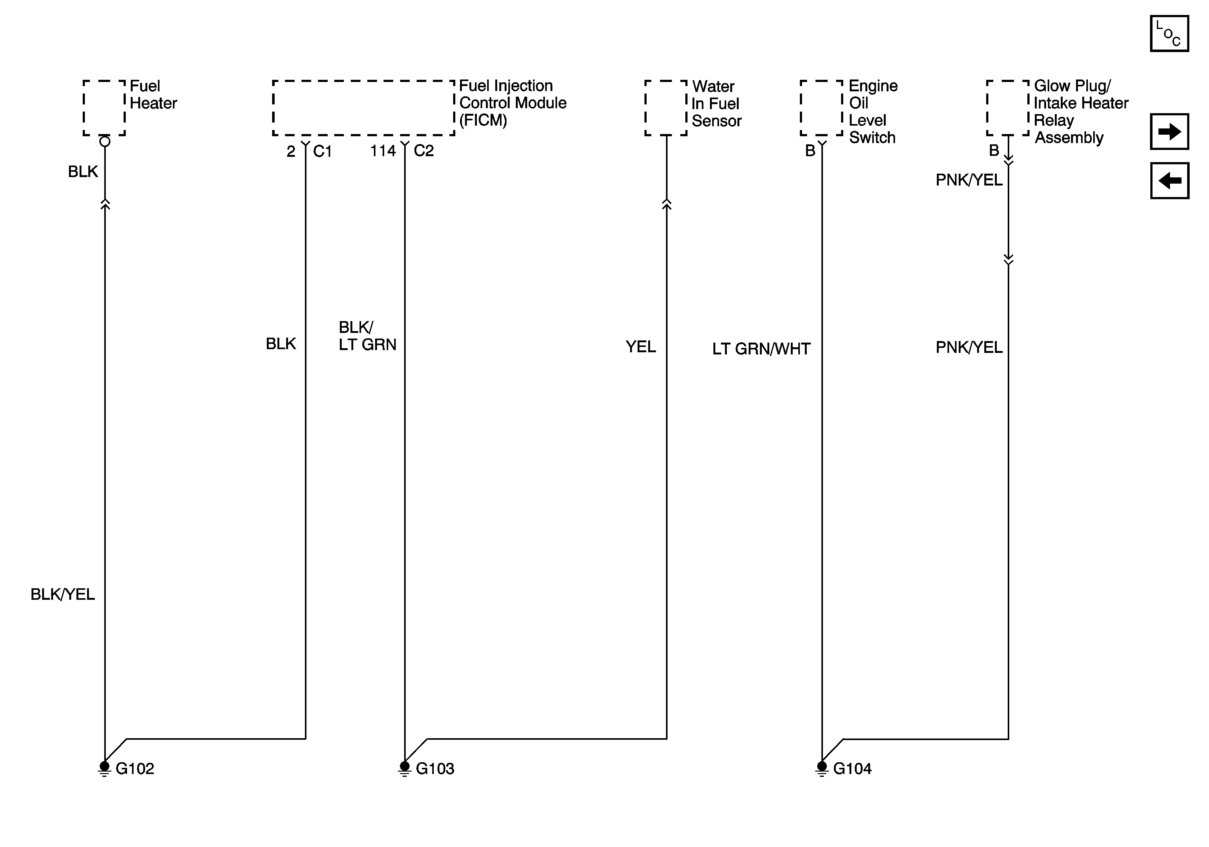
🢒 G102, G103, and G104 - Diesel
G102, G103, and G104 - Diesel
G102, G103, and G104 - Diesel
Master Electrical Component List
G105 - Diesel
G104 - Gas