GM Service Manual Online
For 1990-2009 cars only
Makes
🢒
Chevrolet
🢒
2001
🢒
Astro - 2WD
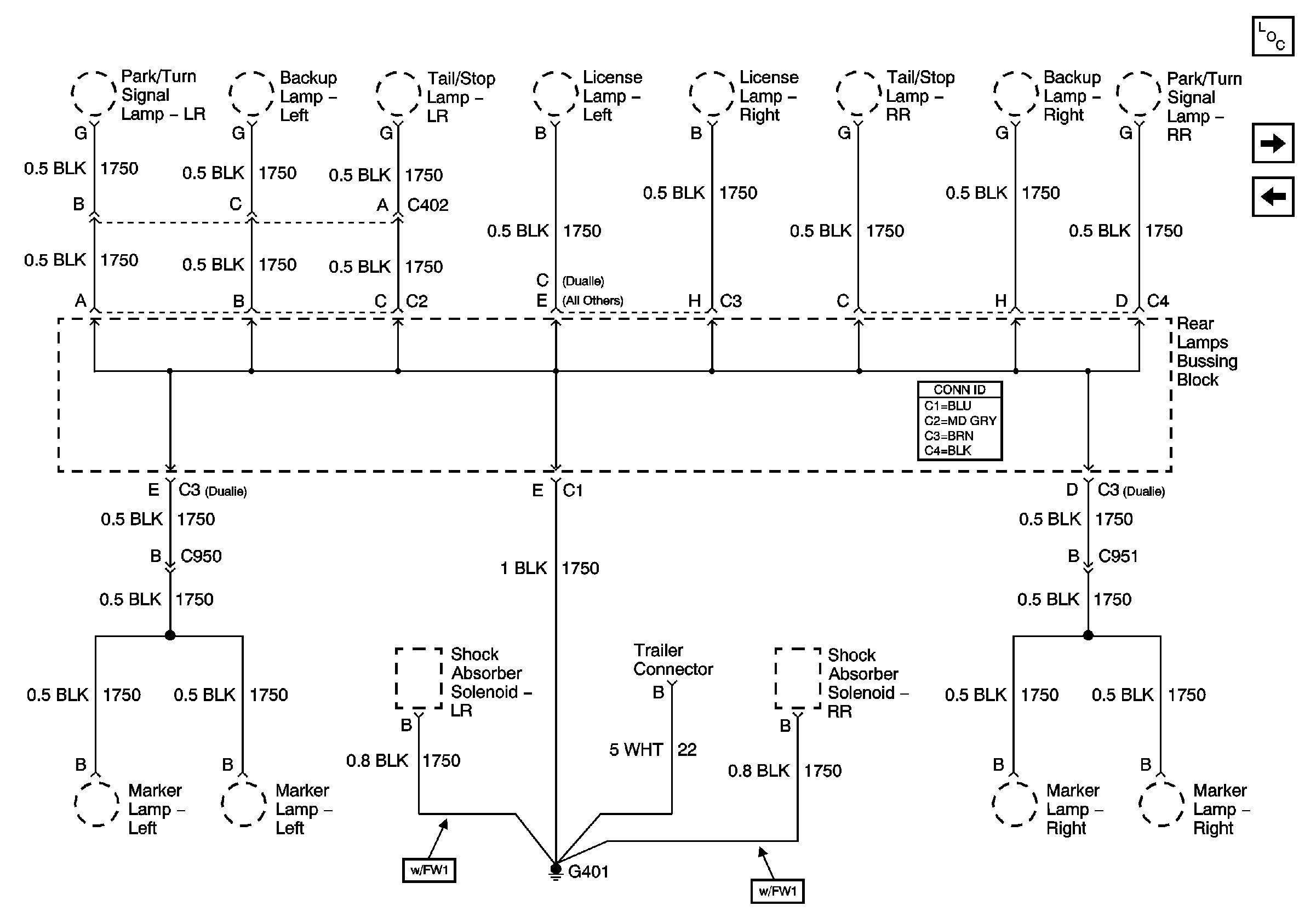
🢒 G401 - w/Rear Bussing Block
G401 - w/Rear Bussing Block
G401 - w/Rear Bussing Block
Master Electrical Component List
G403
G401 - w/o Rear Bussing Block