GM Service Manual Online
For 1990-2009 cars only

Removal Procedure

  1. Disable the SIR system. Refer to Disabling the SIR System in SIR.
  2. Remove the instrument panel carrier. Refer to Instrument Panel Carrier Replacement .

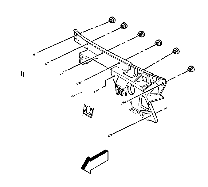
  3. Object Number: 493843  Size: SH
  4. Remove the insulator clips from the insulator pad.
  5. Remove the insulator pad from the vehicle.

Installation Procedure

  1. Install the insulator pad to the vehicle.

  2. Object Number: 493843  Size: SH
  3. Install the insulator clips to the insulator pad.
  4. Install the instrument panel carrier. Refer to Instrument Panel Carrier Replacement .
  5. Enable the SIR. Refer to Enabling the SIR System in SIR.