GM Service Manual Online
For 1990-2009 cars only

Poor Engine Performance-Misfire, Rough Idle, Stalls, Engine Cranks but Does Not Run, SES/Check Engine Light On, DTC P0300 Set (Inspect Distributor Ignition(DI) System Components, Replace as Necessary)

Subject:Poor Engine Performance - Misfire, Rough Idle, Stalls, Engine Cranks but Does Not Run, Service Engine Soon/Check Engine Light Illuminated, DTC P0300 Set (Inspect Distributor Ignition (DI) System Components and Replace As Necessary)

Models:2001-2003 Chevrolet Astro, Blazer, Express, S-10
2001-2003 GMC Jimmy, Safari, Savana, Sonoma
2001 Oldsmobile Bravada
with 4.3L, 5.0L or 5.7L Gas Engine (VINs W, X, M, R -- RPOs L35, LU3, L30, L31)



This bulletin is being revised to delete a model and add information to subject and inspection of distributor vent screens. Please discard Corporate Bulletin Number 03-06-04-041 (Section 06 - Engine/Propulsion System).


Condition

Some customers may comment on poor engine performance and the Service Engine Soon/Check Engine light being illuminated. Upon investigation, the technician may find DTC P0300 set.

Cause

This condition may be due to high levels of internal corrosion in the distributor, causing misfire, rough idle, stall and Engine Cranks But Does Not Run. This corrosion is attributed to a lack of airflow internal to the cap caused by the vent screens being clogged with debris.

Correction

Remove the vent screens and inspect the internal components of the Distributor Ignition System using the procedure listed below. If the distributor base has to be replaced, the vent screens will also have to be removed on the new distributor. If there is evidence of this internal corrosion, replace the affected component. Refer to the appropriate procedure in the Engine Controls sub-section of the applicable Service Manual.

Important: All of these inspections can be done on-vehicle.

  1. 1. Inspect the distributor cap. You may notice a white residue on the cap walls. For higher mileage occurrences, the interior of the cap may have changed to medium brown in color
  2. 2. Inspect the distributor rotor. You may notice the presence of black streaks on the plastic surface. More typical evidence would be visible green spots on the copper surface of the rotor segment.
  3. 3. Inspect the distributor base. You may notice high levels of surface rust on the distributor shaft or surface contamination on the sensor hold down screws.

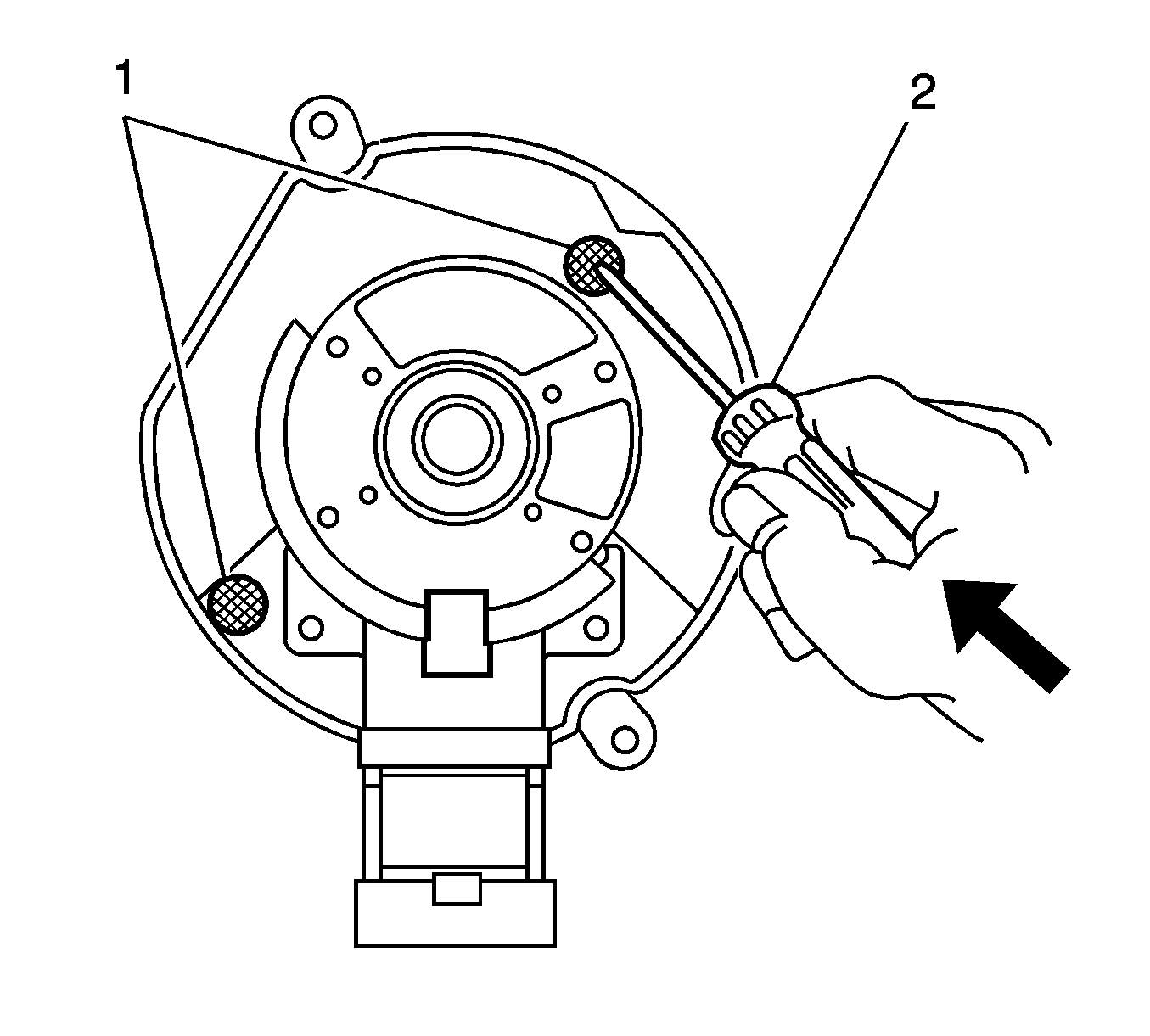
  4. Object Number: 1580849  Size: SH
  5. 4. Inspect the distributor vent screens (1). If the vent screens are present, remove them by using a plastic-handled, long blade awl or pick (2). Insert into the airflow vent screens and pop them out. Refer to the figure for removal procedure. If the vent screens have been removed from the base of the distributor, then check the airflow inlets for being clogged with debris.

Parts Information

Part Number

Description

10452458

Cap, Distributor (V6)

10452457

Rotor, Distributor (V6 and V8)

93441559

Distributor (V6)

10452459

Cap, Distributor (V8)

93441558

Distributor (V8)

Parts are currently available from GMSPO.

Warranty Information

For vehicles repaired under warranty, use:

Labor Operation

Description

Labor Time

J4360

Cap, Distributor - Replace

Use published labor operation time

J4380

Rotor, Distributor - Replace

Use published labor operation time

J4530

Distributor Assembly - Replace

Use published labor operation time

Add

To remove Distributor vent screens

0.1 hr