GM Service Manual Online
For 1990-2009 cars only
Makes
🢒
Chevrolet
🢒
2002
🢒
Astro - 2WD
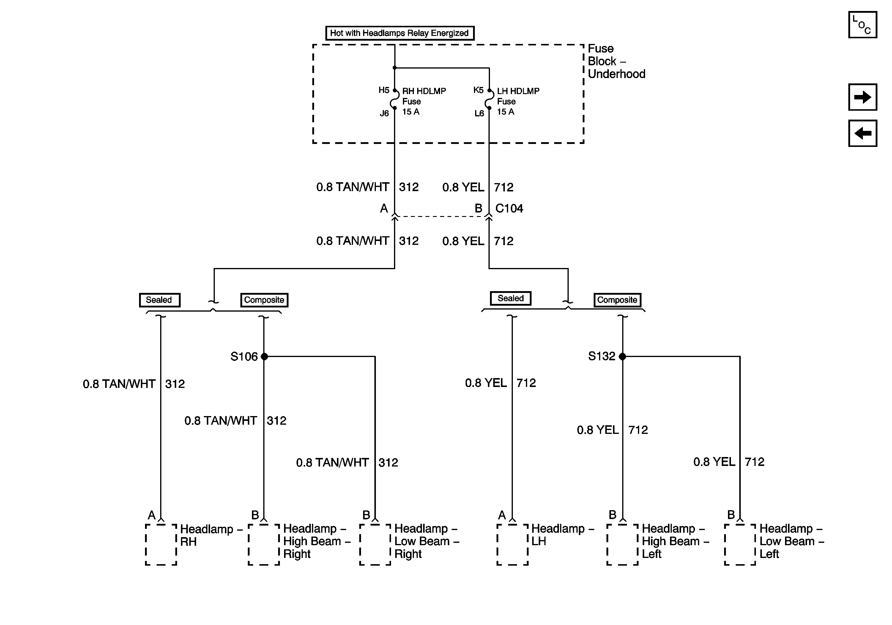
🢒 Headlamp Fuses
Headlamp Fuses
Headlamp Fuses
Master Electrical Component List
HTD Mirror/RR Defog, A/C Comp, Horn, ECM-B ABS, RAP Fuse
IGN ACC and RUN