GM Service Manual Online
For 1990-2009 cars only
Makes
🢒
Chevrolet
🢒
2002
🢒
Astro - 2WD
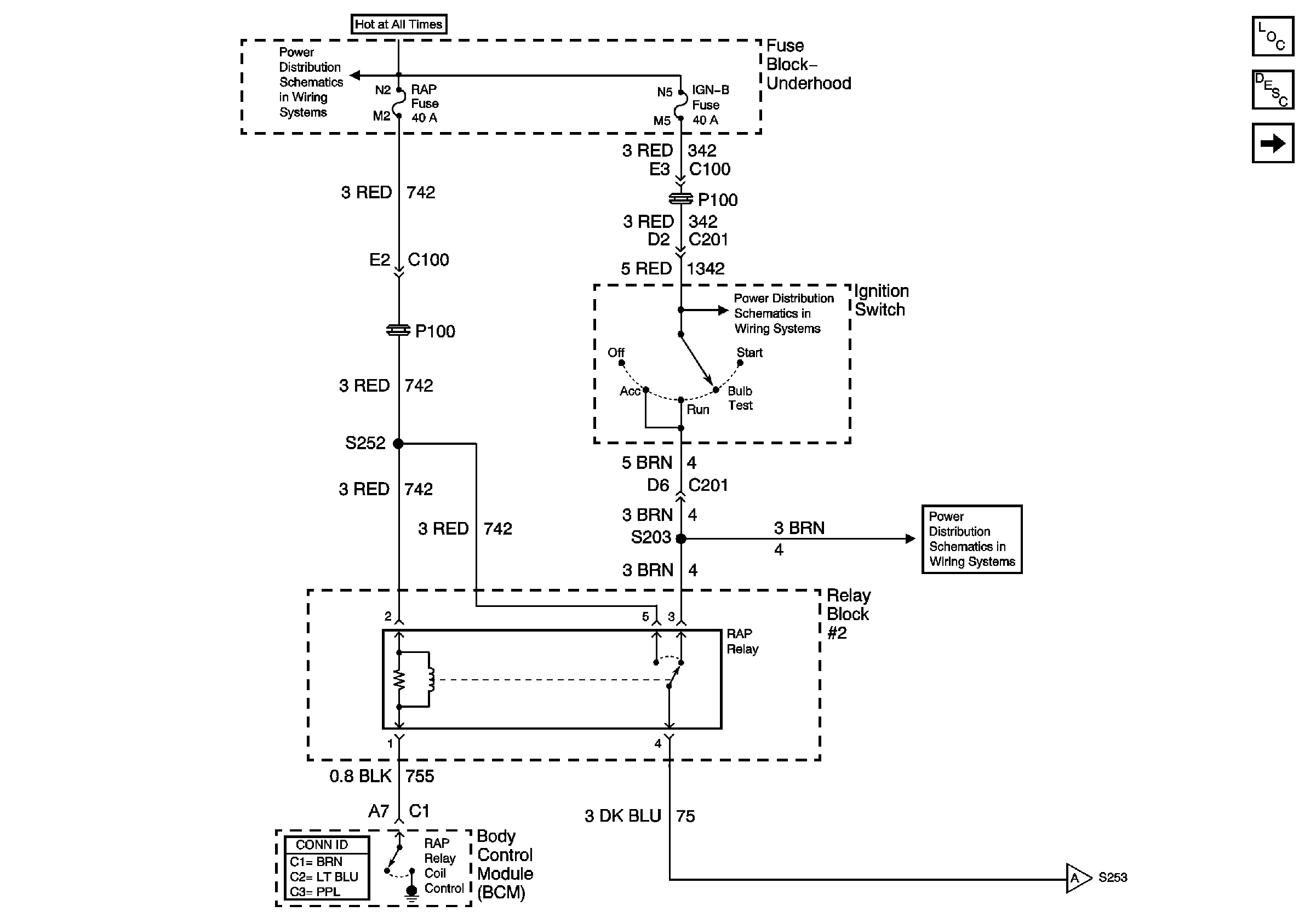
🢒 RAP Relay, BCM
RAP Relay, BCM
RAP Relay, BCM
Master Electrical Component List
Retained Accessory Power (RAP) Description and Operation
Power Window Switch, Radio, Overhead Console
Battery and Fuse Block - Underhood
IGN ACC and RUN
Power Window Switch, Radio, Overhead Console