GM Service Manual Online
For 1990-2009 cars only
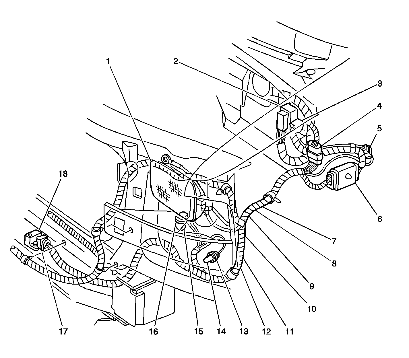
Figure 1:

Forward Lamps Harness, Left Side


Object Number: 786763  Size: LF
(1)Headlamp - LH - Sealed
(2)C100
(3)P100
(4)C104
(5)C109
(6)C102
(7)S132
(8)S131
(9)S103
(10)S102
(11)S105
(12)S104
(13)Marker Lamp - LF Connector
(14)Marker Lamp - LF
(15)Park/Turn Signal Lamp - LF
(16)Park/Turn Signal Lamp - LF Connector
(17)Inflatable Restraint Front End Discriminating Sensor Connector
(18)Inflatable Restraint Front End Discriminating Sensor
Figure 2:

Forward Lamp Harness, Right Side


Object Number: 582030  Size: LF
(1)Rear Window Washer Fluid Pump
(2)S101
(3)Park/Turn Signal Lamp - RF
(4)Park/Turn Signal Lamp - RF Connector
(5)Marker Lamp - RF Connector
(6)Marker Lamp - RF
(7)S106
(8)S100
(9)Headlamp - Right - Sealed
(10)G100
(11)Blower Motor
(12)Windshield Washer Fluid Pump
(13)Blower Motor Resistor Assembly
Figure 3:

Engine Component Location View - Rear


Object Number: 781566  Size: LF
(1)A/C Compressor Clutch Connector
(2)Throttle Position (TP) Sensor Connector
(3)Idle Air Control (IAC) Valve Connector
(4)Central Sequential Fuel Injection (Central SFI) Connector
(5)Engine Oil Pressure (EOP) Sensor Connector
(6)S126
(7)Camshaft Position (CMP) Sensor Connector
(8)Knock Sensor (KS) Connector
(9)S134
(10)G106, And G107
(11)S124
(12)Engine Coolant Temperature (ECT) Sensor Connector
(13)A/C High Pressure Switch Connector
Figure 4:

Engine Wiring, Right Side


Object Number: 582029  Size: LF
(1)S123
(2)Evaporative Emission (EVAP) Canister Purge Solenoid Connector
(3)Ignition Coil Connector
(4)Ignition Control Module (ICM)
(5)S154
(6)S119
(7)Ignition Control Module (ICM) Connector
(8)Generator
(9)Generator Connector
(10)Ignition Coil
(11)Manifold Absolute Pressure (MAP) Sensor Connector
(12)Manifold Absolute Pressure (MAP) Sensor
(13)Evaporative Emission (EVAP) Canister Purge Solenoid
Figure 5:

Undercarriage Wiring


Object Number: 598350  Size: LF
(1)Electronic Brake Control Module (EBCM)
(2)Electronic Brake Control Module (EBCM) Connector C2
(3)Electronic Brake Control Module (EBCM) Connector C1
(4)C314
(5)S126
(6)S127
(7)G302
(8)C310
(9)Evaporative Emission (EVAP) Canister Vent Solenoid
Figure 6:

Left B Pillar Harness


Object Number: 881094  Size: LF
(1)S307
(2)S301
(3)Daytime Running Lamps (DRL) Diode
(4)Left "B" Pillar
(5)Daytime Running Lamps (DRL) Diode Connector
(6)S315
(7)S322
Figure 7:

Powertrain Control Module (PCM) Location View


Object Number: 786705  Size: LF
(1)Engine Harness
(2)Battery
(3)S154
(4)Powertrain Control Module (PCM) Connector C1
(5)Powertrain Control Module (PCM) Connector C2
(6)Powertrain Control Module (PCM)
(7)Fuel Pump Prime
Figure 8:

Bulkhead/Fuse Block - Underhood Wiring


Object Number: 786902  Size: LF
(1)S115
(2)S111
(3)S110
(4)P100
(5)S112
(6)C104
(7)C100
(8)S133
(9)S109
(10)S108
(11)Fuse Block - Underhood
(11)Fuse Block - Underhood
Figure 9:

Engine/Center of Front Dash Wiring


Object Number: 786790  Size: LF
(1)Cruise Control Module (CCM)
(2)Intake Air Temperature (IAT) Sensor Connector
(3)Windshield Wiper Motor and Module
(4)Intake Air Temperature (IAT) Sensor
(5)A/C Low Pressure Switch
(6)A/C Low Pressure Switch Connector
(7)Coolant Bypass Valve Solenoid
(8)Coolant Bypass Valve Solenoid Connector
(9)Mass Air Flow (MAF)Sensor
(10)Mass Air Flow (MAF) Sensor Connector
(11)Mass Air Flow (MAF) Sensor Connector
(12)Mass Air Flow (MAF) Sensor
(13)Intake Air Temperature (IAT) Sensor
(14)Intake Air Temperature (IAT) Sensor Connector
(15)Blower Motor
(16)S116
Figure 10:

Front of Dash Wiring, Left Side (Electrical)


Object Number: 597046  Size: LF
(1)S130
(2)C102
(3)C109
(4)G110
Figure 11:

Instrument Cluster Wiring


Object Number: 786770  Size: LF
(1)Body Control Module (BCM)
(1)Body Control Module (BCM)
(2)Body Control Module (BCM) Connectors
(3)HVAC Control Module
(4)S219
(5)S217
(6)S211
(7)S257
(8)S330
(9)Headlamp and Panel Dimmer Switch
(10)S256
(11)Headlamp and Panel Dimmer Switch Connector
(12)Remote Control Door Lock Receiver (RCDLR) Connector
(13)S210
(14)S254
(15)S250
(16)S212
(17)S219
(18)Instrument Panel Cluster (IPC) Connector
(19)S258
(20)S259
(21)S255
(22)Radio Connectors
Figure 12:

IP Wiring, Right Side


Object Number: 786804  Size: LF
(1)S241
(2)S229
(3)S223
(4)S224
(5)S259
(6)S227
(7)S228
(8)Air Temperature Actuator Connector
(9)Air Temperature Actuator
Figure 13:

Fuse Block - I/P Location View


Object Number: 597158  Size: MF
(1)Convenience Center
(2)Turn Signal/Hazard Flasher Module
(3)Horn Relay
(4)Fuse Block - I/P
(5)C213
(6)C212
Figure 14:

Convenience Center Wiring


Object Number: 582026  Size: LF
(1)S238
(2)S206
(3)S205
(4)S204
(5)S203
Figure 15:

Left Front Interior Wiring


Object Number: 582024  Size: LF
(1)C200
(2)S240
(3)S200
(4)S201
(5)C223
(6)C202
(7)Inflatable Restraint I/P Module
(8)Auxiliary Power Outlet Front #1 Connector
(9)Auxiliary Power Outlet Front #2 Connector
(10)Cigar Lighter Connector
(11)S234
(12)Engine Cover Ground (G201)
(13)Inflatable Restraint Sensing and Diagnostic Module
(14)Inflatable Restraint Sensing and Diagnostic Module Connector
(15)C333
(16)S242
(17)C300
(18)S325
(19)Center High Mounted Stop Lamp (CHMSL) Resistor
(20)S326
(21)S324
(22)S327
(23)Park Brake Switch
(24)S303
(25)S330
(26)S246
(27)S305
(28)S246
Figure 16:

Splice Pack, Relay Block, DLC Wiring


Object Number: 563307  Size: LF
(1)C201
(2)Inflatable Restraint Steering Wheel Module Coil Connector
(3)Data Link Connector (DLC)
(4)Relay Block #1
(5)S253
(6)S220
(7)S252
(8)S251
(9)S250
(10)SP261 Splice Pack
Figure 17:

Vanity Mirror Wiring


Object Number: 582022  Size: LF
(1)S237
(2)Vanity Mirror Lamp Connectors
(3)Vanity Mirror Lamp - Right
(4)Convenience Center Connector C6
(5)C200
(6)S236
Figure 18:

I/P Wiring To Front Passenger Door


Object Number: 781531  Size: LF
(1)Door Lock Relay
(2)G200
(3)Door Jamb Switch - Front Passenger
(4)C205
(5)C203
(6)S232
Figure 19:

Left Kick Panel Wiring


Object Number: 582018  Size: LF
(1)G300
(2)C301
(3)C303
(4)Door Jamb Switch - Driver
Figure 20:

Front Door Wiring (Front Passenger Shown, Driver Opposite)


Object Number: 563940  Size: LF
(1)S500 - Driver, S602 - Front Passenger
(2)S503 - Driver, S601 - Front Passenger
(3)Speaker - RF Door Tweeter Connector
(4)S506 - Driver, S600 - Front Passenger
(5)Outside Rearview Mirror Switch Connector- Driver
(6)Window Switch Front Passenger Connector C1/ Window Master Switch - Driver Connector C2
(7)Window Motor - Front Passenger Connector
(8)Window Switch Front Passenger Connector C2/ Window Master Switch - Driver Connector C1
(9)S502 - Driver, S603 - Front Passenger
(10)Door Lock Actuator - Front Passenger
(11)Door Lock Actuator - Front Passenger Connector
(12)Door Lock Switch - Front Passenger Connector
(13)Speaker - RF Door Connector
(14)C301 - Driver, C205 - Front Passenger
(15)P500 - Driver, P600 - Front Passenger
(16)S501 - Driver, S605 - Front Passenger
(17)Outside Rearview Mirror - Passenger Connector
Figure 21:

Seat - Driver


Object Number: 298031  Size: MF
(1)Seat Vertical Motor
(2)Seat Adjuster Switch - Driver
(3)Seat Horizontal Motor
(4)C306
(5)Seat Rear Vertical Motor
Figure 22:

Courtesy Lamp - Left Wiring


Object Number: 581991  Size: LF
(1)Daytime Running Lamps (DRL) Diode
(2)S328
(3)Courtesy Lamp - Left
Figure 23:

Transmission Wiring


Object Number: 564546  Size: LF
(1)Automatic Transmission
(2)Adapter
(3)Park/Neutral Position (PNP) Switch Connector C1
(4)Park/Neutral Position (PNP) Switch Connector C2
(5)Park/Neutral Position (PNP) Switch
(6)C175
(7)Vehicle Speed Sensor (VSS)
(8)Vehicle Speed Sensor (VSS) Connector
(9)S333
(10)Vehicle Speed Sensor (VSS) Shield (Taped)
Figure 24:

A4WD Transfer Case Locator View


Object Number: 516428  Size: MF
(1)Propshaft Speed Sensor - Rear Connector
(2)Transfer Case Encoder Motor Connector
(3)Vehicle Speed Sensor (VSS) Connector
(4)Propshaft Speed Sensor - Front Connector
(5)Transfer Case
(6)P301
Figure 25:

Body Harness -LR


Object Number: 374528  Size: LF
(1)Blower Motor - Auxiliary
(2)S313
(3)S312
(4)S311
(5)S310
(6)S309
(7)S314
(8)S315
(9)S322
(10)S316
(11)Audio Amplifier
(12)Audio Amplifier Connector
(13)S318
(14)S317
(15)G404
Figure 26:

Body Wiring -RR


Object Number: 374539  Size: SF
(1)S334
(2)S335
(3)Liftglass Lock/Unlock Relay
(4)Liftglass Lock/Unlock Relay Connector
Figure 27:

Right D Pillar Wiring


Object Number: 582016  Size: LF
(1)S400
(2)Door Lock Actuator - Rear
(3)P401
(4)Trailer Harness (Taped Wires)
(5)S403
(6)S402, And S408
(7)S401
(8)G401
(9)Speaker - RR
Figure 28:

Left D Pillar Wiring


Object Number: 597963  Size: LF
(1)S321
(2)C401
(3)S320
(4)Speaker - LR
(5)S319
(6)Speaker - LR Door (Base Radio) Speaker - LR Subwoofer (Premium Radio)
(7)P400
(8)G400
(9)S400
Figure 29:

Right D Pillar Wiring


Object Number: 281342  Size: MH
(1)G401
(2)G403
(3)S407