| |||||||||||||||
|---|---|---|---|---|---|---|---|---|---|---|---|---|---|---|---|
Connector Part Information |
| Connector Part Information |
| ||||||||||||
Pin | Wire Color | Circuit No. | Function | Pin | Wire Color | Circuit No. | Function | ||||||||
A1 | PNK | 3 | Ignition 1 Voltage | A1 | PNK | 3 | Ignition 1 Voltage | ||||||||
A2 | LT GRN | 24 | Back-Up Lamp Supply Voltage | A2 | LT GRN | 24 | Back-Up Lamp Supply Voltage | ||||||||
A3 | YEL | 143 | Accessory Voltage | A3 | YEL | 143 | Accessory Voltage | ||||||||
A4 | ORN | 1540 | Battery Positive Voltage | A4 | ORN | 1540 | Battery Positive Voltage | ||||||||
A6 | RED | 42 | Battery Positive Voltage | A6 | RED | 42 | Battery Positive Voltage | ||||||||
A7 | RED | 1442 | Battery Positive Voltage | A7 | RED | 1442 | Battery Positive Voltage | ||||||||
A8 | RED | 142 | Battery Positive Voltage | A8 | RED | 142 | Battery Positive Voltage | ||||||||
B1 | PPL | 806 | Crank Voltage | B1 | PPL | 806 | Crank Voltage | ||||||||
B2 | PNK | 139 | Ignition 1 Voltage | B2 | PNK | 139 | Ignition 1 Voltage | ||||||||
B3 | ORN | 1923 | Auxiliary HVAC Switch Supply Voltage | B3 | ORN | 1923 | Auxiliary HVAC Switch Supply Voltage | ||||||||
B5 | PPL | 420 | TCC Brake Switch/Cruise Control Release Signal | B5 | PPL | 420 | TCC Brake Switch/Cruise Control Release Signal | ||||||||
B6 | BRN | 141 | Ignition 3 Voltage | B6 | BRN | 141 | Ignition 3 Voltage | ||||||||
B7 | LT BLU/BLK | 396 | Cruise Control Engaged Signal | B7 | LT BLU/BLK | 396 | Cruise Control Engaged Signal | ||||||||
B8 | DK GRN | 1049 | ECM/PCM/VCM Class 2 Serial Data | B8 | DK GRN | 1049 | ECM/PCM/VCM Class 2 Serial Data | ||||||||
C1 | BRN | 441 | Ignition 3 Voltage | C1 | BRN | 441 | Ignition 3 Voltage | ||||||||
C2 | BLK | 550 | Ground | C2 | BLK | 550 | Ground | ||||||||
C3 | PNK | 1020 | Off, Run, Crank Voltage | C3 | PNK | 1020 | Off, Run, Crank Voltage | ||||||||
C4 | BRN/WHT | 419 | MIL Control | C4 | BRN/WHT | 419 | MIL Control | ||||||||
C5 | WHT | 352 | Headlamp Relay Coil Supply Voltage | C5 | WHT | 352 | Headlamp Relay Coil Supply Voltage | ||||||||
C6 | -- | -- | Not Used | C6 | -- | -- | Not Used | ||||||||
C7 | DK GRN/WHT | 817 | Vehicle Speed Signal | C7 | DK GRN/WHT | 817 | Vehicle Speed Signal | ||||||||
C8 | TAN/WHT | 331 | Oil Pressure Sensor Signal | C8 | TAN/WHT | 331 | Oil Pressure Sensor Signal | ||||||||
D1 | GRY/BLK | 1596 | Heater Water Control Solenoid Control | D1 | GRY/BLK | 1596 | Heater Water Control Solenoid Control | ||||||||
D2 | -- | -- | Not Used | D2 | -- | -- | Not Used | ||||||||
D3 | LT GRN | 66 | A/C Request Signal | D3 | LT GRN | 66 | A/C Request Signal | ||||||||
D4 | -- | -- | Not Used | D4 | -- | -- | Not Used | ||||||||
D6 | PNK | 1839 | Ignition 1 Voltage | D6 | PNK | 1839 | Ignition 1 Voltage | ||||||||
D7 | LT GRN | 275 | Park Neutral Position Switch Park Signal | D7 | LT GRN | 275 | Park Neutral Position Switch Park Signal | ||||||||
D8 | BLK | 1850 | Ground | D8 | BLK | 1850 | Ground | ||||||||
E1 | RED | 242 | Battery Positive Voltage | E1 | RED | 242 | Battery Positive Voltage | ||||||||
E2 | RED | 742 | Battery Positive Voltage | E2 | RED | 742 | Battery Positive Voltage | ||||||||
E3 | RED | 342 | Battery Positive Voltage | E3 | RED | 342 | Battery Positive Voltage | ||||||||
E5 | ORN | 740 | Battery Positive Voltage | E5 | ORN | 740 | Battery Positive Voltage | ||||||||
E6 | LT BLU | 1122 | ABS/TCS Class 2 Serial Data | E6 | LT BLU | 1122 | ABS/TCS Class 2 Serial Data | ||||||||
E7 | YEL | 710 | Class 2 Serial Data | E7 | YEL | 710 | Class 2 Serial Data | ||||||||
E8 | RED | 1742 | Battery Positive Voltage | E8 | RED | 1742 | Battery Positive Voltage | ||||||||
| |||||||||||||||
|---|---|---|---|---|---|---|---|---|---|---|---|---|---|---|---|
Connector Part Information |
| Connector Part Information |
| ||||||||||||
Pin | Wire Color | Circuit No. | Function | Pin | Wire Color | Circuit No. | Function | ||||||||
A | BRN | 9 | Park Lamp Supply Voltage | A | BRN | 9 | Park Lamp Supply Voltage | ||||||||
B | PNK | 1200 | Headlamp High Beam Signal | B | PNK | 1200 | Headlamp High Beam Signal | ||||||||
C | DK BLU | 1201 | Headlamp Signal - Low Beam | C | DK BLU | 1201 | Headlamp Signal - Low Beam | ||||||||
D | LT BLU | 14 | Left Turn Signal Lamps Supply Voltage | D | LT BLU | 14 | Left Turn Signal Lamps Supply Voltage | ||||||||
E | DK BLU | 15 | Right Turn Signal Lamps Supply Voltage | E | DK BLU | 15 | Right Turn Signal Lamps Supply Voltage | ||||||||
F | DK GRN | 29 | Horn Control | F | DK GRN | 29 | Horn Control | ||||||||
G | PNK | 94 | Windshield Washer Switch Signal | G | PNK | 94 | Windshield Washer Switch Signal | ||||||||
H | YEL | 2160 | SIR Forward Signal | H | YEL | 2160 | SIR Forward Signal | ||||||||
J | DK GRN | 392 | Rear Window Washer Pump Control | J | DK GRN | 392 | Rear Window Washer Pump Control | ||||||||
K | BLK | 550 | Ground | K | BLK | 550 | Ground | ||||||||
L | LT GRN/BLK | 735 | Ambient Air Temperature Sensor Signal | L | LT GRN/BLK | 735 | Ambient Air Temperature Sensor Signal | ||||||||
M | LT BLU | 72 | Blower Motor Control - Medium 2 | M | LT BLU | 72 | Blower Motor Control - Medium 2 | ||||||||
N | BLK/WHT | 2151 | Ground | N | BLK/WHT | 2151 | Ground | ||||||||
P | YEL | 60 | Blower Motor Control - Low | P | YEL | 60 | Blower Motor Control - Low | ||||||||
R | TAN | 63 | Blower Motor Control - Medium 1 | R | TAN | 63 | Blower Motor Control - Medium 1 | ||||||||
| |||||||||||||||
|---|---|---|---|---|---|---|---|---|---|---|---|---|---|---|---|
Connector Part Information |
| Connector Part Information |
| ||||||||||||
Pin | Wire Color | Circuit No. | Function | Pin | Wire Color | Circuit No. | Function | ||||||||
A | TAN/WHT | 312 | Right Headlamp Low Beam Supply Voltage | A | TAN/WHT | 312 | Right Headlamp Low Beam Supply Voltage | ||||||||
B | YEL | 712 | Left Headlamp Low Beam Supply Voltage | B | YEL | 712 | Left Headlamp Low Beam Supply Voltage | ||||||||
C | BLK | 250 | Ground | C | BLK | 250 | Ground | ||||||||
D | ORN | 340 | Battery Positive Voltage | D | ORN | 340 | Battery Positive Voltage | ||||||||
| |||||||||||||||
|---|---|---|---|---|---|---|---|---|---|---|---|---|---|---|---|
Connector Part Information |
| Connector Part Information |
| ||||||||||||
Pin | Wire Color | Circuit No. | Function | Pin | Wire Color | Circuit No. | Function | ||||||||
A | BLK | 550 | Ground | A | BLK | 550 | Ground | ||||||||
B | LT GRN | 24 | Back-up Lamp Supply Voltage | B | LT GRN | 24 | Back-up Lamp Supply Voltage | ||||||||
C | -- | -- | Not Used | C | -- | -- | Not Used | ||||||||
| |||||||||||||||
|---|---|---|---|---|---|---|---|---|---|---|---|---|---|---|---|
Connector Part Information |
| Connector Part Information |
| ||||||||||||
Pin | Wire Color | Circuit No. | Function | Pin | Wire Color | Circuit No. | Function | ||||||||
A | DK BLU | 914 | Park, Turn Signal - LH (w/VE1) | A | DK BLU | 914 | Park, Turn Signal - LH (w/VE1) | ||||||||
B | ORN | 52 | Blower Motor Control - High | B | ORN | 52 | Blower Motor Control - High | ||||||||
C | LT BLU | 915 | Park, Turn Signal - RH (w/VE1) | C | LT BLU | 915 | Park, Turn Signal - RH (w/VE1) | ||||||||
|
| ||||||||||||||
|---|---|---|---|---|---|---|---|---|---|---|---|---|---|---|---|
Connector Part Information |
| Connector Part Information |
| ||||||||||||
Pin | Wire Color | Circuit No. | Function | Pin | Wire Color | Circuit No. | Function | ||||||||
A | PPL | 333 | Brake Fluid Level Sensor Signal | A | PPL | 333 | Brake Fluid Level Sensor Signal | ||||||||
B | BLK | 250 | Ground | B | BLK | 250 | Ground | ||||||||
| |||||||||||||||
|---|---|---|---|---|---|---|---|---|---|---|---|---|---|---|---|
Connector Part Information |
| Connector Part Information |
| ||||||||||||
Pin | Wire Color | Circuit No. | Function | Pin | Wire Color | Circuit No. | Function | ||||||||
A | BRN | 9 | Park Lamp Supply Voltage | A | BRN | 9 | Park Lamp Supply Voltage | ||||||||
B | LT BLU | 14 | Left Turn Signal Lamps Supply Voltage (w/WX7) | B | LT BLU | 14 | Left Turn Signal Lamps Supply Voltage (w/WX7) | ||||||||
YEL | 18 | Left Rear Stop/Turn Lamp Supply Voltage (w/oWX7) | YEL | 18 | Left Rear Stop/Turn Lamp Supply Voltage (w/oWX7) | ||||||||||
C | DK GRN | 19 | Right Rear Stop/Turn Lamp Supply Voltage (w/oWX7) | C | DK GRN | 19 | Right Rear Stop/Turn Lamp Supply Voltage (w/oWX7) | ||||||||
DK BLU | 15 | Right Turn Signal Lamps Supply Voltage (w/WX7) | DK BLU | 15 | Right Turn Signal Lamps Supply Voltage (w/WX7) | ||||||||||
D | LT GRN | 24 | Back-up Lamp Supply Voltage | D | LT GRN | 24 | Back-up Lamp Supply Voltage | ||||||||
E | ORN | 1732 | Courtesy Lamp Supply Voltage | E | ORN | 1732 | Courtesy Lamp Supply Voltage | ||||||||
F | WHT | 156 | Courtesy Lamp Low/Courtesy Lamp Switch Signal | F | WHT | 156 | Courtesy Lamp Low/Courtesy Lamp Switch Signal | ||||||||
G | BLK/WHT | 238 | Seat Belt Switch Left | G | BLK/WHT | 238 | Seat Belt Switch Left | ||||||||
H | TAN | 294 | Door Lock Actuator Unlock Control | H | TAN | 294 | Door Lock Actuator Unlock Control | ||||||||
J | YEL | 656 | Liftgate Courtesy Lamp Control | J | YEL | 656 | Liftgate Courtesy Lamp Control | ||||||||
K | WHT | 17 | Stop Lamp Switch Signal | K | WHT | 17 | Stop Lamp Switch Signal | ||||||||
L | ORN | 840 | Battery Positive Voltage | L | ORN | 840 | Battery Positive Voltage | ||||||||
M | GRY | 295 | Door Lock Actuator Lock Control | M | GRY | 295 | Door Lock Actuator Lock Control | ||||||||
N | TAN | 246 | Power Door Lock Motor - Unlock Rear Door (w/ZW9) | N | TAN | 294 | Door Lock Actuator Unlock Control (w/ZW9, w/o AUO) | ||||||||
TAN | 246 | Power Door Lock Motor - Unlock Rear Door (w/ZW9/AUO) | |||||||||||||
-- | -- | Not Used (w/E54) | |||||||||||||
P | WHT | 815 | DRL Diode Signal (w/DRL Only) | P | WHT | 815 | DRL Diode Signal (w/DRL Only) | ||||||||
R | YEL | 634 | DRL Diode Supply Voltage (w/DRL Only) | R | YEL | 634 | DRL Diode Supply Voltage | ||||||||
S | YEL | 1127 | Trip Computer NAV Class 2 Serial Data | S | YEL | 1127 | Trip Computer NAV Class 2 Serial Data | ||||||||
| |||||||||||||||||||||||
|---|---|---|---|---|---|---|---|---|---|---|---|---|---|---|---|---|---|---|---|---|---|---|---|
Connector Part Information |
| Connector Part Information |
| ||||||||||||||||||||
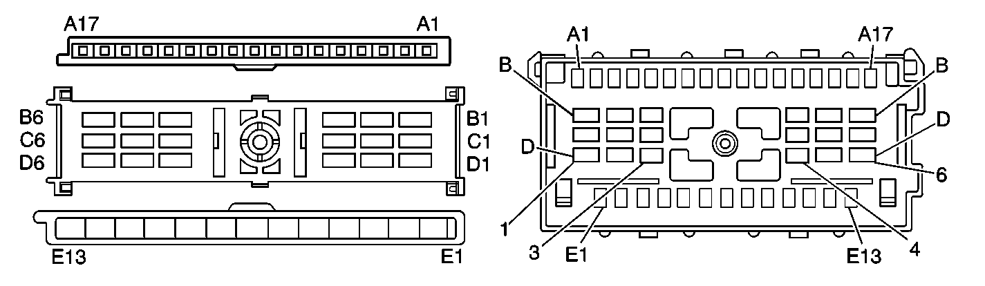
Pin | Wire Color | Circuit No. | Function | Pin | Wire Color | Circuit No. | Function | ||||||||||||||||
A1 | WHT | 17 | Stop Lamp Switch Signal | A1 | WHT | 17 | Stop Lamp Switch Signal (w/o VE1) | ||||||||||||||||
A1 | BRN | 9 | Park Lamp Supply Voltage (w/VE1) | ||||||||||||||||||||
A2 | PNK | 139 | Ignition 1 Voltage | A2 | PNK | 139 | Ignition 1 Voltage | ||||||||||||||||
A3 | LT BLU | 1508 | TURN/HAZARD Module Supply Voltage | A3 | LT BLU | 1508 | TURN/HAZARD Module Supply Voltage | ||||||||||||||||
A4 | WHT | 352 | Headlamp Switch Flash-to-Pass Signal | A4 | YEL | 307 | Headlamp Switch Flash-to-Pass Signal | ||||||||||||||||
A5 | -- | -- | Not Used | A5 | -- | -- | Not Used | ||||||||||||||||
A6 | DK BLU | 15 | Right Turn Signal Lamps Supply Voltage | A6 | DK BLU | 15 | Right Turn Signal Lamps Supply Voltage | ||||||||||||||||
A7 | LT BLU | 14 | Left Turn Signal Lamps Supply Voltage | A7 | LT BLU | 14 | Left Turn Signal Lamps Supply Voltage | ||||||||||||||||
A8 | BLK | 150 | Ground | A8 | BLK | 750 | Ground | ||||||||||||||||
A9 | LT BLU | 553 | Tow/Haul Switch Signal | A9 | LT BLU | 553 | Tow/Haul Switch Signal | ||||||||||||||||
A10 | -- | -- | Not Used | A10 | -- | -- | Not Used | ||||||||||||||||
A11 | BLK | 28 | Horn Relay Control | A11 | BLK | 28 | Horn Relay Control | ||||||||||||||||
A12 | GRY | 397 | Cruise Control ON Switch Signal | A12 | GRY | 397 | Cruise Control ON Switch Signal | ||||||||||||||||
A13 | PNK | 41 | Ignition 3 Voltage | A13 | BRN | 41 | Ignition 3 Voltage | ||||||||||||||||
A14 | DK BLU | 84 | Cruise Control SET/COAST Switch Signal | A14 | DK BLU | 84 | Cruise Control SET/COAST Switch Signal | ||||||||||||||||
A15 | GRY/BLK | 87 | Cruise Control Switch Signal | A15 | GRY/BLK | 87 | Cruise Control Switch Signal | ||||||||||||||||
A16 | BLK | 750 | Ground | A16 | BLK | 750 | Ground | ||||||||||||||||
A17 | DK GRN/WHT | 1135 | A/T Shift Lock Control Solenoid Supply Voltage | A17 | DK GRN/ WHT | 1135 | A/T Shift Lock Control Solenoid Supply Voltage | ||||||||||||||||
B1 | RED/WHT | 812 | 12-Volt Reference | B1 | RED/WHT | 812 | 12-Volt Reference | ||||||||||||||||
B2 | BLK | 150 | Ground | B2 | BLK | 750 | Ground | ||||||||||||||||
B3 | DK GRN | 80 | Key Ignition Switch Signal | B3 | LT GRN | 80 | Key Ignition Switch Signal | ||||||||||||||||
B4 | BRN | 159 | Ground | B4 | BLK | 750 | Ground | ||||||||||||||||
B5 | TAN/WHT | 33 | Park Brake Switch Signal | B5 | LT BLU | 1134 | Park Brake Switch Signal | ||||||||||||||||
B6 | -- | -- | Not Used | B6 | -- | -- | Not Used | ||||||||||||||||
C1 | WHT | 1390 | OFF/RUN/CRANK Voltage | C1 | WHT | 1390 | OFF/RUN/CRANK Voltage | ||||||||||||||||
C2 | BLK/GRY | 150 | Ground | C2 | BLK | 750 | Ground | ||||||||||||||||
C3 | -- | -- | Not Used | C3 | -- | -- | Not Used | ||||||||||||||||
C4 | ORN/BLK | 1057 | Low Reference | C4 | ORN/BLK | 1057 | Low Reference | ||||||||||||||||
C5 | PNK | 3 | Ignition 1 Voltage | C5 | PNK | 3 | Ignition 1 Voltage | ||||||||||||||||
C6 | ORN | 300 | Ignition 3 Voltage | C6 | ORN | 300 | Ignition 3 Voltage | ||||||||||||||||
D1 | YEL | 5 | CRANK Voltage | D1 | YEL | 5 | CRANK Voltage | ||||||||||||||||
D2 | RED | 1342 | Battery Positive Voltage | D2 | RED | 342 | Battery Positive Voltage | ||||||||||||||||
D3 | YEL | 1836 | Security System Sensor Signal | D3 | YEL | 1836 | Security System Sensor Signal | ||||||||||||||||
D4 | -- | -- | Not Used | D4 | -- | -- | Not Used | ||||||||||||||||
D5 | RED/WHT | 1442 | Battery Positive Voltage | D5 | RED | 242 | Battery Positive Voltage | ||||||||||||||||
D6 | BRN | 4 | ACCESSORY Voltage | D6 | BRN | 4 | ACCESSORY Voltage | ||||||||||||||||
E1 | LT GRN | 1696 | Hazard Indicator Supply Voltage | E1 | LT GRN | 62 | Hazard Indicator Supply Voltage | ||||||||||||||||
E2 | WHT | 20 | Stop Lamp Supply Voltage | E2 | -- | -- | Not Used | ||||||||||||||||
E3 | PPL | 92 | Windshield Wiper Motor - High Speed | E3 | PPL | 92 | Windshield Wiper Motor - High Speed | ||||||||||||||||
E4 | YEL | 143 | Accessory Voltage | E4 | YEL | 143 | Accessory Voltage | ||||||||||||||||
E5 | GRY | 96 | Windshield Wiper Switch - Pulse Delay Signal | E5 | BRN | 96 | Windshield Wiper Switch - Pulse Delay Signal | ||||||||||||||||
E6 | DK GRN | 19 | Right Rear Stop/Turn Lamp Supply Voltage | E6 | LT BLU | 915 | Park/Turn Signal Lamp Supply Voltage - LH (w/VE1) | ||||||||||||||||
DK GRN | 19 | Right Rear Stop/Turn Lamp Supply Voltage (w/o VE1) | |||||||||||||||||||||
E7 | YEL | 18 | Left Rear Stop/Turn Lamp Supply Voltage | E7 | DK BLU | 914 | Park/Turn Signal Lamp Supply Voltage - RH (w/VE1) | ||||||||||||||||
YEL | 18 | Left Rear Stop/Turn Lamp Supply Voltage (w/o VE1) | |||||||||||||||||||||
E8 | ORN | 140 | Battery Positive Voltage | E8 | ORN | 140 | Battery Positive Voltage | ||||||||||||||||
E9 | PPL | 1697 | Turn Signal Flasher Signal | E9 | PPL | 16 | Turn Signal Flasher Signal | ||||||||||||||||
E10 | ORN | 1840 | Battery Positive Voltage | E10 | ORN | 1840 | Battery Positive Voltage | ||||||||||||||||
E11 | LT GRN | 11 | Headlamp High Beam Signal | E11 | PNK | 1200 | Headlamp High Beam Signal | ||||||||||||||||
E12 | TAN | 12 | Headlamp Signal - Low Beam | E12 | DK BLU | 1201 | Headlamp Signal - Low Beam | ||||||||||||||||
E13 | LT BLU | 10 | Headlamp Switch Signal | E13 | BLK | 750 | Ground (w/VE1) | ||||||||||||||||
PPL | 544 | Headlamp Switch Signal (w/o VE1) | |||||||||||||||||||||
| |||||||||||||||
|---|---|---|---|---|---|---|---|---|---|---|---|---|---|---|---|
Connector Part Information |
| Connector Part Information |
| ||||||||||||
Pin | Wire Color | Circuit No. | Function | Pin | Wire Color | Circuit No. | Function | ||||||||
A | ORN | 1732 | Courtesy Lamps Supply Voltage | A | ORN | 1732 | Courtesy Lamps Supply Voltage | ||||||||
B | ORN | 640 | Battery Positive Voltage | B | ORN | 640 | Battery Positive Voltage | ||||||||
C | ORN | 840 | Battery Positive Voltage | C | ORN | 840 | Battery Positive Voltage | ||||||||
D | BLK | 1050 | Ground | D | BLK | 1050 | Ground | ||||||||
| |||||||||||||||
|---|---|---|---|---|---|---|---|---|---|---|---|---|---|---|---|
Connector Part Information |
| Connector Part Information |
| ||||||||||||
Pin | Wire Color | Circuit No. | Function | Pin | Wire Color | Circuit No. | Function | ||||||||
A | LT BLU | 97 | Rear Wiper Switch Off, Delay Signal | A | LT BLU | 97 | Rear Wiper Switch Off, Delay Signal | ||||||||
B | -- | -- | Not Used | B | -- | -- | Not Used | ||||||||
C | PPL | 1093 | Rear Defog Element Supply Voltage | C | PPL | 1093 | Rear Defog Element Supply Voltage | ||||||||
D-E | -- | -- | Not Used | D-E | -- | -- | Not Used | ||||||||
F | TAN | 294 | Door Lock Actuator Unlock Control (w/o AUO) | F | TAN | 294 | Door Lock Actuator Unlock Control | ||||||||
TAN | 1095 | Right Rear Door Lock Actuator Unlock Control (w/AUO) | |||||||||||||
G | GRY | 295 | Door Lock Actuator Lock Control | G | GRY | 295 | Door Lock Actuator Lock Control | ||||||||
H | -- | -- | Not Used | H | -- | -- | Not Used | ||||||||
J | LT BLU | 195 | Door Lock Control | J | LT BLU | 195 | Door Lock Control | ||||||||
K | ORN | 640 | Battery Positive Voltage | K | ORN | 640 | Battery Positive Voltage | ||||||||
L | WHT | 194 | Door Unlock Coil | L | WHT | 194 | Door Unlock Coil | ||||||||
M-N | -- | -- | Not Used | M-N | -- | -- | Not Used | ||||||||
P | DK GRN | 392 | Rear Window Washer Pump - Control | P | DK GRN | 392 | Rear Window Washer Pump - Control | ||||||||
R | -- | -- | Not Used | R | -- | -- | Not Used | ||||||||
S | GRY | 391 | Rear Window Wiper Switch Signal | S | GRY | 391 | Rear Window Wiper Switch Signal | ||||||||
| |||||||||||||||
|---|---|---|---|---|---|---|---|---|---|---|---|---|---|---|---|
Connector Part Information |
| Connector Part Information |
| ||||||||||||
Pin | Wire Color | Circuit No. | Function | Pin | Wire Color | Circuit No. | Function | ||||||||
A | ORN | 640 | Battery Positive Voltage | A | ORN | 640 | Battery Positive Voltage | ||||||||
B | GRY | 90 | Right Mirror Motor Left Control | B | GRY | 90 | Right Mirror Motor Left Control | ||||||||
C | DK GRN | 117 | Right Front Speaker Output | C | DK GRN | 117 | Right Front Speaker Output | ||||||||
D | YEL | 343 | Voltage Accessory | D | YEL | 343 | Voltage Accessory | ||||||||
E | LT BLU | 166 | Power Window Master Switch Right Front Up Signal | E | LT BLU | 166 | Power Window Master Switch Right Front Up Signal | ||||||||
F | TAN | 167 | Power Window Master Switch Right Front Down Signal | F | TAN | 167 | Power Window Master Switch Right Front Down Signal | ||||||||
G | LT BLU | 195 | Door Lock Control | G | LT BLU | 195 | Door Lock Control | ||||||||
H | WHT | 194 | Door Unlock Control | H | WHT | 194 | Door Unlock Control | ||||||||
J | TAN | 294 | Door Lock Actuator Unlock Control | J | TAN | 294 | Door Lock Actuator Unlock Control | ||||||||
K | GRY | 295 | Door Lock Actuator Lock Control | K | GRY | 295 | Door Lock Actuator Lock Control | ||||||||
L | -- | -- | Not Used | L | -- | -- | Not Used | ||||||||
M | LT GRN | 200 | Right Front Speaker Output | M | LT GRN | 200 | Right Front Speaker Output | ||||||||
N | PPL/WHT | 889 | Right Mirror Motor Down Control | N | PPL/WHT | 889 | Right Mirror Motor Down Control | ||||||||
P | YEL | 1496 | Right Mirror Motor Up Control | P | YEL | 1496 | Right Mirror Motor Up Control | ||||||||
R | BLK | 1050 | Ground | R | BLK | 1050 | Ground | ||||||||
S | BRN | 9 | Park Lamp Supply Voltage | S | BRN | 9 | Park Lamp Supply Voltage | ||||||||
| |||||||||||||||
|---|---|---|---|---|---|---|---|---|---|---|---|---|---|---|---|
Connector Part Information |
| Connector Part Information |
| ||||||||||||
Pin | Wire Color | Circuit No. | Function | Pin | Wire Color | Circuit No. | Function | ||||||||
1 | DK BLU | 1926 | Auxiliary Blower Motor Low Speed Control | 1 | DK BLU | 1926 | Auxiliary Blower Motor Low Speed Control | ||||||||
2 | RED | 1925 | Auxiliary Blower Motor Medium Speed Control | 2 | RED | 1925 | Auxiliary Blower Motor Medium Speed Control | ||||||||
3 | WHT | 1924 | Auxiliary Blower Motor High Speed Control | 3 | WHT | 1924 | Auxiliary Blower Motor High Speed Control | ||||||||
| |||||||||||||||
|---|---|---|---|---|---|---|---|---|---|---|---|---|---|---|---|
Connector Part Information |
| Connector Part Information |
| ||||||||||||
Pin | Wire Color | Circuit No. | Function | Pin | Wire Color | Circuit No. | Function | ||||||||
1 | YEL | 1176 | Auxiliary Blower Motor Low Speed Control | 1 | YEL | 1176 | Auxiliary Blower Motor Low Speed Control | ||||||||
2 | LT BLU | 1072 | Auxiliary Blower Motor Medium Speed Control | 2 | LT BLU | 1072 | Auxiliary Blower Motor Medium Speed Control | ||||||||
3 | ORN | 1052 | Auxiliary Blower Motor Supply Voltage | 3 | ORN | 1052 | Auxiliary Blower Motor Supply Voltage | ||||||||
4-5 | -- | -- | Not Used | 4-5 | -- | -- | Not Used | ||||||||
| |||||||
|---|---|---|---|---|---|---|---|
Connector Part Information |
| ||||||
Pin | Wire Color | Circuit No. | Function | ||||
A | PNK | 1839 | Ignition 1 Voltage | ||||
B | RED | 1742 | Battery Positive Voltage | ||||
| |||||||||||||||
|---|---|---|---|---|---|---|---|---|---|---|---|---|---|---|---|
Connector Part Information |
| Connector Part Information |
| ||||||||||||
Pin | Wire Color | Circuit No. | Function | Pin | Wire Color | Circuit No. | Function | ||||||||
A | YEL | 43 | Accessory Voltage | A | YEL | 43 | Accessory Voltage | ||||||||
B | DK BLU | 46 | Right Rear Speaker Output | B | DK BLU | 46 | Right Rear Speaker Output | ||||||||
C | LT BLU | 115 | Right Rear Speaker Output | C | LT BLU | 115 | Right Rear Speaker Output | ||||||||
D | YEL | 116 | Left Rear Speaker Output | D | YEL | 116 | Left Rear Speaker Output | ||||||||
E | BRN | 199 | Left Rear Speaker Output | E | BRN | 199 | Left Rear Speaker Output | ||||||||
F | PNK | 314 | Radio Signal - ON | F | PNK | 314 | Radio Signal - ON (w/ RSA) | ||||||||
G | LT GRN | 1011 | Remote Radio Control Signal | G | LT GRN | 1011 | Remote Radio Control Signal (w/ RSA) | ||||||||
H | PNK | 775 | Liftgate Switch Ajar Input | H | PNK | 775 | Liftgate Switch Ajar Input | ||||||||
J | BLK | 550 | Ground | J | BLK | 550 | Ground | ||||||||
K | -- | -- | Not Used | K | -- | -- | Not Used | ||||||||
| |||||||||||||||
|---|---|---|---|---|---|---|---|---|---|---|---|---|---|---|---|
Connector Part Information |
| Connector Part Information |
| ||||||||||||
Pin | Wire Color | Circuit No. | Function | Pin | Wire Color | Circuit No. | Function | ||||||||
A | ORN | 640 | Battery Positive Voltage | A | ORN | 640 | Battery Positive Voltage | ||||||||
B | GRY | 90 | Right Mirror Motor Left Control | B | GRY | 90 | Right Mirror Motor Left Control | ||||||||
C | GRY | 118 | Left Front Speaker Output | C | GRY | 118 | Left Front Speaker Output | ||||||||
D | YEL | 343 | Accessory Voltage | D | YEL | 343 | Accessory Voltage | ||||||||
E | LT BLU | 166 | Power Window Master Switch - Right Front Up Signal | E | LT BLU | 166 | Power Window Master Switch - Right Front Up Signal | ||||||||
F | TAN | 167 | Power Window Master Switch - Right Front Down Signal | F | TAN | 167 | Power Window Master Switch - Right Front Down Signal | ||||||||
G | LT BLU | 195 | Door Lock Control | G | LT BLU | 195 | Door Lock Control | ||||||||
H | WHT | 194 | Door Unlock Control | H | WHT | 194 | Door Unlock Control | ||||||||
J | TAN | 294 | Door Lock Actuator Unlock Control (w/ RKE) | J | TAN | 294 | Door Lock Actuator Unlock Control (w/ RKE) | ||||||||
TAN | 694 | Driver Door Lock Actuator Unlock Control (w/o RKE) | TAN | 694 | Driver Door Lock Actuator Unlock Control (w/o RKE) | ||||||||||
K | GRY | 295 | Door Lock Actuator Lock Control | K | GRY | 295 | Door Lock Actuator Lock Control | ||||||||
L | ORN | 1740 | Battery Positive Voltage | L | ORN | 1740 | Battery Positive Voltage | ||||||||
M | TAN | 201 | Left Front Speaker Output (+) | M | TAN | 201 | Left Front Speaker Output (+) | ||||||||
N | PPL/WHT | 889 | Right Mirror Motor Down Control | N | PPL/WHT | 889 | Right Mirror Motor Down Control | ||||||||
P | YEL | 1496 | Mirror Motor Right Up Control | P | YEL | 1496 | Mirror Motor Right Up Control | ||||||||
YEL | 1496 | Mirror Motor Right Up Control | |||||||||||||
R | BLK | 750 | Ground | R | BLK | 750 | Ground | ||||||||
S | BRN | 9 | Park Lamp Supply Voltage | S | BRN | 9 | Park Lamp Supply Voltage | ||||||||
|
| ||||||||||||||
|---|---|---|---|---|---|---|---|---|---|---|---|---|---|---|---|
Connector Part Information |
| Connector Part Information |
| ||||||||||||
Pin | Wire Color | Circuit No. | Function | Pin | Wire Color | Circuit No. | Function | ||||||||
A | WHT | 156 | Courtesy Lamp Switch Signal | A | BLK | 156 | Courtesy Lamp Switch Signal | ||||||||
B | ORN | 1732 | Courtesy Lamp Supply Voltage | B | RED | 1732 | Courtesy Lamp Supply Voltage | ||||||||
C | ORN | 1732 | Courtesy Lamp Supply Voltage | C | ORN | 1732 | Courtesy Lamp Supply Voltage | ||||||||
D | BLK | 1350 | Ground | D | PPL/YEL | 1350 | Ground | ||||||||
|
| ||||||||||||||
|---|---|---|---|---|---|---|---|---|---|---|---|---|---|---|---|
Connector Part Information |
| Connector Part Information |
| ||||||||||||
Pin | Wire Color | Circuit No. | Function | Pin | Wire Color | Circuit No. | Function | ||||||||
A | PPL/WHT | 1382 | LED Dimming Signal | A | RED | 15 | LED Dimming Signal | ||||||||
B | GRY | 8 | Instrument Panel Lamp Supply Voltage - 1 | B | ORN | 25 | Instrument Panel Lamp Supply Voltage - 1 | ||||||||
C | DK GRN/ WHT | 817 | Vehicle Speed Signal | C | GRN | 35 | Vehicle Speed Signal | ||||||||
D | LT GRN/BLK | 735 | Ambient Air Temperature Sensor Signal | D | PPL/YEL | 45 | Ambient Air Temperature Sensor Signal | ||||||||
E | YEL | 43 | Accessory Voltage | E | BLK | 55 | Accessory Voltage | ||||||||
F | BLK | 550 | Ground | F | WHT | 65 | Ground | ||||||||
G | -- | -- | Not Used | G | -- | -- | Not Used | ||||||||
H | YEL | 1127 | Trip Computer/NAV Class 2 Serial Data | H | LT BLU | 75 | Trip Computer/NAV Class 2 Serial Data | ||||||||
|
| ||||||||||||||
|---|---|---|---|---|---|---|---|---|---|---|---|---|---|---|---|
Connector Part Information |
| Connector Part Information |
| ||||||||||||
Pin | Wire Color | Circuit No. | Function | Pin | Wire Color | Circuit No. | Function | ||||||||
A | BLK | 750 | Ground | A | BLK | 750 | Ground | ||||||||
B | ORN | 540 | Battery Positive Voltage | B | ORN | 540 | Battery Positive Voltage | ||||||||
| |||||||||||||||
|---|---|---|---|---|---|---|---|---|---|---|---|---|---|---|---|
Connector Part Information |
| Connector Part Information |
| ||||||||||||
Pin | Wire Color | Circuit No. | Function | Pin | Wire Color | Circuit No. | Function | ||||||||
A | -- | -- | Not Used | A | -- | -- | Not Used | ||||||||
B | BLK | 1552 | Motor Control A | B | BLK | 1552 | Motor Control A | ||||||||
C | RED | 1553 | Motor Control B | C | RED | 1553 | Motor Control B | ||||||||
| |||||||||||||||
|---|---|---|---|---|---|---|---|---|---|---|---|---|---|---|---|
Connector Part Information |
| Connector Part Information |
| ||||||||||||
Pin | Wire Color | Circuit No. | Function | Pin | Wire Color | Circuit No. | Function | ||||||||
B | YEL | 400 | Signal High - Front | B | YEL | 400 | Signal High - Front | ||||||||
C | PPL | 401 | Signal Low - Front | C | PPL | 401 | Signal Low - Front | ||||||||
E | -- | -- | Not Used | E | -- | -- | Not Used | ||||||||
F | LT BLU | 2221 | Signal High - Rear | F | LT BLU | 2221 | Signal High - Rear | ||||||||
G | DK GRN | 2222 | Rear Vehicle Speed Sensor Return | G | DK GRN | 2222 | Rear Vehicle Speed Sensor Return | ||||||||
|
| ||||||||||||||
|---|---|---|---|---|---|---|---|---|---|---|---|---|---|---|---|
Connector Part Information |
| Connector Part Information |
| ||||||||||||
Pin | Wire Color | Circuit No. | Function | Pin | Wire Color | Circuit No. | Function | ||||||||
A | BLK | 1650 | Ground | A | BLK | 1650 | Ground | ||||||||
B | PPL/WHT | 1589 | Fuel Level Sensor Signal | B | PPL/WHT | 1589 | Fuel Level Sensor Signal | ||||||||
C | BLK/WHT | 470 | Low Reference | C | BLK | 470 | Low Reference | ||||||||
D | GRY | 474 | 5 Volt Reference | D | GRY | 474 | 5 Volt Reference | ||||||||
E | DK GRN | 890 | Fuel Tank Pressure Sensor Signal | E | DK GRN | 890 | Fuel Tank Pressure Sensor Signal | ||||||||
F | BLK | 470 | Low Reference | F | BLK | 470 | Low Reference | ||||||||
G | GRY | 120 | Fuel Pump Supply Voltage | G | GRY | 120 | Fuel Pump Supply Voltage | ||||||||
| |||||||||||||||
|---|---|---|---|---|---|---|---|---|---|---|---|---|---|---|---|
Connector Part Information |
| Connector Part Information |
| ||||||||||||
Pin | Wire Color | Circuit No. | Function | Pin | Wire Color | Circuit No. | Function | ||||||||
A | YEL | 873 | Left Front Wheel Speed Sensor Low Reference | A | YEL | 873 | Left Front Wheel Speed Sensor Low Reference | ||||||||
B | LT BLU | 830 | Left Front Wheel Speed Sensor Signal | B | LT BLU | 830 | Left Front Wheel Speed Sensor Signal | ||||||||
C | TAN | 833 | Right Front Wheel Speed Sensor Low Reference | C | TAN | 833 | Right Front Wheel Speed Sensor Low Reference | ||||||||
D | DK GRN | 872 | Right Front Wheel Speed Sensor Signal | D | DK GRN | 872 | Right Front Wheel Speed Sensor Signal | ||||||||
| |||||||
|---|---|---|---|---|---|---|---|
Connector Part Information |
| ||||||
Pin | Wire Color | Circuit No. | Function | ||||
A | PNK | 1839 | Ignition 1 Voltage | ||||
B | RED | 1742 | Battery Positive Voltage | ||||
C | BLK | 1150 | Ground | ||||
D-F | -- | -- | Not Used | ||||
| |||||||||||||||
|---|---|---|---|---|---|---|---|---|---|---|---|---|---|---|---|
Connector Part Information |
| Connector Part Information |
| ||||||||||||
Pin | Wire Color | Circuit No. | Function | Pin | Wire Color | Circuit No. | Function | ||||||||
A | BLK | 1350 | Ground | A | BLK | 1350 | Ground | ||||||||
B | YEL | 656 | Liftgate Courtesy Lamp Control | B | YEL | 656 | Liftgate Courtesy Lamp Control | ||||||||
|
| ||||||||||||||
|---|---|---|---|---|---|---|---|---|---|---|---|---|---|---|---|
Connector Part Information |
| Connector Part Information |
| ||||||||||||
Pin | Wire Color | Circuit No. | Function | Pin | Wire Color | Circuit No. | Function | ||||||||
A | LT GRN | 24 | Back-up Lamp Supply Voltage | A | LT GRN | 24 | Back-up Lamp Supply Voltage | ||||||||
B-C | -- | -- | Not Used | B-C | -- | -- | Not Used | ||||||||
D | BLK | 150 | Ground | D | BLK | 550 | Ground | ||||||||
|
| ||||||||||||||
|---|---|---|---|---|---|---|---|---|---|---|---|---|---|---|---|
Connector Part Information |
| Connector Part Information |
| ||||||||||||
Pin | Wire Color | Circuit No. | Function | Pin | Wire Color | Circuit No. | Function | ||||||||
A | ORN | 1732 | Courtesy Lamps Supply Voltage | A | ORN | 1732 | Courtesy Lamps Supply Voltage | ||||||||
B | WHT | 156 | Courtesy Lamp Switch Signal | B | WHT | 156 | Courtesy Lamp Switch Signal | ||||||||
C | -- | -- | Not Used | C | -- | -- | Not Used | ||||||||