GM Service Manual Online
For 1990-2009 cars only

If your vehicle has plastic wheel nut caps, loosen them by turning the wheel wrench counterclockwise. The wheel nut caps are designed to remain with the center cap. Remove the center cap.

If the wheel has a smooth center piece, place the chisel end of the wheel wrench in the slot on the wheel and gently pry it out.

  1. Before you start, block the front and rear of the tire farthest away from the one being changed. Then put your compact spare tire near the flat tire.
  2. Caution: Getting under a vehicle when it is jacked up is dangerous. If the vehicle slips off the jack you could be badly injured or killed. Never get under a vehicle when it is supported only by a jack.

    Caution: Raising your vehicle with the jack improperly positioned can damage the vehicle and even make the vehicle fall. To help avoid personal injury and vehicle damage, be sure to fit the jack lift head into the proper location before raising the vehicle.

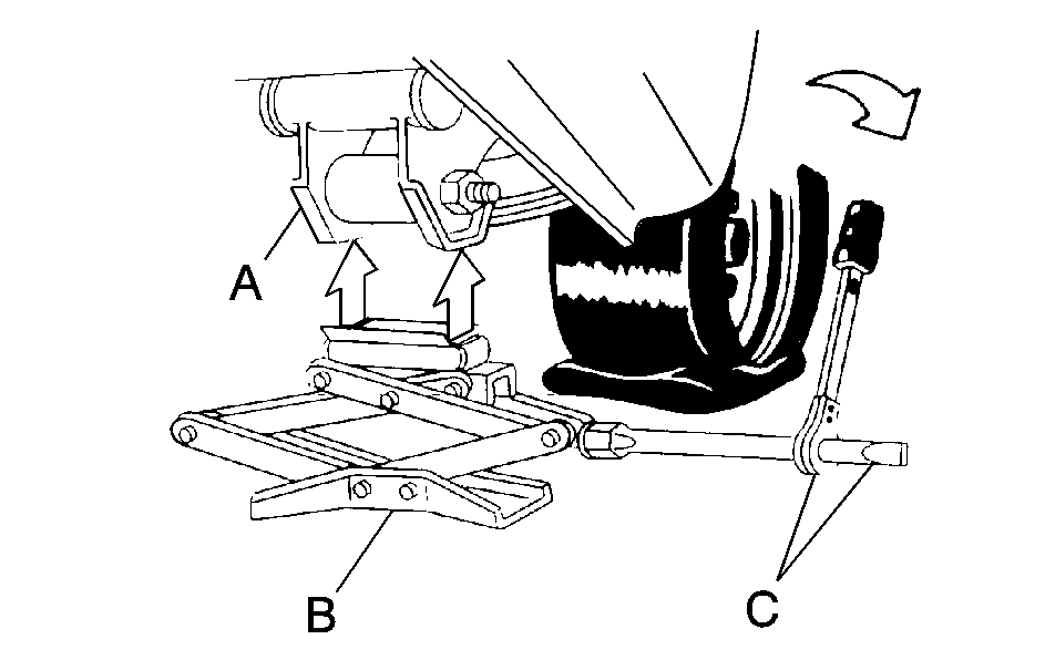
  3. With the DOWN side facing you, turn the ratchet and socket to loosen all the wheel nuts counterclockwise. Don't remove them yet.
  4. Attach the socket end of the extension to the jack bolt.

  5. Object Number: 811598  Size: B3
  6. Attach the ratchet to the extension with the UP side facing you.
  7. Turn the ratchet clockwise. That will raise the jack lift head a little.

  8. Object Number: 811873  Size: B3
  9. Position the jack under the vehicle. Use the above diagram to locate the general positions for placing the jack.
    1. Front Position


      Object Number: 811881  Size: B3

      Front Jack Location

      Jack

      Ratchet and Extension

      Rear Position


      Object Number: 811882  Size: B3

      Rear Jack Location

      Jack

      Ratchet and Extension


    Object Number: 811875  Size: B3
  10. Raise the vehicle by turning the ratchet clockwise. Make sure the UP mark faces you. Raise the vehicle far enough off the ground so there is enough room for the compact spare tire to fit underneath the wheel well.
  11. Remove all the wheel nuts and take off the flat tire.
  12. Caution: Rust or dirt on a wheel or other parts to which it is fastened, can make the wheel nuts become loose and eventually the wheel could come off and cause a crash. Always remove all rust and dirt from wheels and other parts.


    Object Number: 811105  Size: A2

    Remove any rust or dirt from the wheel bolts, mounting surfaces and spare wheel.

    Caution: Never use oil or grease on bolts or nuts because the nuts might come loose. The vehicle's wheel could fall off, causing a crash.

  13. Put on the compact spare tire on the mounting surface.
  14. Put the nuts on by hand. Make sure the cone-shaped end is toward the wheel. Tighten each nut by hand until the wheel is held against the hub. If a nut cannot be turned by hand, use the extension and see your dealer as soon as possible.

  15. Object Number: 811877  Size: B3
  16. Lower the vehicle by turning the ratchet counterclockwise. Lower the jack completely.
  17. Caution: Incorrect or improperly tightened wheel nuts can cause the wheel to come loose and even come off. This could lead to a crash. If you have to replace them, be sure to get new original equipment wheel nuts. Stop somewhere as soon as you can and have the nuts tightened with a torque wrench to the proper torque specification. See Capacities and Specifications for wheel nut torque specification.

    Notice: Improperly tightened wheel nuts can lead to brake pulsation and rotor damage. To avoid expensive brake repairs, evenly tighten the wheel nuts in the proper sequence and to the proper torque specification. See Capacities and Specifications for the wheel nut torque specification.


    Object Number: 808015  Size: A2
  18. Tighten the wheel nuts firmly in a crisscross sequence as shown. Turn the ratchet clockwise with the UP mark facing you.
  19. Remove the wheel blocks.

Notice: Wheel covers will not fit on your vehicle's compact spare. If you try to put a wheel cover on the compact spare, the cover or the spare could be damaged.

Do not try to put a wheel cover, center cap, or lug nut caps on your compact spare tire. They will not fit. Store the wheel cover, center cap, or lug nut caps in the trunk until you have the flat tire repaired or replaced.