GM Service Manual Online
For 1990-2009 cars only
Makes
🢒
Chevrolet
🢒
1997
🢒
Astro - 4WD
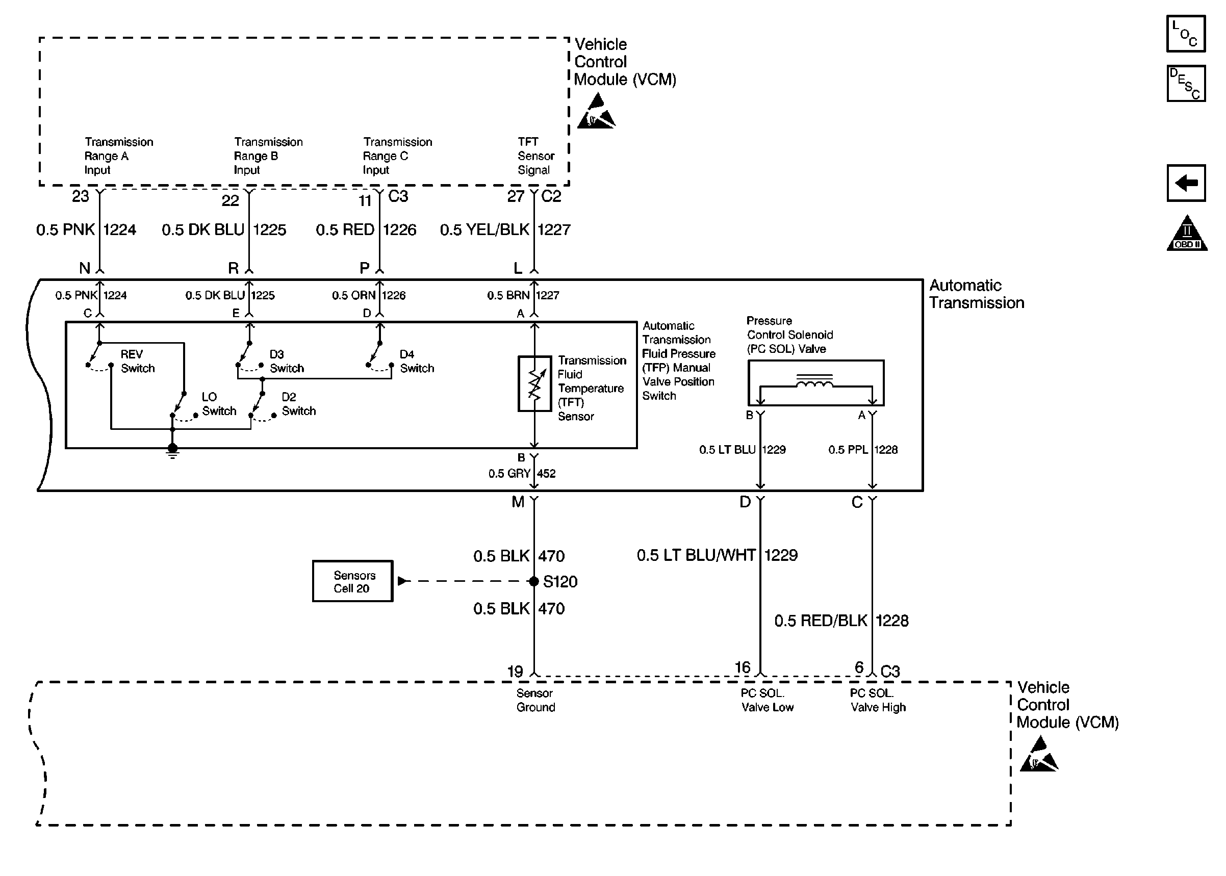
🢒 Transmission Switch Input controls
Transmission Switch Input controls
Transmission Switch Input controls
Automatic Transmission Components
Four Wheel Drive Inputs
OBD II ICON