GM Service Manual Online
For 1990-2009 cars only
Makes
🢒
Chevrolet
🢒
1998
🢒
Astro - 4WD
🢒
Body and Accessories
🢒
Stationary Windows
🢒 Defogger Schematics
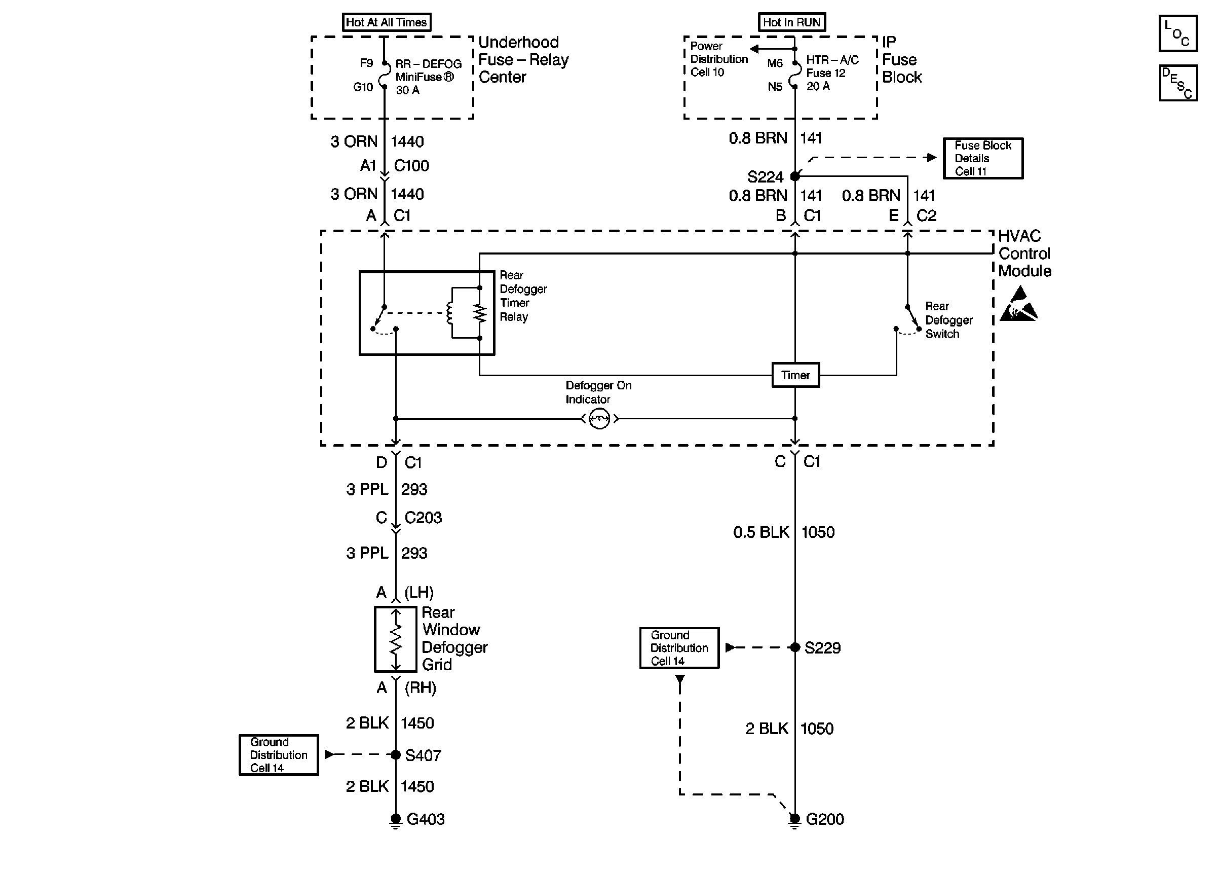
Cell 61 Defogger
Stationary Windows Components
Rear Window Defogger Circuit Description
Ground Distribution Schematics
Ground Distribution Schematics
Fuse Block Schematics
Power Distribution Schematics
Handling ESD Sensitive Parts Notice