GM Service Manual Online
For 1990-2009 cars only
Makes
🢒
Chevrolet
🢒
1998
🢒
Astro - 4WD
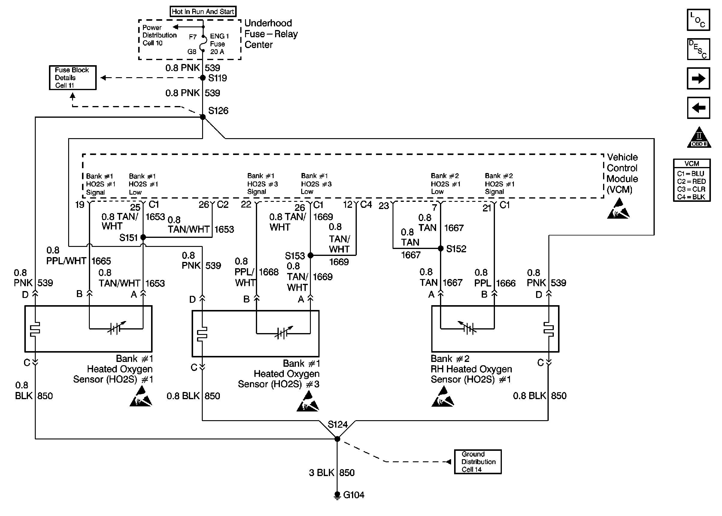
🢒 Oxygen Sensor
Oxygen Sensor
Oxygen Sensors
Engine Controls Components
Information Sensors/Switches Description
Speed and Cruise Controls
Emission Controls
Engine Controls Schematic Icons
Engine Controls Schematic Icons
Engine Controls Schematic Icons
Engine Controls Schematic Icons
Engine Controls Schematic Icons