GM Service Manual Online
For 1990-2009 cars only

Object Number: 562131  Size: MF
Transfer Case Control Components
Transfer Case Control Schematics

Circuit Description

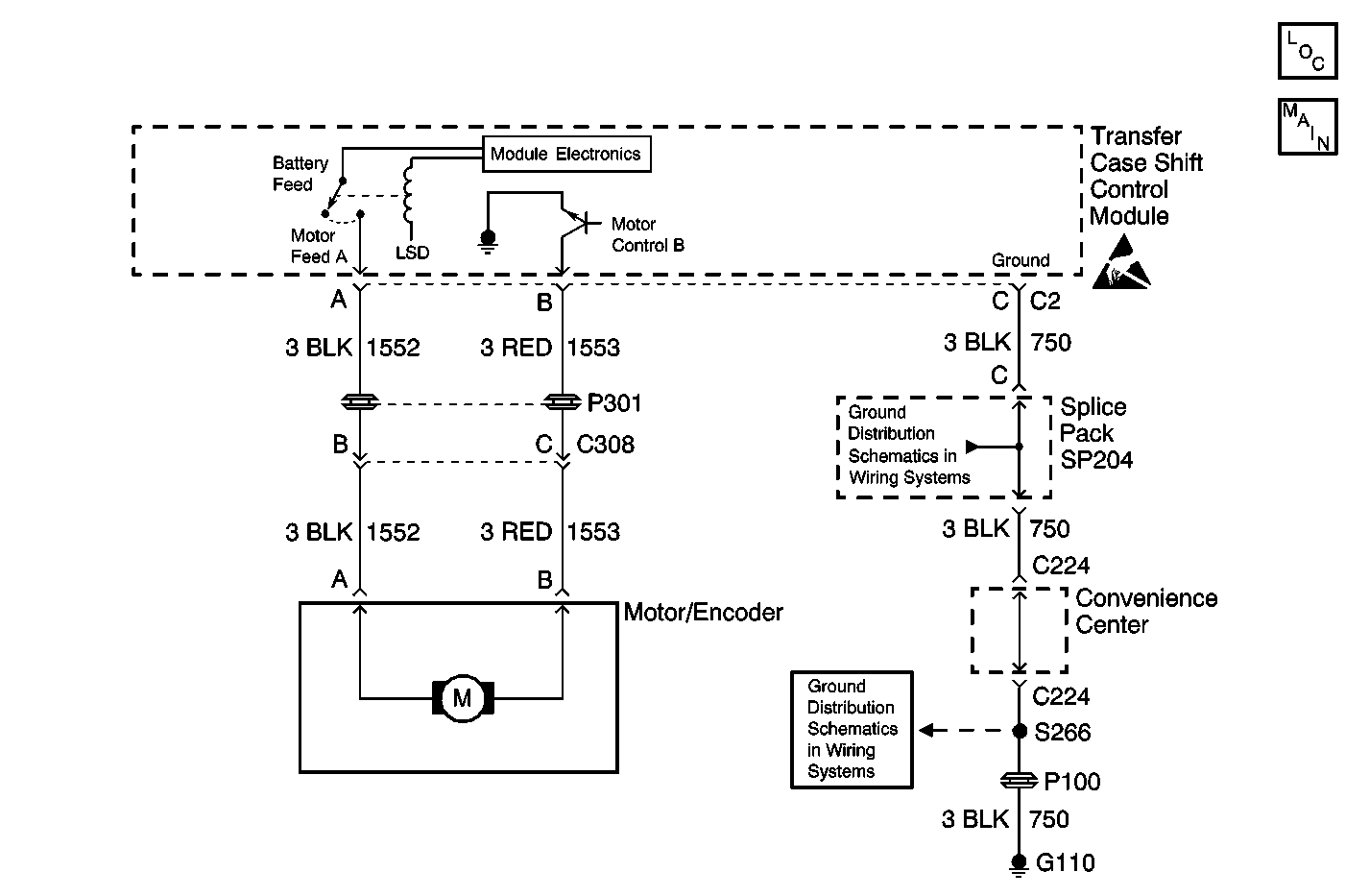
The transfer case encoder motor is a permanent magnet DC motor and gear reduction assembly. The encoder motor is controlled with a pulse width modulated (PWM) circuit within the transfer case shift control module. This circuit consists of a power supply relay (Motor Feed A) circuit that supplies voltage to the motor. The Motor Control B circuit is a PWM driver that varies the duty cycle to control the amount of current through the motor to ground.

This DTC detects a short to power on the Motor Feed A circuit or the Motor Control B circuit.

Conditions for Setting the DTC

    • The system will test the motor circuits by checking for unwanted voltage.
    • The system supplies voltage on the Motor A circuit and reads the voltage back on the Motor B circuit.
    • The transfer case shift control module senses a high voltage return on the Motor Feed A circuit or the Motor Control B circuit when a low voltage is expected.
    • If the system detects a problem with the circuits, the DTC is logged.

Action Taken When the DTC Sets

    • All clutch activation (slip control) will be disabled.
    • The SERVICE indicator (AWD/4WD) lamp will be latched ON for the remainder of the current ignition cycle.

Conditions for Clearing the DTC

    • The transfer case shift control module will clear the DTC if the condition for setting the DTC no longer exists.
    • A history DTC will clear after 100 consecutive ignition cycles without a fault present.
    • History DTCs can be cleared using a scan tool.

Test Description

The numbers below refer to the step numbers on the diagnostic table.

  1. Tests the motor circuit for a current malfunction.

  2. Tests Motor Feed A for an open or short to voltage.

  3. Tests Motor Control B for an open or short to voltage.

  4. Tests for continuity across the motor windings.

DTC C0309 Motor A/B Circuit High

Step

Action

Value(s)

Yes

No

1

Was the Transfer Case Diagnostic System Check performed?

--

Go to Step 2

Go to Diagnostic System Check

2

  1. Install a scan tool.
  2. Turn ON the ignition, with the engine OFF.
  3. With the scan tool, command both Motor A and Motor B ON and OFF.

Does the Encoder Motor turn ON and OFF?

--

Go to Testing for Intermittent Conditions and Poor Connections

Go to Step 3

3

  1. Turn OFF the ignition.
  2. Disconnect the encoder motor.
  3. Disconnect the transfer case shift control module.
  4. Turn ON the ignition, with the engine OFF.
  5. Test Motor Feed A for an open or short to voltage. Refer to Circuit Testing and Wiring Repairs in Wiring Systems.

Was the condition found and corrected?

--

Go to Step 8

Go to Step 4

4

Test Motor Control B for an open or short to voltage. Refer to Circuit Testing and Wiring Repairs in Wiring Systems.

Was the condition found and corrected?

--

Go to Step 8

Go to Step 5

5

Test for continuity across the motor circuit.

Was there continuity?

--

Go to Step 7

Go to Step 6

6

Replace the encoder motor. Refer to Motor/Encoder Replacement .

Is the repair complete?

--

Go to Step 8

--

7

Replace the transfer case shift control module. Refer to Transfer Case Shift Control Module Replacement .

Is the repair complete?

--

Go to Step 8

--

8

  1. Use the scan tool in order to clear the DTCs.
  2. Operate the vehicle within the Conditions for Running the DTC as specified in the supporting text.

Does the DTC reset?

--

Go to Step 2

System OK