GM Service Manual Online
For 1990-2009 cars only
Makes
🢒
Chevrolet
🢒
2001
🢒
Astro - 4WD
🢒
HVAC
🢒
HVAC Systems - Manual
🢒 Transfer Case Control Component Views
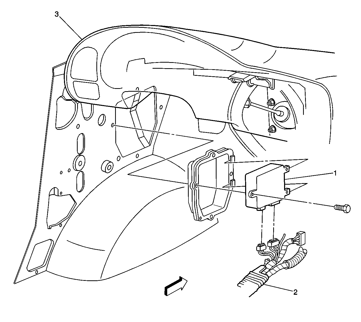
Figure
1:
Transfer Case Control Module Locator View
(1)
Transfer Case Shift Control Module
(2)
Transfer Case Wiring Harness
(3)
Dash
Figure
2:
A4WD Transfer Case Locator View
(1)
Propshaft Speed Sensor - Rear
(2)
Transfer Case Encoder Motor Connector
(3)
Vehicle Speed Sensor
(4)
Propshaft Speed Sensor - Front
(5)
Transfer Case
(6)
P301