GM Service Manual Online
For 1990-2009 cars only
Makes
🢒
Chevrolet
🢒
2001
🢒
Astro - 4WD
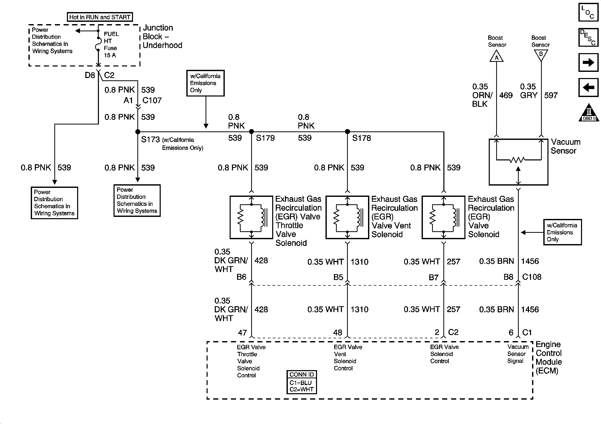
🢒 Engine Data Sensors - EGR and Vacuum - California Emissions Only
Engine Data Sensors - EGR and Vacuum - California Emissions Only
Engine Data Sensors - EGR and Vacuum - California Emissions Only
Master Electrical Component List
Engine Control Module Description
Engine Data Sensors - Pedal Position
Engine Data Sensors - Pressure and Temperature
OBD II Symbol Description Notice
IGNITION, RUN, and START Bus Bar
Engine Data Sensors - Pressure and Temperature
IGN 1 Relay, ECM I, FUEL HT, ENG 1, IGN E, ECMRPV, and INJ B Fuses - Diesel
IGN 1 Relay, ECM I, FUEL HT, ENG 1, IGN E, ECMRPV, and INJ B Fuses - Diesel