GM Service Manual Online
For 1990-2009 cars only
Makes
🢒
Chevrolet
🢒
2001
🢒
Astro - 4WD
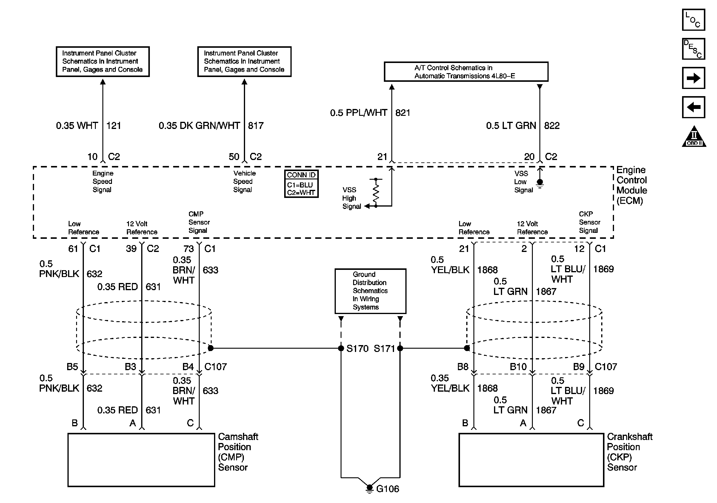
🢒 Engine Data Sensors - VSS and Injection Timing Controls
Engine Data Sensors - VSS and Injection Timing Controls
Engine Data Sensors - VSS and Injection Timing Controls
Master Electrical Component List
Engine Control Module Description
Engine Data Sensors - Glow Plug Controls - All Except California Emissions
Engine Data Sensors - Pedal Position
OBD II Symbol Description Notice
Gauges, VSS, and Engine Oil Signals
Gauges, VSS, and Engine Oil Signals
Vehicle Speed Signal and 4WD Low Signal
G106 - Diesel