GM Service Manual Online
For 1990-2009 cars only

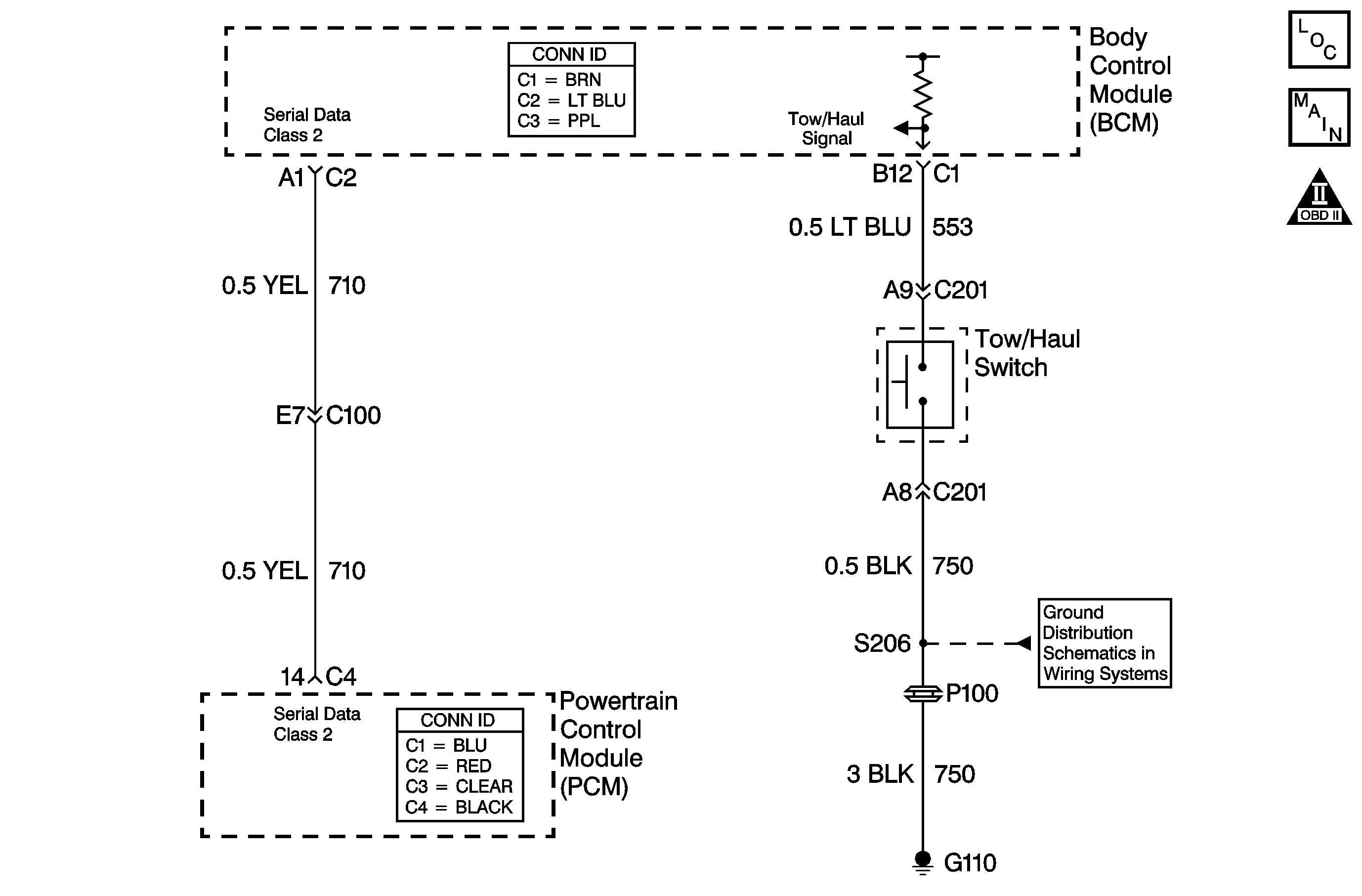
Object Number: 773488  Size: MF
Master Electrical Component List
Automatic Transmission Controls Schematics
OBD II Symbol Description Notice

Circuit Description

Tow/Haul mode enables the operator to achieve enhanced shift performance when towing or hauling a load. When tow/haul is selected, the tow/haul switch input signal to the body control module (BCM) is momentarily toggled to zero volts. The BCM sends a serial data message to the powertrain control module (PCM) and instrument panel controller (IPC). The PCM extends the length of time between upshifts, increases transmission line pressure and the IPC illuminates the tow/haul indicator lamp. Cycling the tow/haul switch again disables the tow/haul mode and returns the transmission to a normal shift pattern.

Conditions for Running the DTC

    • The battery voltage must be between 9.0-16.0 volts.
    • Ignition switch in the RUN position.
    • The Tow/Haul switch must be activated.

Conditions for Setting the DTC

When the signal circuit of the Tow/Haul switch is shorted to ground for approximately 3 minutes.

When the Tow/Haul switch is activated (stuck) for approximately 3 minutes.

Action Taken When the DTC Sets

Tow/Haul mode will be inoperative.

Conditions for Clearing the MIL/DTC

    • This DTC will clear on current status after the condition for setting the fault is corrected.
    • A history DTC will clear after 100 consecutive ignition cycles without a fault present.
    • History and current DTC(s) can be cleared using a Scan Tool .

Diagnostic Aids

    • Perform a visual inspection for loose or poor connections at all related components.
    • Refer to Testing for Intermittent Conditions and Poor Connections in Wiring Systems.

Test Description

The number(s) below refer to the step number(s) on the diagnostic table.

  1. The normal state is the state of the input before activation.

  2. The normal state is the state of the input before activation.

  3. After replacement of the BCM you must calibrate the new module for proper operation.

Step

Action

Value(s)

Yes

No

1

Did you perform the Powertrain Diagnostic System Check?

--

Go to Step 2

Go to Diagnostic System Check - Engine Controls in Engine Controls

2

  1. Install a Scan Tool .
  2. Turn ON the ignition, with the engine OFF.
  3. With the Scan Tool , observe the Transmission Preference parameter.
  4. Activate the Tow/Haul switch.

Does the Transmission Preference parameter change states?

ON/OFF

Go to Diagnostic Aids

Go to Step 3

3

  1. Turn OFF the ignition.
  2. Disconnect the Tow/Haul switch.
  3. Turn ON the ignition, with the engine OFF.
  4. With a Scan Tool , observe the Transmission Preference parameter.

Does the Scan Tool display OFF?

ON/OFF

Go to Step 6

Go to Step 4

4

Test the signal circuit of the Tow/Haul switch for a short to ground.

Refer to Circuit Testing and Wiring Repairs in Wiring Systems.

Did you find and correct the condition?

--

Go to Step 9

Go to Step 5

5

Inspect for poor connections at the harness connector of the BCM.

Refer to Testing for Intermittent Conditions and Poor Connections and Connector Repairs in Wiring Systems.

Did you find and correct the condition?

--

Go to Step 9

Go to Step 7

6

Inspect for poor connections at the harness connector of the Tow/Haul switch.

Refer to Testing for Intermittent Conditions and Poor Connections and Connector Repairs in Wiring Systems.

Did you find and correct the condition?

--

Go to Step 9

Go to Step 8

7

  1. Replace the body control module (BCM).
  2. Refer to Body Control Module Replacement in Body Control System.

  3. Program the BCM with the proper calibrations.
  4. Refer to Body Control Module (BCM) Programming/RPO Configuration in Body Control System.

  5. Perform the learn procedure.

Did you complete the replacement?

--

Go to Step 9

--

8

Replace the Tow/Haul switch.

Refer to Shift Lever Replacement - On Vehicle in Steering Wheel and Column - Tilt.

Did you complete the replacement?

--

Go to Step 9

--

9

  1. Use the Scan Tool in order to clear the DTCs.
  2. Operate the vehicle within the Conditions for Running the DTC as specified in the supporting text.

Does the DTC reset?

--

Go to Step 1

System OK