GM Service Manual Online
For 1990-2009 cars only
Makes
🢒
Chevrolet
🢒
2002
🢒
Astro - 4WD
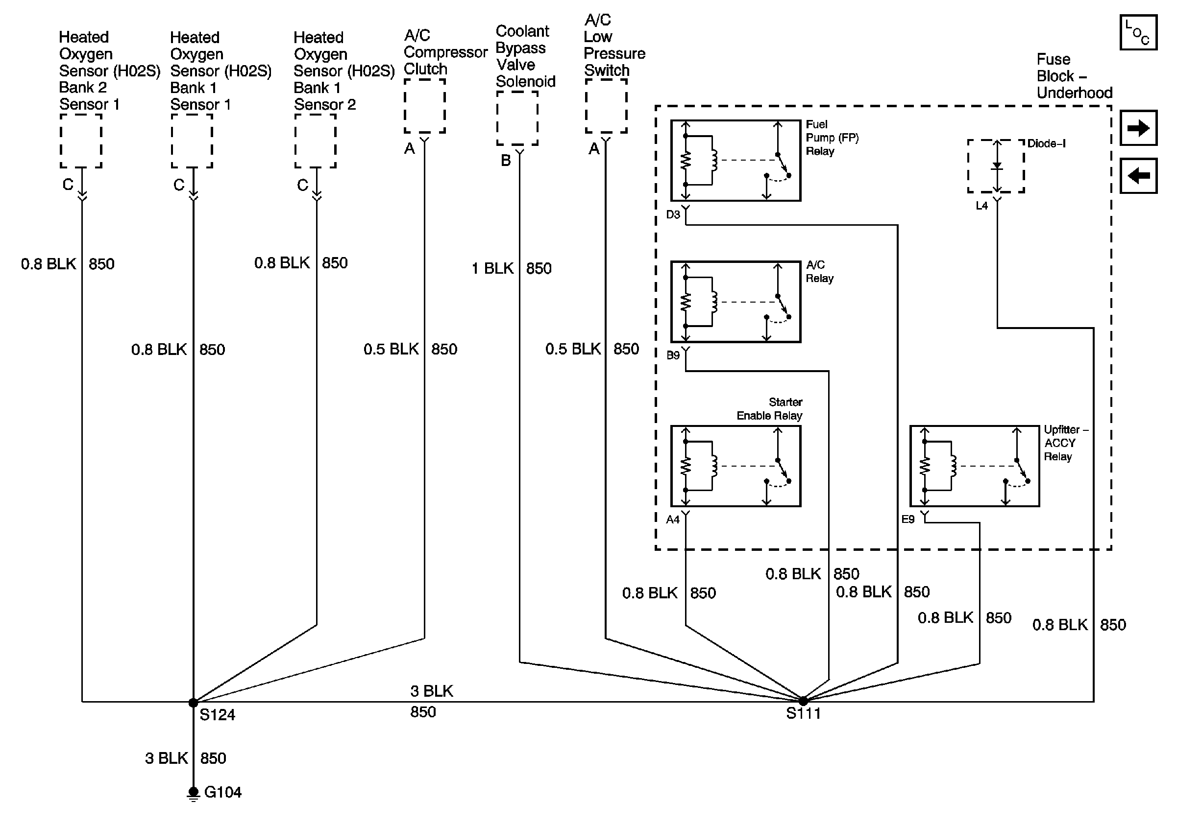
🢒 G104
G104
G104
Master Electrical Component List
G105, and G107
G100, G106, and G302