GM Service Manual Online
For 1990-2009 cars only
Makes
🢒
Chevrolet
🢒
2003
🢒
Astro - 4WD
🢒
Driveline/Axle
🢒
Transfer Case - NVG 136-NP4
🢒 Transfer Case Control Schematics
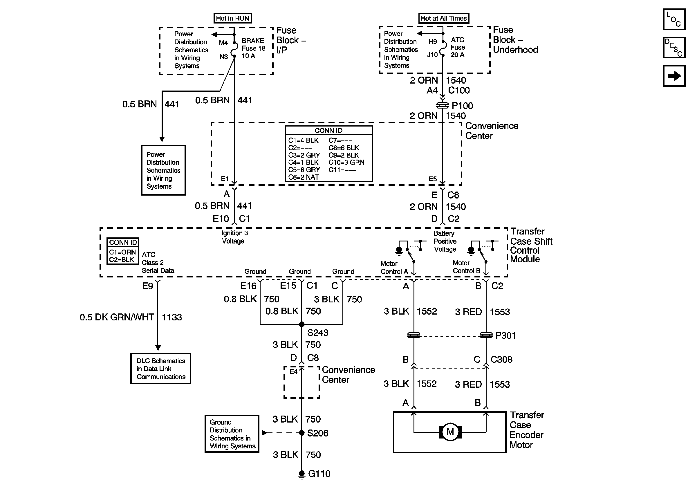
Figure
1:
Power, Ground, DLC, Transfer Case Encoder Motor
Master Electrical Component List
Transfer Case Description and Operation
Propshaft Speed Sensors
IGN ACC and RUN
Battery and Fuse Block - Underhood
HTR-A/C, Brake, and Cruise Fuses
Data Link Connector (DLC)
G110 (1 of 2)
Figure
2:
Propshaft Speed Sensors
Master Electrical Component List
Transfer Case Description and Operation
Power, Ground, DLC, Transfer Case Encoder Motor
Transfer Case Control Schematic Icons
Transfer Case Control Schematic Icons
Transfer Case Control Schematic Icons
Transfer Case Control Schematic Icons