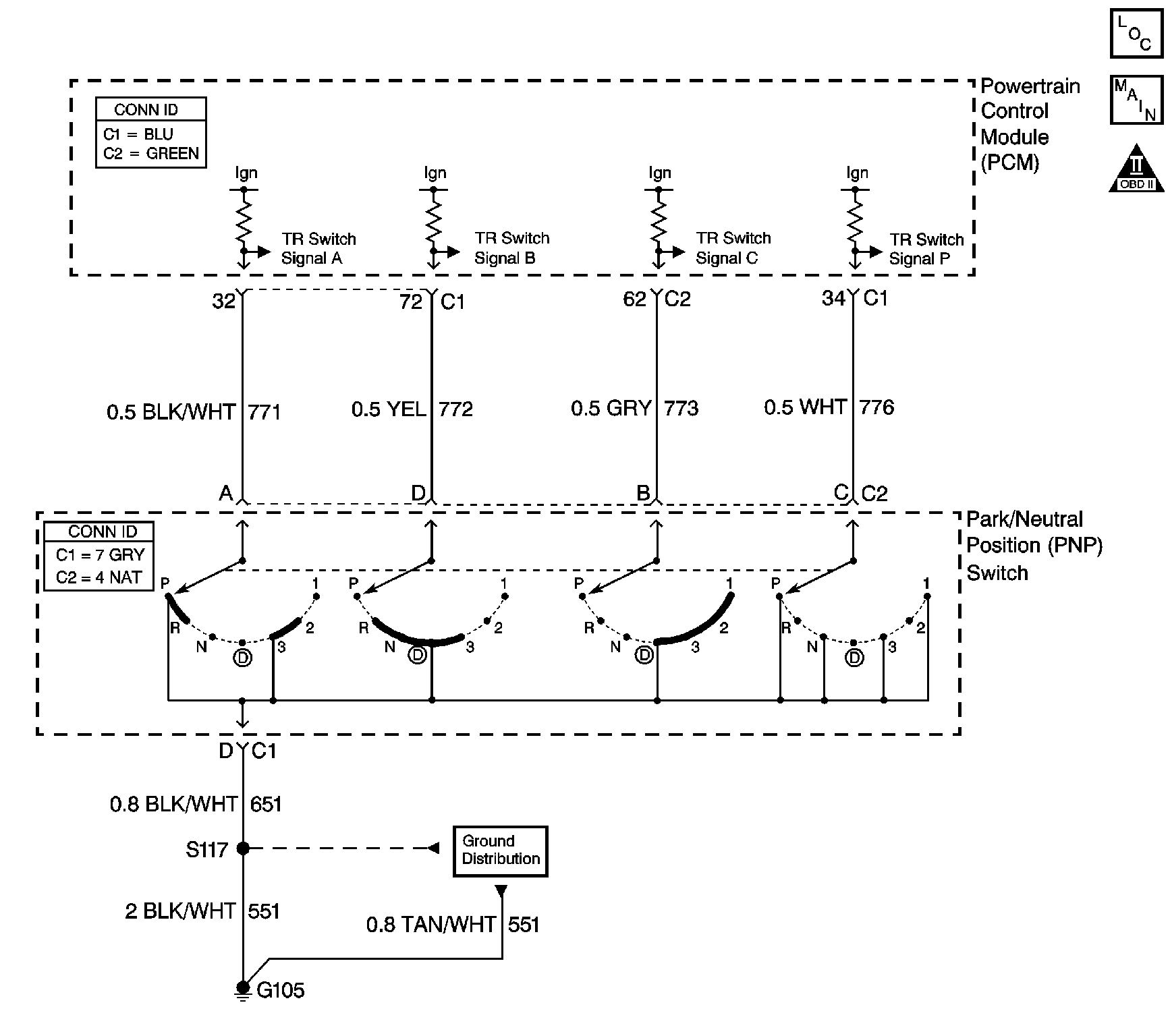
The transmission range (TR) switch is part of the park/neutral position and back-up lamp switch assembly and is externally mounted on the transmission manual shaft. The TR switch is a multi-signal switch. The PCM supplies ignition voltage to the TR switch on four signal circuits, A, B, C, and P. Each gear selector lever position grounds one or more of the switch circuits. In order to determine the gear range selected by the driver, the PCM compares the voltage combinations on the signal circuits to a look up table stored in the PCM memory. PCM detects the selected gear range by the state change of the switch input. Refer to Transmission Range Switch Logic table.
Switch input to the PCM is represented on the scan tool as HI and Low. HI indicates an ignition voltage signal. Low indicates a zero voltage signal. The four parameters represent transmission range switch signal A, B, C and Parity.
DTC P0706 will set if the PCM detects start-up in a drive range or vehicle speed in the PARK or NEUTRAL range. DTC P0706 is a type C DTC.
| • | Transmission is in D4. |
| • | System voltage is 6-18 volts. |
The PCM detects DRIVE or REVERSE at vehicle start-up.
The PCM detects PARK or NEUTRAL and the following conditions occur for 10 seconds:
| • | TP is 5 percent or greater. |
| • | Engine torque is greater than 68 N·m (50 lb ft). |
| • | VSS is 32 km/h (20 mph) or greater. |
| • | The PCM will use TFP Switch to determine gear range. |
| • | The PCM does not illuminate the malfunction indicator lamp (MIL). |
| • | The PCM records the operating conditions when the Conditions for Setting the DTC are met. The PCM stores this information as Failure Records. |
| • | The PCM stores DTC P0706 in PCM history. |
| • | A scan tool can clear the DTC. |
| • | The PCM clears the DTC from PCM history if the vehicle completes 40 warm-up cycles without a non-emission related diagnostic fault occurring. |
| • | The PCM cancels the DTC default actions when the fault no longer exists and the DTC passes. |
The numbers below refer to the step numbers on the diagnostic table.
By disconnecting the transmission range switch, the ground path of all TR switch circuits would be removed and the PCM would recognize all circuits as open. The scan tool will display HI for all range signals.
This step tests TR switch wiring for an open or the lack of the signal voltage from the PCM.
This step tests TR switch wiring and the PCM by providing a ground path through a fused jumper wire. When grounded, the scan tool range signal A should change to LOW.
This step tests TR switch wiring and the PCM by providing a ground path through a fused jumper wire. When grounded, the scan tool range signal B should change to LOW.
This step tests TR switch wiring and the PCM by providing a ground path through a fused jumper wire. When grounded, the scan tool range signal C should change to LOW.
Step | Action | Value(s) | Yes | No | ||||||||||||||
|---|---|---|---|---|---|---|---|---|---|---|---|---|---|---|---|---|---|---|
1 | Did you perform the Powertrain Diagnostic System Check? | -- | Go to Step 2 | Go to Diagnostic System Check - Engine Controls in Engine Controls | ||||||||||||||
2 |
Does each selected transmission range match the scan tool TR Sw. display? | -- | Go to Intermittent Conditions in Engine Controls | Go to Step 3 | ||||||||||||||
3 |
Did you find and correct a condition? | -- | Go to Step 16 | Go to Step 4 | ||||||||||||||
4 | With the scan tool, observe the TR Sw. A/B/C/P display. Does the scan tool TR Sw. A/B/C/P parameter indicate HI for all range signal states? | -- | Go to Step 13 | Go to Step 5 | ||||||||||||||
Does the scan tool TR Sw. A/B/C/P parameter indicate HI for all range signal states? | -- | Go to Step 6 | Go to Step 10 | |||||||||||||||
Does the voltage measure within the specified value at all four terminals? | 10-12 V | Go to Step 7 | Go to Step 11 | |||||||||||||||
Connect a fused jumper wire from terminal D of the TR switch 4-way connector, signal A circuit, to ground while monitoring the scan tool TR Sw. A/B/C/P parameter. When the signal A circuit (CKT 771) is grounded, do any other signal circuits indicate LOW? | -- | Go to Step 12 | Go to Step 8 | |||||||||||||||
Connect a fused jumper wire from terminal B of the TR switch 4-way connector, signal B circuit, to ground while monitoring the scan tool TR Sw. A/B/C/P parameter. When the signal B circuit (CKT 772) is grounded, do any other signal circuits indicate LOW? | -- | Go to Step 12 | Go to Step 9 | |||||||||||||||
Connect a fused jumper wire from terminal C of the TR switch 4-way connector, signal C circuit, to ground while monitoring the scan tool TR Sw. A/B/C/P parameter. When the signal C circuit (CKT 773) is grounded, do any other signal circuits indicate LOW? | -- | Go to Step 12 | Go to Step 14 | |||||||||||||||
10 | Test the signal circuit or circuits, CKTs 771, 772, 773 and 776, of the TR switch that did not indicate HI for a short to ground. Refer to Testing for Short to Ground and Wiring Repairs in Wiring Systems. Did you find and correct the condition? | -- | Go to Step 16 | Go to Step 15 | ||||||||||||||
11 | Test the signal circuit or circuits, CKTs 771, 772, 773 and 776, of the TR switch that did not indicate proper voltage for an open. Refer to Testing for Continuity and Wiring Repairs in Wiring Systems. Did you find and correct the condition? | -- | Go to Step 16 | Go to Step 15 | ||||||||||||||
12 | Test the affected signal circuits of the TR switch for a shorted together condition. Refer to Circuit Testing and Wiring Repairs in Wiring Systems. Did you find and correct the condition? | -- | Go to Step 16 | Go to Step 15 | ||||||||||||||
13 | Test the ground circuit (CKT 651/551) of the TR switch for an open. Refer to Testing for Continuity and Wiring Repairs in Wiring Systems. Did you find and correct the condition? | -- | Go to Step 16 | Go to Step 14 | ||||||||||||||
14 | Replace the TR switch, this switch is part of the park/neutral position (PNP) switch. Refer to Park/Neutral Position Switch Replacement . Did you complete the replacement? | -- | Go to Step 16 | -- | ||||||||||||||
15 | Replace the PCM. Refer to Powertrain Control Module Replacement in Engine Controls Did you complete the replacement? | -- | Go to Step 16 | -- | ||||||||||||||
16 | Perform the following procedures in order to verify the repair:
Has the test run and passed? | -- | Go to Step 17 | Go to Step 2 | ||||||||||||||
17 | With the scan tool, observe the stored information, capture info, and DTC Info. Does the scan tool display any DTCs that you have not diagnosed? | -- | Go to Diagnostic Trouble Code (DTC) List in Engine Controls | System OK |