GM Service Manual Online
For 1990-2009 cars only

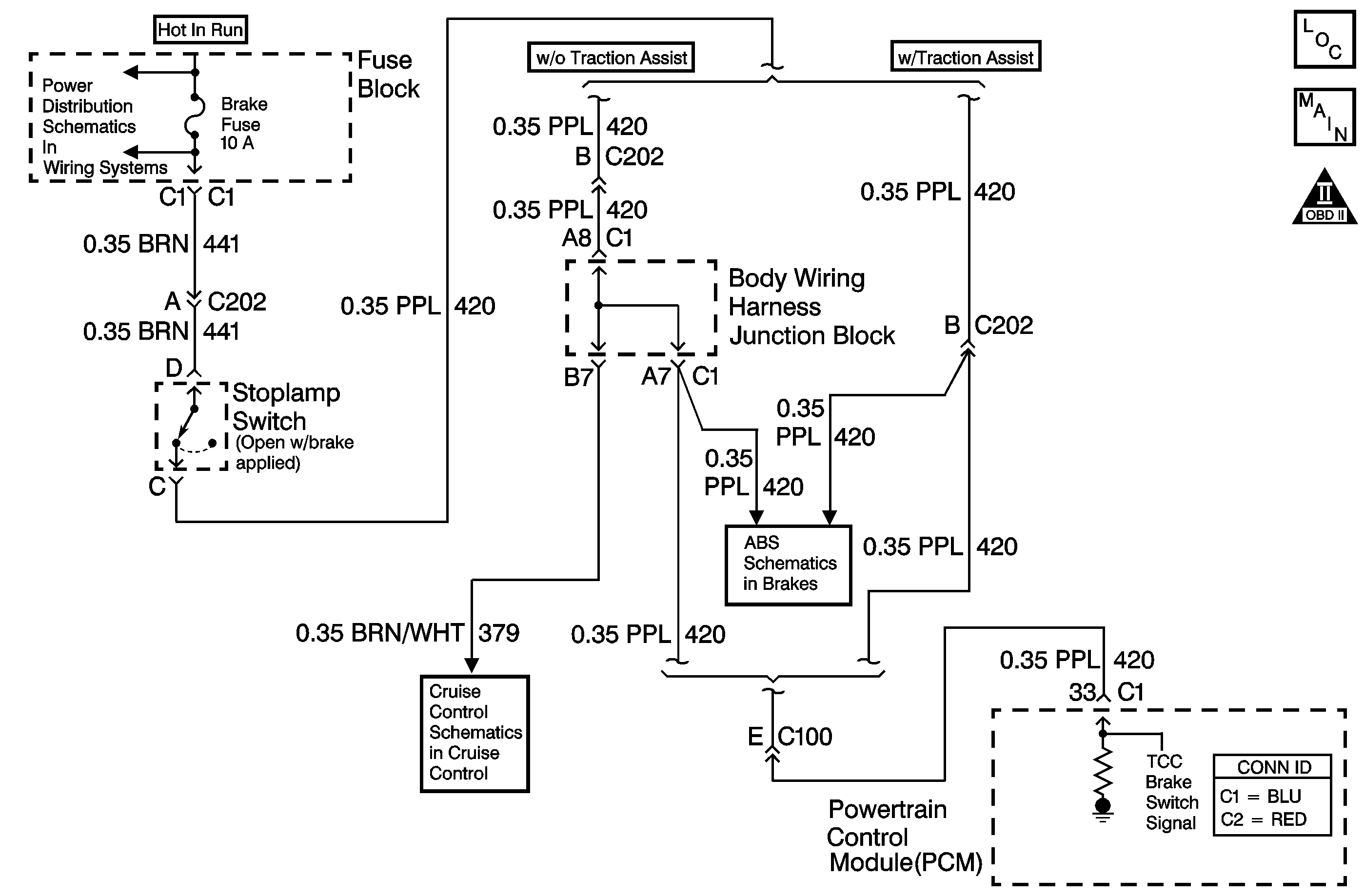
Object Number: 651684  Size: MF
Master Electrical Component List
Automatic Transmission Controls Schematics
OBD II Symbol Description Notice

Circuit Description

The TCC/Stop lamp switch indicates the brake pedal status. The normally closed brake switch supplies a B+ signal to the powertrain control module (PCM). The signal voltage circuit opens when the brakes are applied.

If the PCM detects a closed TCC/Stop lamp switch during decelerations, then DTC P0724 sets. DTC P0724 is a type C DTC.

Conditions for Running the DTC

    • No AT VSS DTC P0502 or P0503.
    • The following sequence of events occurs 10 consecutive times:
        1. The vehicle speed is greater than 40 km/h (25 mph) for 7 seconds.
        2. Then the vehicle speed is 8-40 km/h (5-25 mph) for 2.5 seconds.
        3. Then the vehicle speed is less than 8 km/h (5 mph).

Conditions for Setting the DTC

    • All conditions are met for 10 occurrences.
    • The PCM detects a closed TCC/Stop lamp switch circuit, 12 volts, during decelerations.

Action Taken When the DTC Sets

    • The PCM does not illuminate the malfunction indicator lamp (MIL).
    • The PCM records the operating conditions when the Conditions for Setting the DTC are met. The PCM stores this information as Failure Records.
    • The PCM stores DTC P0724 in PCM history.

Conditions for Clearing the DTC

    • A scan tool clears the DTC from PCM history.
    • The PCM clears the DTC from PCM history if the vehicle completes 40 warm-up cycles without a non-emission related diagnostic fault occurring.
    • The PCM cancels the DTC default actions when the fault no longer exists and the ignition switch is OFF long enough in order to power down the PCM.

Diagnostic Aids

Inspect the brake switch for proper mounting and operation.

Test Description

The numbers below refer to the step numbers on the diagnostic table.

  1. This step isolates the TCC/Stop lamp switch as a source for setting the DTC.

Step

Action

Value(s)

Yes

No

1

Did you perform the Powertrain Diagnostic System Check?

--

Go to Step 2

Go to Diagnostic System Check - Engine Controls in Engine Controls - 6.0L or Diagnostic System Check - Engine Controls in Engine Controls - 8.1L

2

  1. Install a scan tool.
  2. Turn ON the ignition, with the engine OFF.
  3. Important: Before clearing the DTCs, use the scan tool in order to record the Failure Records. Using the Clear Info Function erases the Failure Records from the PCM.

  4. Record the Failure Records.
  5. Clear the DTCs.
  6. Caution: When you are performing service on or near the SIR components or the SIR wiring, you must disable the SIR system. Refer to Disabling the SIR System. Failure to follow the correct procedure could cause air bag deployment, personal injury, or unnecessary SIR system repairs.

  7. Select TCC Brake Switch on the scan tool.
  8. Do not apply the brake pedal.
  9. With the brake pedal not applied, note the TCC brake switch status.
  10. Apply the brake pedal.

Did the TCC/Brake Switch status change from CLOSED to OPEN?

--

Go to Intermittent Conditions in Engine Controls - 6.0L or Intermittent Conditions in Engine Controls - 8.1L

Go to Step 3

3

  1. Turn OFF the ignition.
  2. Disconnect the TCC/Stop lamp switch connector from the stop lamp switch.
  3. Turn ON the ignition, with the engine OFF.

Did the TCC/Stop lamp switch status change from CLOSED to OPEN?

--

Go to Step 4

Go to Step 5

4

Replace the stop lamp switch.

Refer to Stop Lamp Switch Replacement in Hydraulic Brakes.

Did you complete the replacement?

--

Go to Step 7

--

5

Important: The condition that affects this circuit may exist in other connecting branches of the circuit. Refer to Power Distribution Schematics in Wiring Systems for complete circuit distribution.

Test the TCC brake switch (CKT 420) for a short to voltage.

Did you find and correct the condition?

--

Go to Step 7

Go to Step 6

6

Replace the PCM.

Refer to Powertrain Control Module Replacement in Engine Controls - 6.0L or Powertrain Control Module Replacement in Engine Controls - 8.1L.

Did you complete the replacement?

--

Go to Step 7

--

7

Perform the following procedure in order to verify the repair:

  1. Select DTC.
  2. Select Clear Info.
  3. Operate the vehicle brake pedal so that for a total of 2 consecutive times the PCM sees the brake switch CLOSED and then OPEN, for greater than two seconds.

Does the scan tool TCC/Stop lamp switch status change from CLOSED to OPEN?

--

System OK

Go to Step 1