GM Service Manual Online
For 1990-2009 cars only

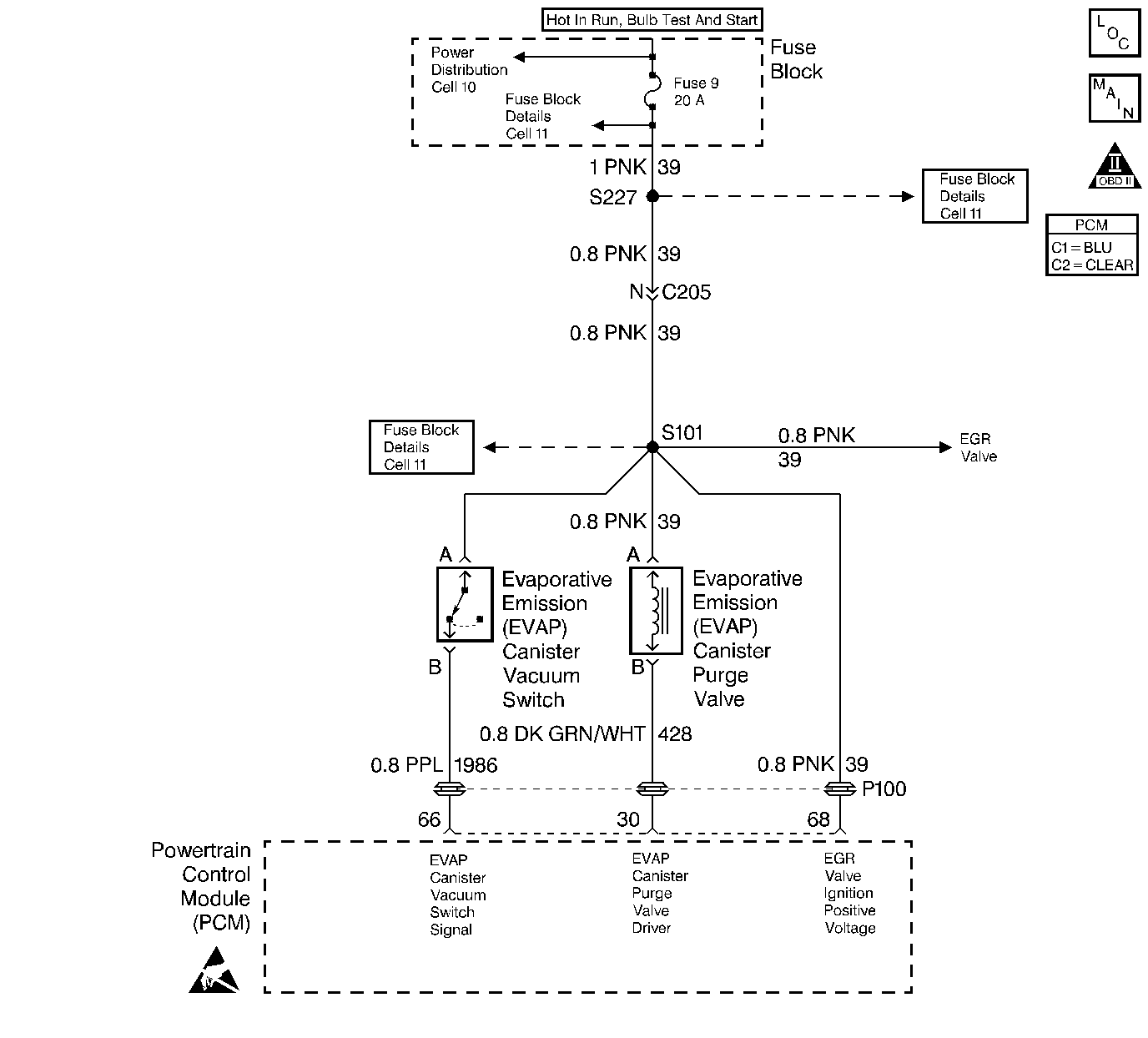
Object Number: 30365  Size: LF
Engine Controls Components
MAF Sensor, EVAP Canister Vacuum Switch, EVAP Canister Purge Valve, and EGR Valve
OBD II Symbol Description Notice
Handling ESD Sensitive Parts Notice

Circuit Description

Canister purge is controlled by a solenoid valve that allows manifold vacuum to purge the canister. The Powertrain Control Module (PCM) supplies a ground to energize the solenoid valve (purge ON). The EVAP purge solenoid control is Pulse Width Modulated (PWM) or turned ON and OFF several times a second. The duty cycle (pulse width) is determined by engine operating conditions including load, throttle position, coolant temperature and ambient temperature. The duty cycle is calculated by the PCM and the output is commanded when the appropriate conditions have been met.

The EVAP purge vacuum switch is a normally closed switch positioned in the purge line between the canister and the EVAP purge solenoid. The EVAP purge vacuum switch will open when vacuum increases to greater than 5 inches of water in the purge line. The PCM monitors the EVAP purge vacuum switch signal to determine if the evaporative emission control system is working properly. If the switch is open when sufficient vacuum should not be present, DTC P1442 will be set.

Conditions for Setting the DTC

    • No active TP sensor, IAT sensor, MAP sensor, or Output Driver DTC(s) set.
    • Intake Air Temperature is between 0°C (32°F) and 70°C (158°F).
    • The EVAP purge vacuum switch is open during key ON (before the engine is cranked).

Action Taken When the DTC Sets

    • The PCM will illuminate the malfunction indicator lamp (MIL) during the second consecutive trip in which the diagnostic test has been run and failed.
    • The PCM will store conditions which were present when the DTC set as Freeze Frame and Failure Records data.

Conditions for Clearing the MIL/DTC

    • The PCM will turn OFF the MIL during the third consecutive trip in which the diagnostic has been run and passed.
    • The History DTC will clear after 40 consecutive warm-up cycles have occurred without a malfunction.
    • The DTC can be cleared by using the scan tool.

Diagnostic Aids

Check for the following conditions:

    • Poor connection at PCM. Inspect harness connectors for backed out terminals, improper mating, broken locks, improperly formed or damaged terminals, and poor terminal to wire connection.
    • Damaged harness. Inspect the wiring harness for damage. If the harness appears to be OK, observe the EVAP vacuum switch display on the scan tool while moving connectors and wiring harnesses related to the sensor. A change in the display will indicate the location of the fault.

Reviewing the Fail Records vehicle mileage since the diagnostic test last failed may help determine how often the condition that caused the DTC to be set occurs. This may assist in diagnosing the condition.

Test Description

Number(s) below refer to the step number(s) on the Diagnostic Chart.

  1. The canister purge vacuum switch is normally closed when no vacuum (purge) is present. With the key ON and the engine OFF, there should not be any vacuum (purge) present in the EVAP system.

  2. Checks if the PCM is able to control the EVAP purge solenoid valve.

  3. Checks if the DTC will set under the conditions present when the DTC was originally stored. If not, the fault is intermittent.

DTC P1442 - EVAP Vacuum Switch Circuit

Step

Action

Value(s)

Yes

No

1

Was the Powertrain On-Board Diagnostic System Check performed?

--

Go to Step 2

Go to Powertrain OBD System Check

2

With the ignition ON, engine not running, observe EVAP Vacuum Sw. display on the scan tool Engine 1 data list.

Does EVAP Vacuum Sw. display Closed?

--

Go to Step 3

Go to Step 4

3

  1. Ignition ON, engine OFF.
  2. Review and record scan tool Fail Records data.
  3. Operate vehicle within Fail Records conditions as noted.
  4. Using a scan tool, monitor STATUS THIS IGN for DTC P1442?

Does scan tool indicate DTC P1442 failed?

--

Go to Step 4

Go to Diagnostic Aids

4

  1. Disconnect the EVAP purge vacuum switch electrical connector.
  2. Connect a jumper between the EVAP purge vacuum switch harness connector terminals.
  3. Observe EVAP Vacuum Sw. display on the scan tool.

Does EVAP Vacuum Sw. display No Purge?

--

Go to Step 6

Go to Step 5

5

  1. Check the following:
  2. • For an open or short to ground in the EVAP vacuum switch signal circuit between the EVAP vacuum switch and the PCM.
    • For an open EVAP vacuum switch ignition feed circuit.
    • For a poor EVAP vacuum switch signal circuit connection at the PCM.
  3. If a problem is found, repair it as necessary. Refer to Repair Procedures in Electrical Diagnosis section 8A.

Was a problem found?

--

Go to Step 11

Go to Step 7

6

  1. Check for poor connection at EVAP vacuum switch
  2. If a problem is found, replace faulty terminal(s) as necessary. Refer to Repair Procedures in Electrical Diagnosis section 8A.

Was a problem found?

--

Go to Step 11

Go to Step 8

7

Replace the PCM.

Important: The replacement PCM must be programmed. Refer to PCM Replacement/Programming.

Is action complete?

--

Go to Step 11

--

8

Replace EVAP vacuum switch.

Is action complete?

--

Go to Step 11

--

11

  1. Clear DTCs.
  2. With the ignition ON, engine not running, observe EVAP Vacuum Sw. display on the scan tool Eng. 2 data list.

Does EVAP Vacuum Sw. display No Purge?

--

Repair complete

Go to Step 2