GM Service Manual Online
For 1990-2009 cars only

Object Number: 30361  Size: SF
Engine Controls Components
Knock Sensor, Instrument Cluster, CMP, CKPs, and Ignition Control Module
OBD II Symbol Description Notice
Handling ESD Sensitive Parts Notice

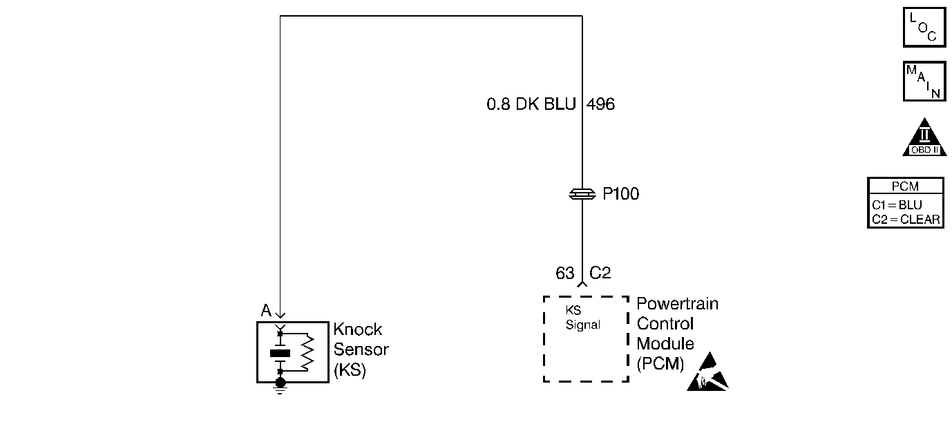
Circuit Description

The knock sensors are used to detect engine detonation, allowing the PCM to retard Ignition Control (IC) spark timing based on the KS signal being received. The knock sensors produce an AC signal which rides on a 5 volts DC signal supplied by the PCM. The signal amplitude and frequency is dependent upon the amount of knock being experienced.

The PCM determines whether knock is occurring by comparing the signal level on the KS circuit with the voltage level on the noise channel. The noise channel allows the PCM to reject any false knock signal by indicating the amount of normal engine mechanical noise present. Normal engine noise varies depending on engine speed and load.

The PCM contains a replaceable Knock Sensor (KS) module. The KS module contains the circuitry that allows the PCM to utilize the KS signal and diagnose the KS sensors and circuitry. If the KS module is missing or faulty causing a continuous knock condition to be indicated, the PCM will set DTC P0325.

Conditions for Setting the DTC

    • No active VSS, TP sensor, ECT sensor DTC(s) set.
    • Engine has been running for at least 5 seconds.
    • Engine coolant temperature is above 65°C (149°F).
    • System voltage is greater than 9 volts.
    • The PCM detects a problem with the KS module circuitry that causes knock to be indicated continuously.
    • Engine speed between 550 and 850 rpm.

Action Taken When the DTC Sets

    • The PCM will not illuminate the malfunction indicator lamp (MIL).
    • The PCM will store conditions which were present when the DTC set as Failure Records data only. This information will not be stored as Freeze Frame data.

Conditions for Clearing the MIL/DTC

    • A History DTC will clear after 40 consecutive warm-up cycles have occurred without a malfunction.
    • The DTC can be cleared by using the scan tool Clear Info function.

Diagnostic Aids

Check for the following conditions:

    • Poor connection at PCM. Inspect KS module connector for backed out terminals, broken locks, and improperly formed or damaged terminals.
    • Damaged or improperly installed KS module. Check for bent pins, deformed terminals, or the KS module not completely seated.

Reviewing the Fail Records vehicle mileage since the diagnostic test last failed may help determine how often the condition that caused the DTC to be set occurs. This may assist in diagnosing the condition.

Test Description

Number(s) below refer to the step number(s) on the Diagnostic Chart.

  1. Checks that the fault is present.

  2. Checks for an improperly installed KS module.

DTC P0325 - KS Module Circuit

Step

Action

Value(s)

Yes

No

1

Was the Powertrain On-Board Diagnostic System Check performed?

--

Go to Step 2

Go to Powertrain OBD System Check

2

Important: If an engine knock can be heard, repair the engine mechanical problem before proceeding with this diagnostic.

  1. Operate engine within conditions specified in diagnostic support Conditions for Setting the DTC.
  2. Using a scan tool, monitor SPECIFIC DTC info for DTC P0325 until the DTC P0325 test runs.

Does scan tool indicate DTC P0325 failed this ign?

--

Go to Step 4

Go to Step 3

3

  1. Ignition ON, engine OFF, review and record scan tool Fail Records data for DTC P0325.
  2. Operate vehicle within Fail Records conditions.
  3. Using a scan tool, monitor SPECIFIC DTC info for DTC P0325 until the DTC P0325 test runs.

Does scan tool indicate DTC P0325 test failed this ign?

--

Go to Step 4

Go to Diagnostic Aids

4

  1. Check the KS signal circuit(s) for incorrect routing near secondary wires.
  2. If a problem is found, repair as necessary.

Was a problem found?

--

Go to Step 8

Go to Step 5

5

  1. Check the KS module for not being fully seated or for incorrect installation.
  2. If a problem is found, repair as necessary.

Was a problem found?

--

Go to Step 8

Go to Step 6

6

  1. Replace the KS module.
  2. Operate engine within conditions specified in diagnostic support Conditions for Setting the DTC.
  3. Using a scan tool, monitor SPECIFIC DTC info for DTC P0325 until the DTC P0325 test runs.

Does scan tool indicate DTC P0325 failed this ign?

--

Go to Step 7

Go to Step 8

7

Replace the PCM.

Important: The replacement PCM must be programmed. Refer to PCM Replacement/Programming.

Is action complete?

--

Go to Step 8

--

8

  1. Review and record Fail Records data
  2. Clear DTCs.
  3. Operate vehicle within Fail Records conditions.
  4. Using a scan tool, monitor SPECIFIC DTC info for DTC P0325 until the DTC P0325 test runs.

Does scan tool indicate DTC P0325 test failed this ign?

--

Go to Step 2

Repair complete