GM Service Manual Online
For 1990-2009 cars only

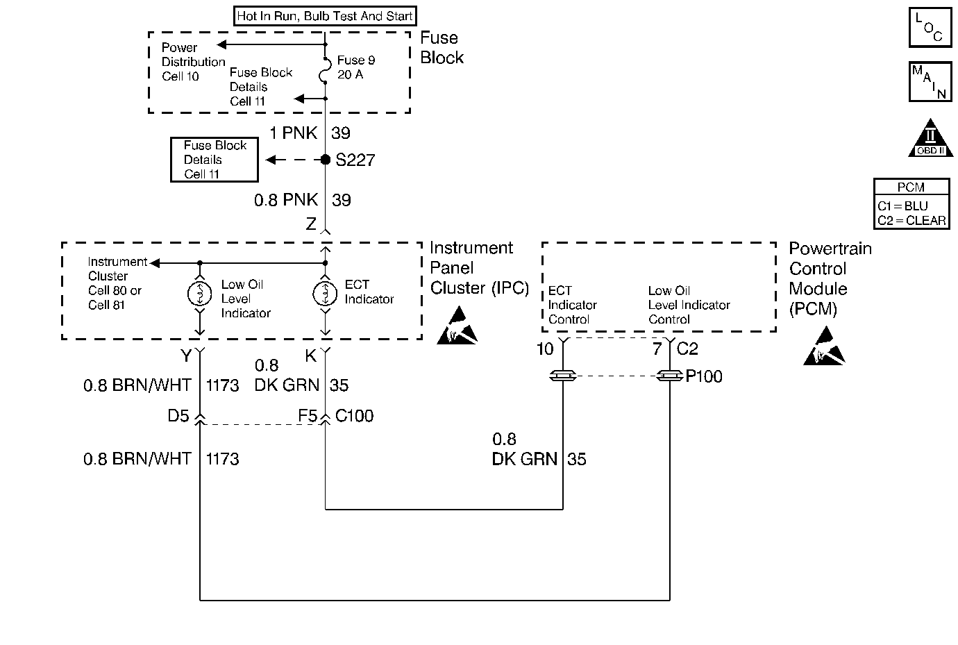
Object Number: 30369  Size: MF
Engine Controls Components
Idle Air Control Valve and Transaxle Range (TR) Switch
OBD II Symbol Description Notice
Handling ESD Sensitive Parts Notice
Handling ESD Sensitive Parts Notice

Circuit Description

The Engine Oil Level Switch is a simple float switch that grounds the Engine Oil Level switch circuit when oil level is OK. The PCM checks the Engine Oil Level switch circuit at start-up. Before checking the state of the Engine Oil Level switch, the PCM performs a test routine based on time and engine coolant temperature to ensure that the engine oil has drained back into the sump. To test for low oil level at start-up, one of the following conditions must be present:

    • If the engine coolant temperature was between 15° (59° ) and 90° C (194° F) at the last key OFF, the engine coolant temperature at key ON must be at least 12° C (22° F) cooler than the engine coolant temperature at the last key OFF.
    • If the engine coolant temperature was higher than 90° C (194° F) at the last key OFF, the time between last key OFF and the present key ON must be sufficient to allow the oil to drain back to the sump. The PCM will remain powered up for 10 seconds to ensure that the oil has drained back to the sump. If the key is turned back ON while the PCM is still powered up, the oil level will not be tested.

The Low Oil Level Lamp will be illuminated for about a minute when the PCM checks for low oil level and the Engine Oil Level switch indicates that a low oil level condition exists (Engine Oil Level switch circuit not grounded). When the ignition is first turned ON, the PCM commands the Low Oil Level lamp ON for a brief period of time to test the bulb.

Conditions for Setting the DTC

    • Ignition is ON.
    • An improper voltage level has been detected on the cruise inhibit output driver circuit.
    • Above conditions for at least 20 seconds.

Action Taken When the DTC Sets

    • The PCM will not illuminate the malfunction indicator lamp (MIL).
    • The PCM will store conditions which were present when the DTC set as Failure Records data only. This information will not be stored as Freeze Frame data.

Conditions for Clearing the MIL/DTC

    • A History DTC will clear after 40 consecutive warm-up cycles have occurred without a malfunction.
    • The DTC can be cleared by using the scan tool Clear Info function.

Diagnostic Aids

For diagnosis of the instrument panel, perform the System Check in the Instrument Cluster section of Electrical Diagnosis.

Check for the following conditions:

    • Poor connection at PCM or oil level sensor. Inspect harness connectors for backed out terminals, improper mating, broken locks, improperly formed or damaged terminals, and poor terminal to wire connection.
    • Damaged harness. Inspect the wiring harness for damage. If the harness appears to be OK, disconnect the PCM and turn the ignition ON. Observe a voltmeter connected to the affected PCM output circuit while moving connectors and wiring harnesses related to the PCM output circuit. A change in voltage will indicate the location of the fault.

Test Description

Number(s) below refer to the step number(s) on the Diagnostic Chart.

  1. Refer to IPC Microprocessor for further diagnostics. This diagnostic only covers inputs to the PCM.

  2. This vehicle is equipped with a PCM which utilizes an Electrically Erasable Programmable Read Only Memory (EEPROM). When the PCM is being replaced, the new PCM must be programmed. Refer to PCM Replacement and Programming Procedures in Powertrain Control Module (PCM) and Sensors.

Low Engine Oil Level Indicator Control Circuit

Step

Action

Value(s)

Yes

No

1

Important: Ensure that engine oil level is not low (as indicated on dipstick) before continuing diagnosis.

Was the Powertrain On-Board Diagnostic (OBD) System Check performed?

--

Go to Step 2

Go to Powertrain OBD System Check

2

  1. Ignition OFF, disconnect the PCM connector.
  2. With a test light to B+, probe the Oil Level Switch signal circuit at the PCM.

Is the test light ON?

--

Go to Step 6

Go to Step 3

3

  1. Ignition OFF, reconnect the PCM.
  2. Ignition ON.
  3. Raise the vehicle.
  4. Disconnect the Oil Level Switch connector.
  5. Connect a DVM to measure voltage between the Oil Level Switch terminals.

Does the DVM display voltage near the specified value?

B+

Go to Step 7

Go to Step 4

4

Connect the DVM between the Oil Level Switch signal circuit and chassis ground.

Does the DVM display a voltage near the specified value?

B+

Go to Step 8

Go to Step 5

5

  1. Check the Oil Level Switch signal circuit for an open.
  2. If a problem is found, repair as necessary. Refer to Repair Procedures in Electrical Diagnosis.

Was a problem found?

--

Go to Step 12

Go to Diagnostic Aids

6

  1. Check for poor terminal connections at the PCM.
  2. If a problem is found, repair as necessary. Refer to Repair Procedures in Electrical Diagnosis.

Was a problem found?

--

Go to Step 12

Go to Step 10

7

  1. Check for poor terminal connections at the Oil Level Switch.
  2. If a problem is found, repair as necessary. Refer to Repair Procedures in Electrical Diagnosis.

Was a problem found?

--

Go to Step 12

Go to Step 9

8

Locate and repair open in the Oil Level Switch ground circuit. Refer to Repair Procedures in Electrical Diagnosis.

Is action complete?

--

Go to Step 12

--

9

Replace the Oil Level Switch.

Is action complete?

--

Go to Step 12

--

10

Refer to Engine Electrical for Instrument Panel Cluster (IPC) Microprocessor for diagnosis

Was A problem found?

--

Go to Step 12

Go to Step 11

11

Replace the PCM.

Important: Replacement PCM must be programmed. Refer to PCM Replacement/Procedure?

Is action complete?

--

Go to Step 12

--

12

Check for proper operation of Indicator light(s). Refer to IPC Diagnosis in section.

Is correct operation indicated?

--

Repair Complete

Go to Step 2