GM Service Manual Online
For 1990-2009 cars only

INFORMATION ON REVISED PROCEDURE

SUBJECT: INFORMATION ON REVISED SERVICE PROCEDURE FOR SERVICING AIR FILTER

MODELS: 1992-95 CHEVROLET AND GMC TRUCK S/T MODELS 1992-94 OLDSMOBILE BRAVADA WITH 4.3L ENGINE (VIN W - RPO L35)

SOME AIR CLEANER COVERS ARE BEING DAMAGED DUE TO IMPROPER SERVICE PROCEDURES.

ATTEMPTS TO REPLACE THE AIR CLEANER AIR FILTER, WITHOUT LIFTING THE ENTIRE ASSEMBLY AWAY FROM THE VEHICLE, CAUSES THE AIR CLEANER COVER AND HOUSING TO MISALIGN. WHEN THE OVERCENTER CLAMP IS REFASTENED, THE COVER CAN CRACK OR BREAK DUE TO THE INTERFERENCE CREATED BY THE MISALIGNMENT.

WHEN AIR CLEANER AIR FILTER SERVICE IS REQUIRED, FOLLOW THE REVISED SERVICE PROCEDURE.

SERVICE PROCEDURE:

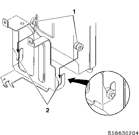
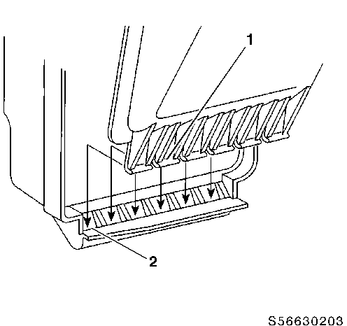
1. REMOVE WING SCREW (FIGURE 1, ITEM 2) FROM END OF QUARTER- WAVE TUNING ASSEMBLY (FIGURE 1, ITEM 1). 2. REMOVE WING SCREW (FIGURE 1, ITEM 5) FROM TOP OF AIR CLEANER (FIGURE 1, ITEM 6). 3. LIFT COMPLETE AIR CLEANER AND QUARTER-WAVE TUNER ASSEMBLY UPWARD. BE CAREFUL NOT TO OVERFLEX THE RUBBER INTAKE DUCT AT THE FRONT OF THE ENGINE (FIGURE 1, ITEM 3). CARE SHOULD ALSO BE TAKEN NOT TO OVEREXTEND THE WIRES CONNECTED TO THE INTAKE AIR TEMPERATURE (IAT) SENSOR (FIGURE 1, ITEM 4). 4. UNLATCH TWO OVERCENTER CLAMPS (FIGURE 2, ITEM 7) ON RIGHT AND LEFT SIDES OF AIR CLEANER. 5. REMOVE AIR CLEANER COVER AND OLD AIR FILTER (FIGURE 2, ITEM 6). 6. INSTALL NEW AIR FILTER. 7. ENSURE THAT THE AIR CLEANER COVER TABS (FIGURE 3, ITEM 1) ARE ALIGNED AND INSERTED IN THE HOUSING WINDOWS (FIGURE 3, ITEM 2) WHEN INSTALLING COVER. CLOSE THE AIR CLEANER AND FASTEN THE TWO OVERCENTER CLAMPS (FIGURE 2, ITEM 7). 8. LOWER AIR CLEANER AND QUARTER-WAVE TUNER ASSEMBLY INTO VEHICLE MAKING SURE THAT THE TWO MOUNTING GROMMETS (FIGURE 4, ITEM 1) SLIDE IN BETWEEN THE APPROPRIATE SLOTS ON THE MOUNTING BRACKET (FIGURE 4, ITEM 2). 9. INSTALL TWO WING SCREWS.

WARRANTY INFORMATION

FOR VEHICLES REPAIRED UNDER WARRANTY, USE:

LABOR OP DESCRIPTION LABOR TIME J5010 FILTER, AIR CLEANER - REPLACE USE PUBLISHED LABOR OPERATION TIME

FIGURES: 4

CAPTIONS: FIGURE 1 - AIR CLEANER ASSEMBLED POSITION FIGURE 2 - AIR CLEANER REPLACEMENT POSITION FIGURE 3 - AIR CLEANER HINGE FEATURE FIGURE 4 - AIR CLEANER MOUNTING BRACKET


Object Number: 88024  Size: MF


Object Number: 88205  Size: MF


Object Number: 94339  Size: MF


Object Number: 94497  Size: MF

GENERAL MOTORS BULLETINS ARE INTENDED FOR USE BY PROFESSIONAL TECHNICIANS, NOT A "DO-IT-YOURSELFER". THEY ARE WRITTEN TO INFORM THOSE TECHNICIANS OF CONDITIONS THAT MAY OCCUR ON SOME VEHICLES, OR TO PROVIDE INFORMATION THAT COULD ASSIST IN THE PROPER SERVICE OF A VEHICLE. PROPERLY TRAINED TECHNICIANS HAVE THE EQUIPMENT, TOOLS, SAFETY INSTRUCTIONS AND KNOW-HOW TO DO A JOB PROPERLY AND SAFELY. IF A CONDITION IS DESCRIBED, DO NOT ASSUME THAT THE BULLETIN APPLIES TO YOUR VEHICLE, OR THAT YOUR VEHICLE WILL HAVE THAT CONDITION. SEE A GENERAL MOTORS DEALER SERVICING YOUR BRAND OF GENERAL MOTORS VEHICLE FOR INFORMATION ON WHETHER YOUR VEHICLE MAY BENEFIT FROM THE INFORMATION.

COPYRIGHT 1995 GENERAL MOTORS CORPORATION. ALL RIGHTS RESERVED.