GM Service Manual Online
For 1990-2009 cars only

CAMPAIGN: S/T EXTENDED CAB PICKUPS AND ZDOOR UTIL.

THE GM OF CANADA VERSION IS LOCATED BELOW THE U.S. VERSION _____________________________________________________________________

REVISION: 03/02/98

PRODUCT CAMPAIGNS 97033(A) FEBRUARY, 1998

IN SEPTEMBER, 1997, ALL DEALERS RECEIVED CAMPAIGN BULLETIN 97033 STATING THAT THIS CAMPAIGN WOULD BE ADMINISTERED IN TWO PHASES DUE TO PARTS AVAILABILITY. PHASE 1 INVOLVED 1996 AND 1997 MODEL YEARS. OWNER LETTERS WERE MAILED ON SEPTEMBER 22, 1997.

PHASE TWO INVOLVES 1994 AND 1995 MODEL YEARS. OWNER LETTERS WILL BE MAILED ON FEBRUARY 27, 1998. _____________________________________________________________________

PRODUCT RECALL CAMPAIGN

PRODUCT SAFETY CAMPAIGN

SUBJECT: 97033(A) - SEAT BELT SEPARATION

MODELS: 1994-1997 S/T EXTENDED CAB PICKUPS AND 2-DOOR UTILITY WITH FRONT RECLINING BUCKET SEATS (AV5) OR 60/40 BENCH SEATS (AM6)

IN SEPTEMBER, 1997, ALL DEALERS RECEIVED CAMPAIGN BULLETIN 97033 STATING THAT THIS CAMPAIGN WOULD BE ADMINISTERED IN TWO PHASES DUE TO PARTS AVAILABILITY. PHASE 1 INVOLVED 1996 AND 1997 MODEL YEARS.

OWNER LETTERS WERE MAILED ON SEPTEMBER 22, 1997.

PHASE TWO INVOLVES 1994 AND 1995 MODEL YEARS. OWNER LETTERS WILL BE MAILED ON FEBRUARY 27, 1998.

THE HIGHWAY SAFETY ACT, AS AMENDED, PROVIDES THAT EACH VEHICLE WHICH IS SUBJECT TO A RECALL CAMPAIGN OF THIS TYPE MUST BE ADEQUATELY REPAIRED WITHIN A REASONABLE TIME AFTER THE CUSTOMER HAS TENDERED IT FOR REPAIR. A FAILURE TO REPAIR WITHIN SIXTY (60) DAYS AFTER TENDER OF A VEHICLE IS PRIMA FACIE EVIDENCE OF FAILURE TO REPAIR WITHIN A REASONABLE TIME.

IF THE CONDITION IS NOT ADEQUATELY REPAIRED WITHIN A REASONABLE TIME, THE CUSTOMER MAY BE ENTITLED TO AN IDENTICAL OR REASONABLY EQUIVALENT VEHICLE AT NO CHARGE OR TO A REFUND OF THE PURCHASE PRICE LESS A REASONABLE ALLOWANCE FOR DEPRECIATION.

TO AVOID HAVING TO PROVIDE THESE BURDENSOME REMEDIES, EVERY EFFORT MUST BE MADE TO PROMPTLY SCHEDULE AN APPOINTMENT WITH EACH CUSTOMER AND TO REPAIR THEIR VEHICLE AS SOON AS POSSIBLE. AS YOU WILL SEE IN READING THE ATTACHED COPY OF THE DIVISIONAL LETTER THAT IS BEING SENT TO CUSTOMERS, THE CUSTOMERS ARE BEING INSTRUCTED TO CONTACT THE APPROPRIATE CUSTOMER ASSISTANCE CENTER IF THEIR DEALER DOES NOT REMEDY THE CONDITION WITHIN FIVE (5) DAYS OF THE MUTUALLY AGREED UPON SERVICE DATE. IF THE CONDITION IS NOT REMEDIED WITHIN A REASONABLE TIME, THEY ARE INSTRUCTED ON HOW TO CONTACT THE NATIONAL HIGHWAY TRAFFIC SAFETY ADMINISTRATION.

DEFECT INVOLVED

GENERAL MOTORS HAS DECIDED THAT A DEFECT WHICH RELATES TO MOTOR VEHICLE SAFETY EXISTS IN CERTAIN 1994-1997 S/T EXTENDED CAB PICKUPS AND 2-DOOR UTILITY VEHICLES EQUIPPED WITH FRONT RECLINING BUCKET SEATS (AV5) OR 60/40 BENCH SEATS (AM6). SOME OF THESE VEHICLES EXHIBIT A CONDITION IN WHICH THE DRIVER'S AND/OR PASSENGER'S FRONT OUTBOARD SEAT BELT WEBBING COULD SEPARATE DURING A FRONTAL IMPACT HAVING AT LEAST THE SAME DYNAMICS AS A 30 MPH FRONTAL BARRIER COLLISION. ALTHOUGH THE RESTRAINT SYSTEM MEETS ALL THE MVSS REQUIREMENTS WITH THE SEPARATION CONDITION, IF A SEPARATION OCCURRED AND THERE WERE SECONDARY CRASH EVENTS OR ROLLOVER, THERE WOULD BE NO BELT RESTRAINT OF THE OCCUPANT AND INCREASED INJURIES COULD OCCUR.

TO PREVENT THE POSSIBILITY OF THIS CONDITION OCCURRING, DEALERS ARE TO INSTALL A PROTECTOR COVER OVER THE RECLINER MECHANISM.

VEHICLES INVOLVED

INVOLVED ARE CERTAIN 1994-1997 S/T EXTENDED CAB PICKUPS AND 2-DOOR UTILITY VEHICLES EQUIPPED WITH FRONT RECLINING BUCKET SEATS (AV5) OR 60/40 BENCH SEATS (AM6), AND BUILT WITHIN THE FOLLOWING VIN BREAKPOINTS:

YEAR DIVISION MODEL PLANT CODE FROM THROUGH

1994 CHEVROLET S/T SHREVEPORT "8" R8100010 R8243059 1994 CHEVROLET S/T LINDEN "K" RK100003 RK183995 1995 CHEVROLET S/T SHREVEPORT "8" S8100009 S8266198 1995 CHEVROLET S/T LINDEN "K" SK100003 SK263007 1995 CHEVROLET S/T MORAINE "2" S2100003 S2229799 1996 CHEVROLET S/T SHREVEPORT "8" T8100001 T8232042 1996 CHEVROLET S/T LINDEN "K" TK100008 TK240986 1997 CHEVROLET S/T SHREVEPORT "8" V8100002 V8199318 1997 CHEVROLET S/T LINDEN "K" VK100002 VK237765 1994 GMC S/T SHREVEPORT "8" R8500040 R8533815 1994 GMC S/T LINDEN " K" RK500002 RK525996 1995 GMC S/T SHREVEPORT "8" S8500004 S8541079 1995 GMC S/T LINDEN "K" SK500002 SK545833 1995 GMC S/T MORAINE "2" S2500001 S2547956 1996 GMC S/T SHREVEPORT "8" T8500001 T8536519 1996 GMC S/T LINDEN "K" TK500005 TK532449 1997 GMC S/T SHREVEPORT "8" V8500004 V8525530 1997 GMC S/T LINDEN "K" VK500004 VK521173

IMPORTANT: DEALERS SHOULD CONFIRM VEHICLE ELIGIBILITY THROUGH VISS (VEHICLE INFORMATION SERVICE SYSTEM) OR SERVICENET (GMC ONLY) PRIOR TO BEGINNING CAMPAIGN REPAIRS. NOT ALL VEHICLES WITHIN THE ABOVE BREAKPOINTS MAY BE INVOLVED

INVOLVED VEHICLES HAVE BEEN IDENTIFIED BY VEHICLE IDENTIFICATION NUMBER. COMPUTER LISTINGS CONTAINING THE COMPLETE VEHICLE IDENTIFICATION NUMBER, CUSTOMER NAME AND ADDRESS DATA HAVE BEEN PREPARED, AND ARE BEING FURNISHED TO INVOLVED DEALERS WITH THE CAMPAIGN BULLETIN. THE CUSTOMER NAME AND ADDRESS DATA FURNISHED WILL ENABLE DEALERS TO FOLLOW-UP WITH CUSTOMERS INVOLVED IN THIS CAMPAIGN. ANY DEALER NOT RECEIVING A COMPUTER LISTING WITH THE CAMPAIGN BULLETIN HAS NO INVOLVED VEHICLES CURRENTLY ASSIGNED.

THESE DEALER LISTINGS MAY CONTAIN CUSTOMER NAMES AND ADDRESSES OBTAINED FROM STATE MOTOR VEHICLE REGISTRATION RECORDS. THE USE OF SUCH MOTOR VEHICLE REGISTRATION DATA FOR ANY OTHER PURPOSE IS A VIOLATION OF LAW IN SEVERAL STATES. ACCORDINGLY, YOU ARE URGED TO LIMIT THE USE OF THIS LISTING TO THE FOLLOW-UP NECESSARY TO COMPLETE THIS CAMPAIGN.

PARTS INFORMATION

IMPORTANT: AN INITIAL SUPPLY OF 1994-1995 PARTS REQUIRED TO COMPLETE THIS CAMPAIGN WILL BE PRE-SHIPPED TO INVOLVED DEALERS OF RECORD. THIS PRE- SHIPMENT WILL OCCUR THE WEEK OF FEBRUARY 23, 1998. PRE-SHIPPED PARTS WILL BE CHARGED TO DEALER'S OPEN PARTS ACCOUNT.

AN INITIAL SUPPLY OF 1996-1997 PARTS REQUIRED TO COMPLETE THIS

CAMPAIGN WAS PRE-SHIPPED TO INVOLVED DEALERS OF RECORD. THIS PRE- SHIPMENT OCCURRED THE WEEK OF SEPTEMBER 15, 1997. PRE-SHIPPED PARTS WERE CHARGED TO DEALER'S OPEN PARTS ACCOUNT.

ADDITIONAL PARTS, IF REQUIRED, ARE TO BE OBTAINED FROM GENERAL MOTORS SERVICE PARTS OPERATIONS (GMSPO). PLEASE REFER TO YOUR "INVOLVED VEHICLES LISTING" PRIOR TO ORDERING REQUIREMENTS. NORMAL ORDERS SHOULD BE PLACED ON A DRO = DAILY REPLENISHMENT ORDER. AN EMERGENCY REQUIREMENT SHOULD BE ORDERED ON A CSO = CUSTOMER SPECIAL ORDER.

PART NUMBER DESCRIPTION QUANTITY/VEHICLE

88880006 CUSHION PAD PROTECTOR KIT (1996-97 MODELS) 1 88880016 CUSHION PAD PROTECTOR KIT (1994-95 MODELS) 1

CUSTOMER NOTIFICATION

CUSTOMERS OF 1996 AND 1997 MODEL YEAR VEHICLES WERE NOTIFIED OF THIS CAMPAIGN ON THEIR VEHICLES BY GENERAL MOTORS THE WEEK OF SEPTEMBER 22, 1997 (SEE COPY OF TYPICAL CUSTOMER LETTER INCLUDED WITH THIS BULLETIN - ACTUAL DIVISIONAL LETTER MAY VARY SLIGHTLY).

CUSTOMERS OF 1994 AND 1995 MODEL YEAR VEHICLES WILL BE NOTIFIED OF THIS CAMPAIGN ON THEIR VEHICLES BY GENERAL MOTORS BEGINNING FEBRUARY 27, 1998.

DEALER CAMPAIGN RESPONSIBILITY

ALL UNSOLD NEW VEHICLES IN DEALERS' POSSESSION AND SUBJECT TO THIS CAMPAIGN MUST BE HELD AND INSPECTED/REPAIRED PER THE SERVICE PROCEDURE OF THIS CAMPAIGN BULLETIN BEFORE CUSTOMERS TAKE POSSESSION OF THESE VEHICLES.

DEALERS ARE TO SERVICE ALL VEHICLES SUBJECT TO THIS CAMPAIGN AT NO CHARGE TO CUSTOMERS, REGARDLESS OF MILEAGE, AGE OF VEHICLE, OR OWNERSHIP, FROM THIS TIME FORWARD.

CUSTOMERS WHO HAVE RECENTLY PURCHASED VEHICLES SOLD FROM YOUR VEHICLE INVENTORY, AND FOR WHICH THERE IS NO CUSTOMER INFORMATION INDICATED ON THE DEALER LISTING, ARE TO BE CONTACTED BY THE DEALER. ARRANGEMENTS ARE TO BE MADE TO MAKE THE REQUIRED CORRECTION ACCORDING TO THE INSTRUCTIONS CONTAINED IN THIS BULLETIN. THIS COULD BE DONE BY MAILING TO SUCH CUSTOMERS A COPY OF THE APPROPRIATE DIVISIONAL CUSTOMER LETTER ACCOMPANYING THIS BULLETIN. CAMPAIGN FOLLOW-UP CARDS SHOULD NOT BE USED FOR THIS PURPOSE, SINCE THE CUSTOMER MAY NOT AS YET HAVE RECEIVED THE NOTIFICATION LETTER.

IN SUMMARY, WHENEVER A VEHICLE SUBJECT TO THIS CAMPAIGN ENTERS YOUR VEHICLE INVENTORY, OR IS IN YOUR DEALERSHIP FOR SERVICE IN THE FUTURE, PLEASE TAKE THE STEPS NECESSARY TO BE SURE THE CAMPAIGN CORRECTION HAS BEEN MADE BEFORE SELLING OR RELEASING THE VEHICLE.

SERVICE PROCEDURE

1. SLIDE THE DRIVER'S SEAT TO THE FORWARD POSITION.

2. MOVE THE SEAT-BACK TO THE FORWARD POSITION.

3. UNFASTEN THE J-STRIP ON THE SEAT-BOTTOM SEAT TRIM AND REMOVE THE CHRISTMAS TREE FASTENER SECURING THE SIDE SKIRT SEAT TRIM.

IMPORTANT: DO NOT REMOVE THE RECLINER HANDLE.

4. MOVE THE SEAT-BACK TO THE RECLINE POSITION.

5. PULL TRIM BACK TO UNCOVER THE RECLINER MECHANISM.

6. INSERT THE SCREW INTO THE HOLE IN THE PROTECTOR COVER (FIGURE 1, ITEM 1). LOCATE THE HOLE IN THE RECLINER MECHANISM (FIGURE 1, ITEM 2). ALIGN THE SCREW WITH THE HOLE, AND COVER BOTH THE TOP AND REAR SURFACE OF THE RECLINER MECHANISM WITH THE EDGE OF THE PROTECTOR COVER. TIGHTEN THE SCREW UNTIL THE PROTECTOR COVER IS SECURELY ATTACHED TO THE RECLINER MECHANISM.

IMPORTANT: THE EDGE OF THE COVER MUST BE SEATED ON BOTH THE TOP AND THE REAR SURFACE EDGE OF THE RECLINER MECHANISM.

7. REPOSITION THE SIDE SKIRT WITH THE NEW CHRISTMAS TREE FASTENER AND REFASTEN THE J- STRIP ON THE SEAT-BOTTOM SEAT TRIM.

8. REPEAT THE SAME PROCEDURE ON THE OUTBOARD SIDE OF THE FRONT PASSENGER'S SEAT.

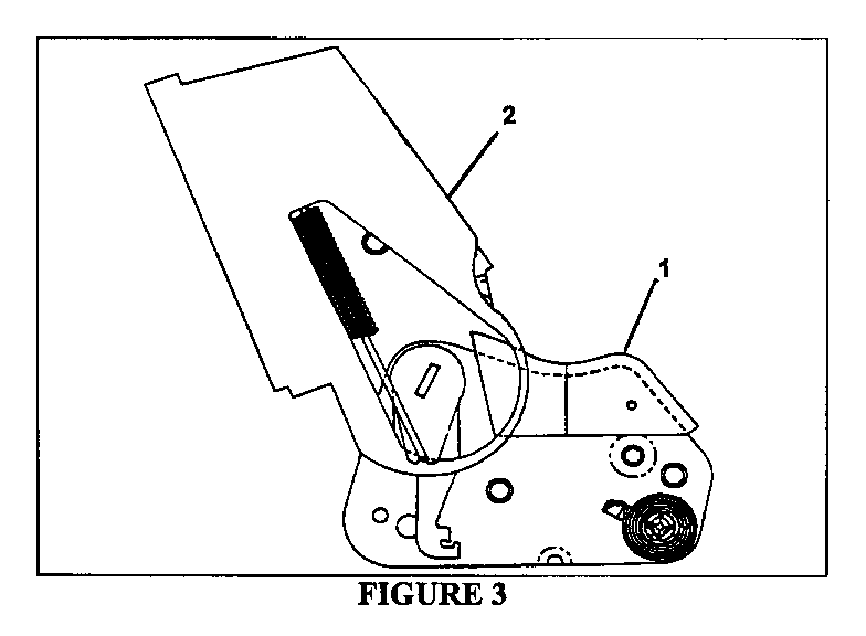
IMPORTANT: FOR 1994 AND 1995 PASSENGER'S SEAT, INSPECT TO SEE IF THERE IS A SPRING COVER OVER THE VERTICAL HINGE SPRING (FIGURE 2, ITEM 1).

IF THERE IS A SPRING COVER, CAREFULLY LIFT THE BOTTOM OF THE SPRING COVER AND SLIDE THE PROTECTOR COVER (FIGURE 3, ITEM 1) BEHIND THE SPRING COVER (FIGURE 3, ITEM 2) WHEN INSTALLING.

IF THERE IS NOT A VERTICAL SPRING COVER PRESENT, INSTALL THE PROTECTOR COVER IN THE SAME MANNER AS THE DRIVER'S SEAT (FIGURE 4).

IMPORTANT: THE 1994 AND 1995 PASSENGER SIDE PROTECTOR COVER WILL NOT COVER THE REAR SURFACE OF THE HINGE (FIGURES 3 AND 4).

10. INSTALL THE GM CAMPAIGN IDENTIFICATION LABEL.

FIGURE 1

FIGURE 2

FIGURE 3

FIGURE 4

CAMPAIGN IDENTIFICATION LABEL

EACH VEHICLE CORRECTED IN ACCORDANCE WITH THE INSTRUCTIONS OUTLINED IN THIS PRODUCT CAMPAIGN BULLETIN WILL REQUIRE A "CAMPAIGN IDENTIFICATION LABEL". EACH LABEL PROVIDES A SPACE TO INCLUDE THE CAMPAIGN NUMBER AND THE FIVE (5) DIGIT DEALER CODE OF THE DEALER PERFORMING THE CAMPAIGN SERVICE. THIS INFORMATION MAY BE INSERTED WITH A TYPEWRITER OR A BALL POINT PEN.

EACH "CAMPAIGN IDENTIFICATION LABEL" IS TO BE LOCATED ON THE RADIATOR CORE SUPPORT IN AN AREA WHICH WILL BE VISIBLE WHEN THE VEHICLE IS BROUGHT IN BY THE CUSTOMER FOR PERIODIC SERVICING. WHEN INSTALLING THE CAMPAIGN IDENTIFICATION LABEL, BE SURE TO PULL THE TAB TO ALLOW ADHESION OF THE CLEAR PROTECTIVE COVERING. ADDITIONAL CAMPAIGN IDENTIFICATION LABELS CAN BE OBTAINED FROM VISPAC INCORPORATED BY CALLING 1-800-269-5100 (MONDAY-FRIDAY, 8:00 A.M. TO 4:30 P.M. EST). ASK FOR ITEM NUMBER S-1015 WHEN ORDERING.

APPLY THE "CAMPAIGN IDENTIFICATION LABEL" ONLY ON A CLEAN, DRY SURFACE.

CLAIM INFORMATION

SUBMIT A PRODUCT CAMPAIGN CLAIM WITH THE INFORMATION INDICATED BELOW:

PART FAILED PARTS LABOR LABOR NET REPAIR PERFORMED COUNT PART NO. ALLOW CC-FC OP * HOURS ITEM

INSTALL PROTECTOR COVER 1 --- ** MA-96 V0049 0.3

* FOR CAMPAIGN ADMINISTRATIVE ALLOWANCE, ADD 0.1 HOURS TO THE "LABOR HOURS".

** THE "PARTS ALLOWANCE" SHOULD BE THE SUM TOTAL OF THE CURRENT GMSPO DEALER NET PRICE PLUS 40% FOR THE SEAT PROTECTOR KIT NEEDED TO COMPLETE THE REPAIR.

REFER TO THE GENERAL MOTORS CORPORATION CLAIMS PROCESSING MANUAL FOR DETAILS ON PRODUCT CAMPAIGN CLAIM SUBMISSION.

FIGURES: 4


Object Number: 170002  Size: MF


Object Number: 336476  Size: MF


Object Number: 452149  Size: MF


Object Number: 452152  Size: MF

GM BULLETINS ARE INTENDED FOR USE BY PROFESSIONAL TECHNICIANS, NOT A "DO-IT-YOURSELFER". THEY ARE WRITTEN TO INFORM THESE TECHNICIANS OF CONDITIONS THAT MAY OCCUR ON SOME VEHICLES, OR TO PROVIDE INFORMATION THAT COULD ASSIST IN THE PROPER SERVICE OF A VEHICLE. PROPERLY TRAINED TECHNICIANS HAVE THE TOOLS, EQUIPMENT, SAFETY INSTRUCTIONS, AND KNOW-HOW TO DO A JOB PROPERLY AND SAFELY. IF A CONDITION IS DESCRIBED, DO NOT ASSUME THAT THE BULLETIN APPLIES TO YOUR VEHICLE, OR THAT YOUR VEHICLE WILL HAVE THAT CONDITION. SEE YOUR DEALER/RETAILER FOR INFORMATION ON WHETHER YOUR VEHICLE MAY BENEFIT FROM THE INFORMATION.

WE SUPPORT VOLUNTARY TECHNICIAN CERTIFICATION

97033

(SAMPLE OF NOTIFICATION USED)

DEAR CHEVROLET/GMC CUSTOMER:

THIS NOTICE IS SENT TO YOU IN ACCORDANCE WITH THE REQUIREMENTS OF THE NATIONAL TRAFFIC AND MOTOR VEHICLE SAFETY ACT.

REASON FOR THIS RECALL: GENERAL MOTORS HAS DECIDED THAT A DEFECT WHICH RELATES TO MOTOR VEHICLE SAFETY EXISTS IN CERTAIN 1994-1997 S/T EXTENDED CAB PICKUPS AND 2-DOOR UTILITY VEHICLES EQUIPPED WITH FRONT RECLINING BUCKET SEATS OR 60/40 BENCH SEATS. SOME OF THESE VEHICLES EXHIBIT A CONDITION IN WHICH THE DRIVER'S AND/OR PASSENGER'S FRONT OUTBOARD SEAT BELT WEBBING COULD SEPARATE DURING A FRONTAL IMPACT HAVING AT LEAST THE SAME DYNAMICS AS A 30 MPH FRONTAL BARRIER COLLISION. ALTHOUGH THE RESTRAINT SYSTEM MEETS ALL THE MVSS REQUIREMENTS WITH THE SEPARATION CONDITION, IF A SEPARATION OCCURRED AND THERE WERE SECONDARY CRASH EVENTS OR ROLLOVER, THERE WOULD BE NO BELT RESTRAINT OF THE OCCUPANT AND INCREASED INJURIES COULD OCCUR.

WHAT WILL BE DONE: TO PREVENT THE POSSIBILITY OF THIS CONDITION OCCURRING, YOUR DEALER WILL INSTALL A PROTECTOR COVER OVER THE RECLINER MECHANISM. THIS SERVICE WILL BE PERFORMED FOR YOU AT NO CHARGE.

HOW LONG WILL THE REPAIR TAKE? THE LENGTH OF TIME REQUIRED TO PERFORM THIS SERVICE CORRECTION IS APPROXIMATELY 20 MINUTES. ADDITIONAL TIME MAY BE REQUIRED TO SCHEDULE AND PROCESS YOUR VEHICLE. IF YOUR DEALER HAS A LARGE NUMBER OF VEHICLES AWAITING SERVICE, THIS ADDITIONAL TIME MAY BE SIGNIFICANT. PLEASE ASK YOUR DEALER IF YOU WISH TO KNOW HOW MUCH ADDITIONAL TIME WILL BE NEEDED.

CONTACTING YOUR DEALER: PLEASE CONTACT YOUR DEALER AS SOON AS POSSIBLE TO ARRANGE A SERVICE DATE. PARTS ARE AVAILABLE AND INSTRUCTIONS FOR MAKING THIS CORRECTION HAVE BEEN SENT TO YOUR DEALER. PLEASE ASK YOUR DEALER IF YOU WISH TO KNOW HOW MUCH TIME WILL BE NEEDED TO SCHEDULE, PROCESS AND REPAIR YOUR VEHICLE. YOUR CHEVROLET/GMC DEALER IS BEST EQUIPPED TO OBTAIN PARTS AND PROVIDE SERVICES TO CORRECT YOUR VEHICLE AS PROMPTLY AS POSSIBLE. SHOULD YOUR DEALER BE UNABLE TO SCHEDULE A SERVICE DATE WITHIN A REASONABLE TIME, YOU SHOULD CONTACT THE APPROPRIATE CUSTOMER ASSISTANCE CENTER AT THE LISTED NUMBER BELOW:

DIVISION

NUMBER DEAF, HEARING IMPAIRED OR SPEECH IMPAIRED *

CHEVROLET 1-800-222-1020 1-800-833-2438

GMC 1-800-462-8782 1-800-462-8583

* UTILIZES TELECOMMUNICATION DEVICES FOR THE DEAF/TEXT TELEPHONES (TDD/TTY)

IF, AFTER CONTACTING THE APPROPRIATE CUSTOMER ASSISTANCE CENTER, YOU ARE STILL NOT SATISFIED THAT WE HAVE DONE OUR BEST TO REMEDY THIS CONDITION WITHOUT CHARGE AND WITHIN A REASONABLE TIME, YOU MAY WISH TO WRITE THE ADMINISTRATOR, NATIONAL HIGHWAY TRAFFIC SAFETY ADMINISTRATION, 400 SEVENTH STREET, S.W. WASHINGTON, DC 20590 OR CALL 1-800-424-9393 (WASHINGTON DC RESIDENTS USE 202-366-0123).

CUSTOMER REPLY CARD: THE ENCLOSED CUSTOMER REPLY CARD IDENTIFIES YOUR VEHICLE. PRESENTATION OF THIS CARD TO YOUR DEALER WILL ASSIST IN MAKING THE NECESSARY CORRECTION IN THE SHORTEST POSSIBLE TIME. IF YOU NO LONGER OWN THIS VEHICLE, PLEASE LET US KNOW BY COMPLETNG THE POSTAGE PAID REPLY CARD AND RETURNING IT TO US.

WE ARE SORRY TO CAUSE YOU THIS INCONVENIENCE; HOWEVER, WE HAVE TAKEN THIS ACTION IN THE INTEREST OF YOUR SAFETY AND CONTINUED SATISFACTION WITH OUR PRODUCTS.

CHEVROLET/PONTIAC-GMC DIVISION GENERAL MOTORS CORPORATION

ENCLOSURE

COPYRIGHT 1998 GENERAL MOTORS CORPORATION. ALL RIGHTS RESERVED.

********************************************************************** *** GM OF CANADA VERSION *** **********************************************************************

PRODUCT CAMPAIGNS 97033(A) FEBRUARY 1998

PRODUCT RECALL CAMPAIGN

PRODUCT SAFETY CAMPAIGN

SUBJECT: CAMPAIGN 97033(A) SEAT BELT SEPARATION

MODELS: 1994-1997 S/T EXTENDED CAB PICKUPS AND 2-DOOR UTILITY WITH FRONT RECLINING BUCKET SEATS (AV5) OR 60/40 BENCH SEATS (AM6)

IN SEPTEMBER, 1997, ALL DEALERS RECEIVED CAMPAIGN BULLETIN 97033 STATING THAT THIS CAMPAIGN WOULD BE ADMINISTERED IN TWO PHASES DUE TO PARTS AVAILABILITY. PHASE ONE INVOLVED 1996 AND 1997 MODEL YEARS. OWNER LETTERS WERE MAILED ON SEPTEMBER 29, 1997.

PHASE TWO INVOLVES 1994 AND 1995 MODEL YEARS. OWNER LETTERS WILL BE MAILED ON FEBRUARY 27, 1998.

DEFECT INVOLVED

GENERAL MOTORS OF CANADA LIMITED HAS DECIDED THAT A DEFECT WHICH RELATES TO MOTOR VEHICLE SAFETY EXISTS IN CERTAIN 1994-1997 S/T EXTENDED CAB PICKUPS AND 2-DOOR UTILITY VEHICLES EQUIPPED WITH FRONT RECLINING BUCKET SEATS (AV5) OR 60/40 BENCH SEATS (AM6). SOME OF THESE VEHICLES EXHIBIT A CONDITION IN WHICH THE DRIVER'S AND/OR PASSENGER'S FRONT OUTBOARD SEAT-BELT WEBBING COULD SEPARATE DURING A FRONTAL IMPACT HAVING AT LEAST THE SAME DYNAMICS AS A 48 KPH FRONTAL BARRIER COLLISION. ALTHOUGH THE RESTRAINT SYSTEM MEETS ALL THE MVSS REQUIREMENTS WITH THE SEPARATION CONDITION, IF A SEPARATION OCCURRED AND THERE WERE SECONDARY CRASH EVENTS OR ROLLOVER, THERE WOULD BE NO BELT RESTRAINT OF THE OCCUPANT AND INCREASED INJURIES COULD OCCUR.

TO PREVENT THE POSSIBILITY OF THIS CONDITION OCCURRING, DEALERS ARE TO INSTALL A PROTECTOR COVER OVER THE RECLINER MECHANISM.

VEHICLES INVOLVED

INVOLVED ARE CERTAIN 1994-1997 S/T EXTENDED CAB PICKUPS AND 2-DOOR UTILITY VEHICLES EQUIPPED WITH FRONT RECLINING BUCKET SEATS (AV5) OR 60/40 BENCH SEATS (AM6) AND BUILT WITHIN THE FOLLOWING VIN BREAKPOINTS:

YEAR DIVISION MODEL PLANT CODE FROM THROUGH

1994 CHEVROLET S/T SHREVEPORT "8" R8100010 R8243059 1994 CHEVROLET S/T LINDEN "K" RK100003 RK183995 1995 CHEVROLET S/T SHREVEPORT "8" S8100009 S8266198 1995 CHEVROLET S/T LINDEN "K" SK100003 SK263007 1995 CHEVROLET S/T MORAINE "2" S2100003 S2229799 1996 CHEVROLET S/T SHREVEPORT "8" T8100001 T8232042 1996 CHEVROLET S/T LINDEN "K" TK100008 TK240986 1997 CHEVROLET S/T SHREVEPORT "8" V8100002 V8199318 1997 CHEVROLET S/T LINDEN "K" VK100002 VK237765 1994 GMC S/T SHREVEPORT "8" R8500040 R8533815 1994 GMC S/T LINDEN " K" RK500002 RK525996 1995 GMC S/T SHREVEPORT "8" S8500004 S8541079 1995 GMC S/T LINDEN "K" SK500002 SK545833 1995 GMC S/T MORAINE "2" S2500001 S2547956 1996 GMC S/T SHREVEPORT "8" T8500001 T8536519 1996 GMC S/T LINDEN "K" TK500005 TK532449 1997 GMC S/T SHREVEPORT "8" V8500004 V8525530 1997 GMC S/T LINDEN "K" VK500004 VK521173

NOTE: PLEASE CHECK DCS SCREEN 445 OR YOUR V.I.N. LISTING BEFORE PERFORMING CAMPAIGN TO ENSURE THAT THE VEHICLE IS AFFECTED. ONLY AFFECTED VIN'S WILL BE PAID.

INVOLVED VEHICLES HAVE BEEN IDENTIFIED BY VEHICLE IDENTIFICATION NUMBER. COMPUTER LISTINGS CONTAINING THE COMPLETE VEHICLE IDENTIFICATION NUMBER, CUSTOMER NAME AND ADDRESS DATA HAVE BEEN PREPARED, AND ARE BEING FURNISHED TO INVOLVED DEALERS WITH THE CAMPAIGN BULLETIN. THE CUSTOMER NAME AND ADDRESS DATA FURNISHED WILL ENABLE DEALERS TO FOLLOW-UP WITH CUSTOMERS INVOLVED IN THIS CAMPAIGN. ANY DEALER NOT RECEIVING A COMPUTER LISTING WITH THE CAMPAIGN BULLETIN HAS NO INVOLVED VEHICLES CURRENTLY ASSIGNED.

THESE DEALER LISTINGS MAY CONTAIN CUSTOMER NAMES AND ADDRESSES OBTAINED FROM THE INTER-PROVINCIAL RECORDS. THE USE OF SUCH MOTOR VEHICLE REGISTRATION DATA FOR ANY OTHER PURPOSE IS A VIOLATION OF PROVINCIAL LAWS. ACCORDINGLY, YOU ARE URGED TO LIMIT THE USE OF THIS LISTING TO THE FOLLOW-UP NECESSARY TO COMPLETE THIS CAMPAIGN.

PARTS INFORMATION

NOTICE: AN INITIAL SUPPLY OF 1994-1995 PARTS REQUIRED TO COMPLETE THIS CAMPAIGN WILL BE PRE-SHIPPED TO INVOLVED DEALERS OF RECORD. THIS PRE-SHIPMENT WILL OCCUR THE WEEK OF FEBRUARY 23, 1998. PRE-SHIPPED PARTS WILL BE CHARGED TO DEALER'S OPEN PARTS ACCOUNT.

AN INITIAL SUPPLY OF 1996-1997 PARTS REQUIRED TO COMPLETE THIS CAMPAIGN WAS PRE-SHIPPED TO INVOLVED DEALERS OF RECORD. THIS PRE-SHIPMENT OCCURRED THE WEEK OF SEPTEMBER 15, 1997. PRE-SHIPPED PARTS WERE CHARGED TO DEALER'S OPEN PARTS ACCOUNT.

ADDITIONAL PARTS, IF REQUIRED, ARE TO BE OBTAINED FROM GENERAL MOTORS SERVICE PARTS OPERATIONS (GMSPO). PLEASE REFER TO YOUR "INVOLVED VEHICLES LISTING" PRIOR TO ORDERING REQUIREMENTS.

PART NUMBER DESCRIPTION QUANTITY/VEHICLE

88880006 CUSHION PAD PROTECTOR KIT (1996-97 MODELS) 1 88880016 CUSHION PAD PROTECTOR KIT (1994-95 MODELS) 1

CUSTOMER NOTIFICATION

CUSTOMERS OF 1996 AND 1997 MODEL YEAR VEHICLES WERE NOTIFIED OF THIS CAMPAIGN ON THEIR VEHICLES BY FIRST CLASS MAIL FROM GENERAL MOTORS THE WEEK OF SEPTEMBER 29, 1997.

CUSTOMERS OF 1994 AND 1995 MODEL YEAR VEHICLES WILL BE NOTIFIED OF THIS CAMPAIGN ON THEIR VEHICLES BY FIRST CLASS MAIL FROM GENERAL MOTORS BEGINNING FEBRUARY 27, 1998.

DEALER CAMPAIGN RESPONSIBILITY

ALL UNSOLD NEW VEHICLES IN DEALER'S POSSESSION AND SUBJECT TO THIS CAMPAIGN MUST BE HELD AND INSPECTED/REPAIRED PER THE SERVICE PROCEDURE OF THIS CAMPAIGN BULLETIN BEFORE CUSTOMERS TAKE POSSESSION OF THESE VEHICLES.

DEALERS ARE TO SERVICE ALL VEHICLES SUBJECT TO THIS CAMPAIGN AT NO CHARGE TO CUSTOMERS, REGARDLESS OF MILEAGE, AGE OF VEHICLE, OR OWNERSHIP, FROM THIS TIME FORWARD.

CUSTOMERS WHO HAVE RECENTLY PURCHASED VEHICLES SOLD FROM YOUR VEHICLE INVENTORY, AND FOR WHICH THERE IS NO CUSTOMER INFORMATION INDICATED ON THE DEALER LISTING, ARE TO BE CONTACTED BY THE DEALER. ARRANGEMENTS ARE TO BE MADE TO MAKE THE REQUIRED CORRECTION ACCORDING TO THE INSTRUCTIONS CONTAINED IN THIS BULLETIN. THIS COULD BE DONE BY MAILING TO SUCH CUSTOMERS A COPY OF THE APPROPRIATE CUSTOMER LETTER ACCOMPANYING THIS BULLETIN.

IN SUMMARY, WHENEVER A VEHICLE SUBJECT TO THIS CAMPAIGN ENTERS YOUR VEHICLE INVENTORY, OR IS IN YOUR DEALERSHIP FOR SERVICE IN THE FUTURE, YOU MUST TAKE THE STEPS NECESSARY TO BE SURE THE CAMPAIGN CORRECTION HAS BEEN MADE BEFORE SELLING OR RELEASING THE VEHICLE.

SERVICE PROCEDURE

1. SLIDE THE DRIVER'S SEAT TO THE FORWARD POSITION.

2. MOVE THE SEAT-BACK TO THE FORWARD POSITION.

3. UNFASTEN THE J-STRIP ON THE SEAT-BOTTOM SEAT TRIM AND REMOVE THE CHRISTMAS TREE FASTENER SECURING THE SIDE SKIRT SEAT TRIM.

NOTE: DO NOT REMOVE THE RECLINER HANDLE.

4. MOVE THE SEAT-BACK TO THE RECLINE POSITION.

5. PULL TRIM BACK TO UNCOVER THE RECLINER MECHANISM.

6. INSERT THE SCREW INTO THE HOLE IN THE PROTECTOR COVER (FIGURE 1, ITEM 1). LOCATE THE HOLE IN THE RECLINER MECHANISM (FIGURE 1, ITEM 2). ALIGN THE SCREW WITH THE HOLE, AND COVER BOTH THE TOP AND REAR SURFACE OF THE RECLINER MECHANISM WITH THE EDGE OF THE PROTECTOR COVER. TIGHTEN THE SCREW UNTIL THE PROTECTOR COVER IS SECURELY ATTACHED TO THE RECLINER MECHANISM.

IMPORTANT: THE EDGE OF THE COVER MUST BE SEATED ON BOTH THE TOP AND THE REAR SURFACE EDGE OF THE RECLINER MECHANISM.

7. REPOSITION THE SIDE SKIRT WITH THE NEW CHRISTMAS TREE FASTENER AND REFASTEN THE J-STRIP ON THE SEAT- BOTTOM SEAT TRIM.

8. REPEAT THE SAME PROCEDURE ON THE OUTBOARD SIDE OF THE FRONT PASSENGER'S SEAT.

IMPORTANT: FOR 1994 AND 1995 PASSENGER'S SEAT, INSPECT TO SEE IF THERE IS A SPRING COVER OVER THE VERTICAL HINGE SPRING (FIGURE 2, ITEM 1).

- IF THERE IS A SPRING COVER, CAREFULLY LIFT THE BOTTOM OF THE SPRING COVER AND SLIDE THE PROTECTOR COVER (FIGURE 3, ITEM 1) BEHIND THE SPRING COVER (FIGURE 3, ITEM 2) WHEN INSTALLING.

- IF THERE IS NOT A VERTICAL SPRING COVER PRESENT, INSTALL THE PROTECTOR COVER IN THE SAME MANNER AS THE DRIVER'S SEAT (FIGURE 4).

IMPORTANT: THE 1994 AND 1995 PASSENGER SIDE PROTECTOR COVER WILL NOT COVER THE REAR SURFACE OF THE HINGE (FIGURES 3 AND 4).

9. INSTALL CAMPAIGN IDENTIFICATION LABEL.

FIGURE 1

FIGURE 2

FIGURE 3

FIGURE 4

CAMPAIGN IDENTIFICATION LABEL

EACH VEHICLE CORRECTED IN ACCORDANCE WITH THE INSTRUCTIONS OUTLINED IN THIS PRODUCT CAMPAIGN BULLETIN WILL REQUIRE A "CAMPAIGN IDENTIFICATION LABEL." EACH LABEL PROVIDES A SPACE TO INCLUDE THE CAMPAIGN NUMBER AND THE FIVE (5) DIGIT DEALER CODE OF THE DEALER PERFORMING THE CAMPAIGN SERVICE. THIS INFORMATION MAY BE INSERTED WITH A TYPEWRITER OR A BALL POINT PEN.

INSERT CAMPAIGN NUMBER

INSERT DEALER CODE

EACH "CAMPAIGN IDENTIFICATION LABEL" IS TO BE LOCATED ON THE RADIATOR CORE SUPPORT IN AN AREA WHICH WILL BE VISIBLE WHEN THE VEHICLE IS BROUGHT IN BY THE CUSTOMER FOR PERIODIC SERVICING. ADDITIONAL CAMPAIGN IDENTIFICATION LABELS CAN BE OBTAINED FROM DGN BY CALLING 1-800-668-5539 (MONDAY-FRIDAY, 8:00 A.M. TO 5:00 P.M. EST). ASK FOR ITEM NUMBER GMP 91 WHEN ORDERING.

APPLY THE "CAMPAIGN IDENTIFICATION LABEL" ONLY ON A CLEAN, DRY SURFACE.

CLAIM INFORMATION

SUBMIT A PRODUCT CAMPAIGN CLAIM WITH THE INFORMATION INDICATED BELOW:

PART FAILED PARTS LABOR LABOR NET REPAIR PERFORMED COUNT PART NO. ALLOW CC-FC OP * HOURS ITEM INSTALL PROTECTOR COVER 1 --- ** MA-96 V0049 0.3

* FOR CAMPAIGN ADMINISTRATIVE ALLOWANCE, ADD 0.1 HOURS TO THE "LABOUR HOURS".

** THE "PARTS ALLOWANCE" SHOULD BE THE SUM TOTAL OF THE CURRENT GMSPO DEALER NET PRICE PLUS 40% FOR THE SEAT PROTECTOR KIT NEEDED TO COMPLETE THE REPAIR.

REFER TO THE GENERAL MOTORS CLAIMS PROCESSING MANUAL FOR DETAILS ON PRODUCT CAMPAIGN CLAIM SUBMISSION.

GM BULLETINS ARE INTENDED FOR USE BY PROFESSIONAL TECHNICIANS, NOT A "DO-IT-YOURSELFER". THEY ARE WRITTEN TO INFORM THESE TECHNICIANS OF CONDITIONS THAT MAY OCCUR ON SOME VEHICLES, OR TO PROVIDE INFORMATION THAT COULD ASSIST IN THE PROPER SERVICE OF A VEHICLE. PROPERLY TRAINED TECHNICIANS HAVE THE TOOLS, EQUIPMENT, SAFETY INSTRUCTIONS, AND KNOW-HOW TO DO A JOB PROPERLY AND SAFELY. IF A CONDITION IS DESCRIBED, DO NOT ASSUME THAT THE BULLETIN APPLIES TO YOUR VEHICLE, OR THAT YOUR VEHICLE WILL HAVE THAT CONDITION. SEE YOUR DEALER/RETAILER FOR INFORMATION ON WHETHER YOUR VEHICLE MAY BENEFIT FROM THE INFORMATION.

WE SUPPORT VOLUNTARY TECHNICIAN CERTIFICATION

COPYRIGHT 1998 GENERAL MOTORS CORPORATION. ALL RIGHTS RESERVED.