GM Service Manual Online
For 1990-2009 cars only
Makes
🢒
Chevrolet
🢒
1996
🢒
Blazer - 2WD
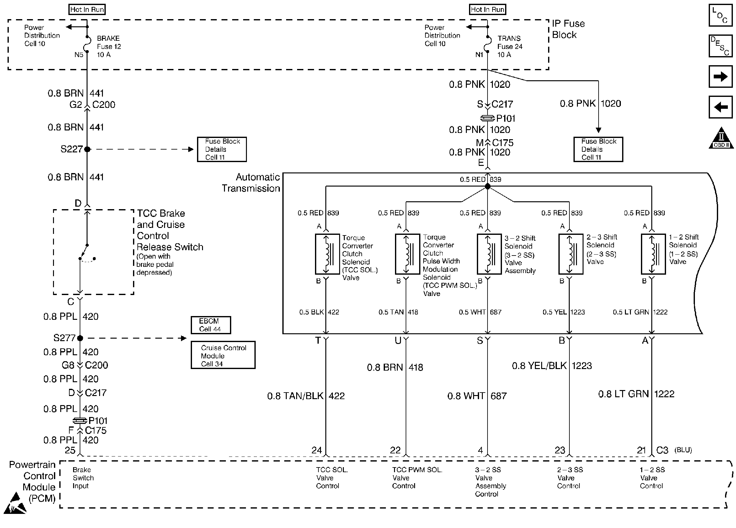
🢒 Transmission Shift Solenoid
Transmission Shift Solenoid
Transmission Shift Solenoid
Handling ESD Sensitive Parts Notice
Engine Controls Components
Transmission Controls Overview
Transmissions PC Solenoids
VSS and Cruise Control
OBD II Symbol Description Notice