GM Service Manual Online
For 1990-2009 cars only

Special Policy 98051 - Insufficient Rear Seat Lighting

Subject:98051 -- Special Policy -- Insufficient Rear Seat Lighting

Models:1997-98 Chevrolet, GMC and Oldsmobile S/T Utility Model Vehicles
Equipped with a Sunroof (CF5)



THIS SPECIAL POLICY IS IN EFFECT UNTIL NOVEMBER 30, 1999.

Condition

Some customers of 1997-98 S/T Utilities equipped with a sunroof (CF5) may comment about insufficient rear seat lighting.

Cause

The original short overhead console used with sunroof equipped vehicles does not provide rear seat dome and reading lamps.

Special Policy Product Enhancement

This special policy covers the condition described above until November 30, 1999. Dealers are to install a dome lamp service kit. Use the following Service Procedure. This will be performed at no charge to the customer during this time.

Vehicles Involved

Involved are certain 1997-98 Chevrolet, GMC and Oldsmobile S/T Utilities equipped with a sunroof (CF5) and built within the following VIN breakpoints:

Year

Division

Model

Plant

Plant Code

From

Through

1997

Chevrolet

Blazer

Moraine

2

V2100003

V2263809

1997

Chevrolet

Blazer

Linden

K

VK100009

VK250237

1998

Chevrolet

Blazer

Moraine

2

W2100001

W2185845

1998

Chevrolet

Blazer

Linden

K

WK100008

WK164957

1997

GMC

Jimmy

Moraine

2

V2500001

V2575063

1997

GMC

Jimmy

Linden

K

VK500010

VK521797

1998

GMC

Jimmy

Moraine

2

W2500001

W2528695

1998

GMC

Jimmy

Linden

K

WK500002

WK508743

1997

Oldsmobile

Bravada

Moraine

2

V2700003

V2727730

1998

Oldsmobile

Bravada

Moraine

2

W2700001

W2711433

Parts Information

Parts required to complete this Special Policy are to be obtained from General Motors Service Parts Operations (GMSPO).

Part Number

Description

Qty/ Vehicle

15013236

Dome Lamp Kit (1997)

1

15013237

Dome Lamp Kit (1998)

1

Customer Notification

Registered letters will be sent to known owners of record located within areas covered by the U.S. National Traffic and Motor Vehicle Safety Act, as amended. For owners outside these areas, the attached suggested dealer letter is recommended and should be sent by dealers.

Service Procedure

  1. Remove the inner roof trim panel (headliner). Refer to the Interior Trim sub-section of the appropriate Service Manual.

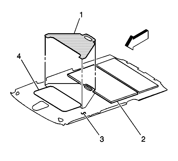
  2. Object Number: 711854  Size: SH
    (1)Dome Lamp Template Cut-Out
    (2)Roof Trim Panel (trimmed/cloth side)
    (3)Sunroof Opening
  3. Place the mounting hole template onto the inner roof trim panel (headliner) on the trimmed/cloth side.
  4. With the template in place, cut out the mounting hole using a utility knife or other suitable tool.

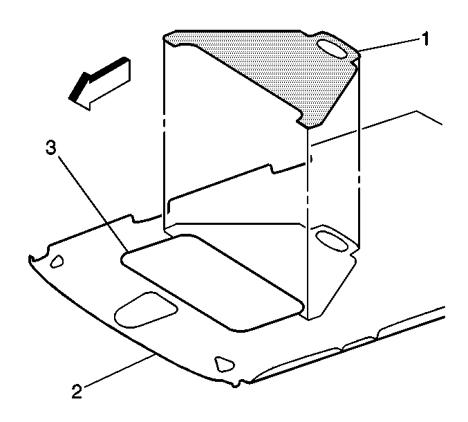
  5. Object Number: 711857  Size: SH
    (1)Dome Lamp Template Cut-Out
    (2)Foam Backing
    (3)Roof Trim Panel (untrimmed/backside)
    (4)Sunroof Opening
  6. Place the mounting hole template onto the untrimmed/backside of the headliner.
  7. Using the template, cut out the foam backing away from the headliner using a utility knife or other suitable too.

  8. Object Number: 711966  Size: SH
    (1)Dome Lamp Assembly
    (2)Roof Trim Panel (untrimmed/backside)
  9. Install the dome lamp assembly to the headliner.

  10. Object Number: 711970  Size: SH
    (1)Dome Lamp Jumper Harness
    (2)Dome Lamp Assembly
    (3)Roof Trim Panel (untrimmed/backside)
  11. On 1997 and early built 1998 vehicles, install the wiring jumper harness and attach to the dome lamp.
  12. Vehicles built later in the 1998 model year are already equipped with the proper wiring for the dome lamp. A wiring harness breakout for the dome lamp wiring can be located near the left side C pillar, off the body harness. The breakout for the dome lamp should be easy to locate on this harness. If the dome lamp breakout is not there, then the jumper harness will have to be utilized.

  13. Route the jumper harness to the rear of the headliner.
  14. Install the inner roof trim panel (headliner).

  15. Object Number: 711974  Size: SH
    (1)Roof Trim Panel
    (2)Cargo Lamp Connector (body wiring harness)
    (3)Cargo Lamp Connector
    (4)Roof Rear Header Garnish moulding
    (5)Moulding Retainers
    (6)Endgate Opening
  16. Connect the jumper harness to the existing body wiring connector and cargo lamp connector.
  17. Reinstall the rear roof header garnish moulding.

Claim Information

Submit a Claim with the information indicated below:

Repair Performed

Part Count

Failed Part No.

Parts Allow

CC-FC

Labor Op

Labor Hours

Install Dome Lamp Kit

1

--

*

MK-95

T5514

 

2-Door

1.9

4-Door

1.7

* -- The "Parts Allowance" should be the sum total of the current GMSPO Dealer Net price plus landed cost mark-up for the dome lamp kit needed to complete the repair.

Suggested Dealer Letter

 

 

 

This letter is to inform you of a service update available at your General Motors dealer in the event you are dissatisfied with the lighting in the rear seat area of your Blazer/Jimmy/Bravada. This is the result of comments received about insufficient rear seat lighting.

A service kit has been developed for the installation of a dome light in the rear seat area. We have the necessary instructions, and the required part kit is currently available. If you desire this improvement be made to your vehicle, please contact us to schedule an appointment. This improvement will be available to you at no charge until November 30, 1999.

Your satisfaction with your Blazer/Jimmy/Bravada is of the utmost important to us and we have taken this action to ensure that your ownership experience is a pleasurable one.

GMODC

General Motors Corporation

November 1998

Dear General Motors Customer:

This letter is to inform you of a service update available at your General Motors dealer in the event you are dissatisfied with the lighting in the rear seat area of your Blazer/Jimmy/Bravada. This is the result of comments received about insufficient rear seat lighting.

A service kit has been developed for the installation of a dome light in the rear seat area. Your GM dealer has the necessary instructions, and the required part kit is currently available. If you desire this improvement be made to your vehicle, please contact your GM dealer to schedule an appointment. This improvement will be available to you at no charge until November 30, 1999.

Your satisfaction with your Blazer/Jimmy/Bravada is of the utmost importance to us and we have taken this action to ensure that your ownership experience is a pleasurable one.

GMODC

General Motors Corporation