GM Service Manual Online
For 1990-2009 cars only

Blower Motor and Fan Replacement Utility

Removal Procedure

    Caution: Unless directed otherwise, the ignition and start switch must be in the OFF or LOCK position, and all electrical loads must be OFF before servicing any electrical component. Disconnect the negative battery cable to prevent an electrical spark should a tool or equipment come in contact with an exposed electrical terminal. Failure to follow these precautions may result in personal injury and/or damage to the vehicle or its components.

  1. Disconnect the battery negative cable.

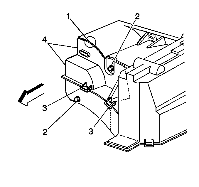
  2. Object Number: 281488  Size: SH
  3. Remove the PCM/VCM. Refer to PCM Replacement/Programming or VCM Replacement/Programming in Engine Controls.
  4. Remove the electrical connectors as necessary.
  5. Remove the coolant reservoir. Refer to Coolant Recovery Reservoir Replacement in Engine Cooling.
  6. Important: It is important to make the cut as straight as possible as the access cover must be replaced and part of this repair is visible to the customer. Cut the cover as far as possible.

  7. Cut through the cover on the cut line (1) with a razor blade or a sharp utility knife.
  8. Tear the remaining part of the access cover (4) from the remaining portion. Begin with the upper half of the access cover.
  9. Remove the cooling tube.
  10. Remove the blower motor access cover screws. The lower screw is on the bottom of the front cover.
  11. Remove the wiring harness from the blower motor assembly.
  12. Remove the blower motor assembly.

Installation Procedure


    Object Number: 281488  Size: SH
  1. Install the blower motor assembly.
  2. Install the wiring harness to the blower motor assembly.
  3. Install the access cover.
  4. Place a piece of duct tape along the bottom edge of the lower half of the access cover. The tape must be the full width of the cover.
  5. Important: Do not use RTV. Make the adhesive bead as straight as possible. Allow the adhesive to set for 15 minutes or until the adhesive becomes tacky.

  6. Seal the cut line areas using black weather-strip adhesive.
  7. Install the cooling tube.
  8. Install the blower motor access cover.
  9. Notice: Use the correct fastener in the correct location. Replacement fasteners must be the correct part number for that application. Fasteners requiring replacement or fasteners requiring the use of thread locking compound or sealant are identified in the service procedure. Do not use paints, lubricants, or corrosion inhibitors on fasteners or fastener joint surfaces unless specified. These coatings affect fastener torque and joint clamping force and may damage the fastener. Use the correct tightening sequence and specifications when installing fasteners in order to avoid damage to parts and systems.

  10. Install the blower motor access cover retaining screws.
  11. Tighten
    Tighten to 1.9 N·m(17 lb ft).

  12. Install the coolant reservoir. Refer to Coolant Recovery Reservoir Replacement in Engine Cooling.
  13. Install the electrical connectors as necessary.
  14. Install the PCM/VCM. Refer to PCM Replacement/Programming or VCM Replacement/Programming in Engine Controls.
  15. Connect the battery negative cable.