GM Service Manual Online
For 1990-2009 cars only

Object Number: 381577  Size: LF
Theft Deterrent System Components
Theft Deterrent System Schematics
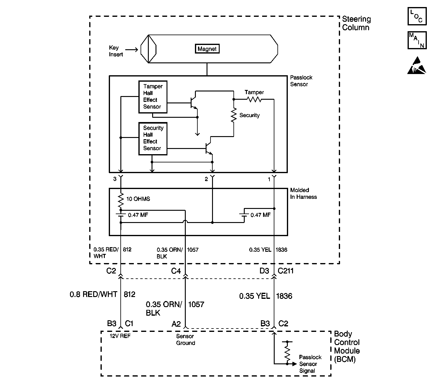
Theft Deterrent System Schematic Icons

Circuit Description

The Passlock™ system is designed in order to prevent vehicle operation if the correct ignition key is not used in order to start the vehicle. The ignition key allows the lock cylinder to turn, which allows the lock cylinder to turn. Once the lock cylinder turns, the Passlock™ sensor (located inside the ignition switch assembly), sends an analog voltage code to the body control module (BCM). If the BCM receives the correct analog voltage code from the Passlock™ sensor, the BCM sends a class 2 serial data password to the powertrain control module (PCM)/vehicle control module (VCM). This action allows the vehicle to start.

Conditions for Setting the DTC

The Passlock™ power circuit remains low (shorted to ground) for 1 second when the ignition switch is in the RUN position.

Action Taken When the DTC Sets

    • The vehicle does not start if the fault occurs before you start the vehicle and the security telltale will be ON.
    • The vehicle will continue to start if the fault occurs after the vehicle is running. The following conditions will exist:
       - The vehicle will be in the Fail Enable mode.
       - The security telltale will be ON.

Conditions for Clearing the MIL/DTC

    • All current DTC (except B3031) clears after an ignition cycle occurs without the fault recurring.
    • A history DTC clears after 100 concurrent ignition cycles occur without the fault recurring.
    • Use a scan tool in order to clear history and current DTCs.

Diagnostic Aids

    • When the ignition switch is turned from the OFF position to the RUN position, the security telltale will turn ON STEADY amd then turn OFF after 3 seconds.
    • Perform a visual inspection of the wiring.
    • Perform a visual inspection of the connectors.
    • Refer to Intermittents and Poor Connections for intermittent and poor connections.

Test Description

The numbers below refer to the step number(s) on the diagnostic table.

  1. This test inspect for a short to ground of CKT 812.

  2. This step inspects for a short between CKT 812 and CKT 1057.

  3. This step isolates the short in CKT 812 between the harness and the Passlock sensor.

  4. This step isolates the short in CKT 812 and CKT 1057 between the harness and the Passlock sensor.

Step

Action

Value(s)

Yes

No

1

Did you perform the VTD Diagnostic System Check?

--

Go to Step 2

Go to Diagnostic System Check - Theft Deterrent

2

  1. Turn the ignition switch to the OFF position.
  2. Disconnect the BRN C1 BCM connector and the LT BLU C2 BCM connector.
  3. Using a J 39200 digital multimeter (DMM), measure the resistance from connector C1 terminal B3 to ground.

Does the meter indicate the specified value?

Less than 5ohms

Go to Step 5

Go to Step 3

3

Use a J 39200 DMM in order to measure the resistance from the connector  C1 terminal B3 to connector C2 terminal A2.

Does the meter indicate the specified value?

Less than 1000ohms

Go to Step 8

Go to Step 4

4

Replace the BCM. Refer to Body Control Module Replacement in Body Control Systems.

Is the repair complete?

--

Go to Step 10

--

5

  1. Disconnect the C211 connector at the base of the steering column.
  2. Use a J 39200 DMM in order to measure the resistance from connector C1 terminal B3 to ground.

Does the meter indicate the specified value?

Less than 5ohms

Go to Step 7

Go to Step 6

6

  1. Replace the Passlock sensor.
  2. • To disassemble Lock Housing:
    • To reassemble Lock Housing:
  3. Follow the Passlock learn procedure. Refer to PASSLOCK Reprogramming Seed and Key or PASSLOCK Reprogramming Auto Learn .

Is the repair complete?

--

Go to Step 10

--

7

Locate and repair the short to ground in CKT 812.

Is the repair complete?

--

Go to Step 10

--

8

  1. Disconnect the C211 connector at the base of the steering column.
  2. Use a J 39200 DMM in order to measure the resistance from connector C1 terminal B3 to connector  C2 terminal A2.

Does the J 39200 DMM indicate the specified value?

Less than 1000ohms

Go to Step 9

Go to Step 6

9

Locate and repair the short between CKT 812 and ground.

Is the repair complete?

--

Go to Step 10

--

10

  1. Reconnect all of the previously disconnected connectors and the components.
  2. Turn the ignition switch to the ON position.
  3. Connect the scan tool.
  4. Clear the DTCs.
  5. Perform the Theft Relearn Procedure if the Passlock sensor or the BCM have been replaced. Refer to PASSLOCK Reprogramming Seed and Key or PASSLOCK Reprogramming Auto Learn .

Is the operation complete?

--

Go to Diagnostic System Check - Theft Deterrent

--