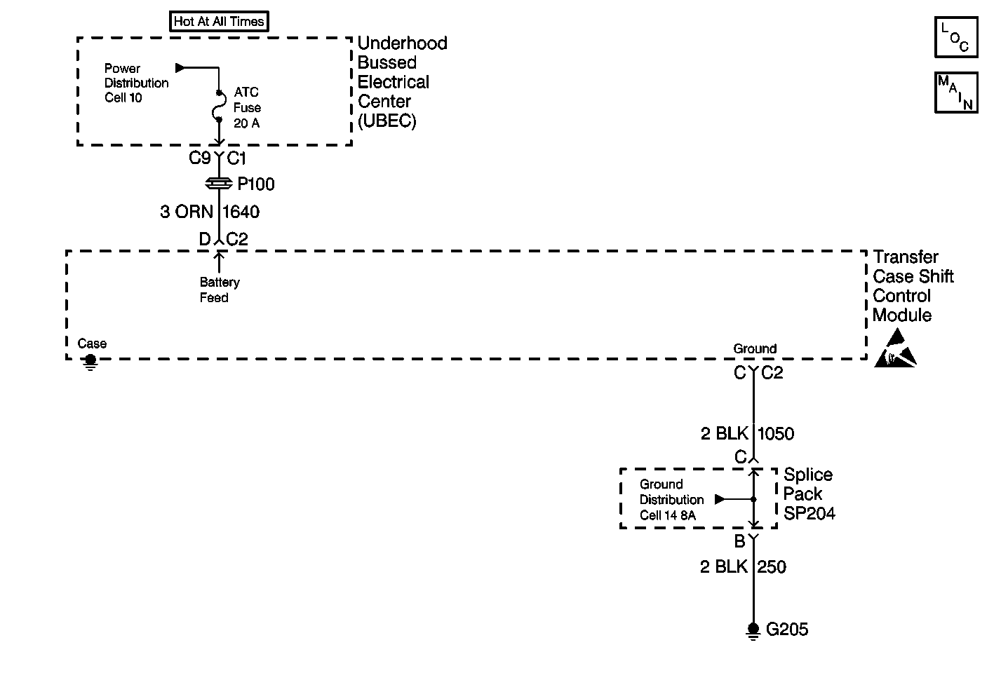
The direct battery supply line (circuit 1640) provides the power to the module and motor circuitry.
This DTC detects a intermittent absence of battery voltage at the module when the module sees an ignition on voltage.
The transfer case shift control module did not power up 8 out of the last 19 ignition cycles.
There are no default actions associated with this DTC. The SERVICE AWD/4WD lamp will not be latched on.
| • | Current DTC |
| The transfer case shift control module will clear the DTC if the condition for setting the DTC no longer exists. |
| • | History DTC |
| - | Once 100 consecutive ignition cycles without a fault present. |
| - | You issue a scan tool CLEAR CODES command. |
Step | Action | Value(s) | Yes | No |
|---|---|---|---|---|
1 | Was the Transfer Case Diagnostic System Check performed? | -- | ||
2 | Inspect the ATC Fuse in the Underhood Bussed Electrical Center. Is the fuse good? | -- | ||
3 |
Is the fuse good? | -- | ||
4 |
Did the DMM display ever drop below battery voltage? | 9-14 V | ||
5 | Repair a open condition in CKT 1640. Are the repairs complete? | -- | -- | |
6 |
Is the resistance measured ever greater than the specified values? | 0-5 ohms | ||
7 | Repair an open or poor ground condition in CKT 1050. Refer to Wiring Repairs in Electrical Diagnosis. Are the repairs complete? | -- | -- | |
8 | Replace the transfer case shift control module. Refer to Transfer Case Control Module Replacement. Is the action complete? | -- | -- | |
9 |
Is the resistance measured ever less than the specified value? | OL | ||
10 |
Are the repairs complete? | -- | -- | |
11 |
Are the repairs complete? | -- | -- | |
12 | Reconnect all ATC system components, make sure all the components are properly mounted. Have all the ATC components been reconnected and properly mounted? | -- | -- | |
13 | Clear all ATC codes. Have all the ATC codes been cleared? | -- | -- |