GM Service Manual Online
For 1990-2009 cars only

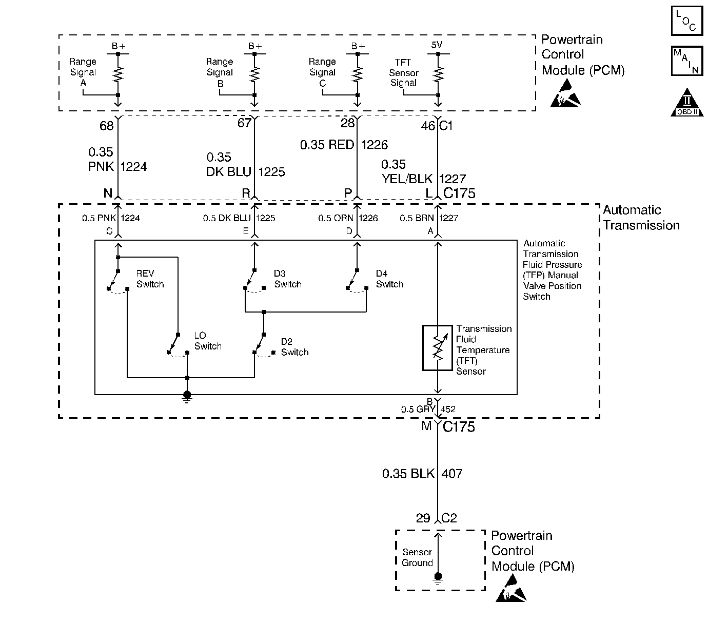
DTC P0711 TFT Sensor Circuit Range/Performance 2.2L


Object Number: 201187  Size: LF
Automatic Transmission Components
Automatic Transmission Controls Schematics
OBD II Symbol Description Notice
Handling ESD Sensitive Parts Notice
Handling ESD Sensitive Parts Notice

Circuit Description

The Automatic Transmission Fluid Temperature (TFT) Sensor is part of the Automatic Transmission Fluid Pressure Manual Valve Position Switch (TFP Val. Position Sw.). The TFT Sensor is a resistor, or thermistor, which changes value based on temperature. The sensor has a negative-temperature coefficient. This means that as the temperature increases, the resistance decreases, and as the temperature decreases, the resistance increases. The Powertrain Control Module (PCM) supplies a 5 volt reference signal to the sensor on circuit 1227 and measures the voltage drop in the circuit. When the transmission fluid is cold, the sensor resistance is high and the PCM detects high signal voltage. As the fluid temperature warms to a normal operating temperature, the resistance becomes less and the signal voltage decreases. The PCM uses this information to control shift quality and torque converter clutch apply.

When the PCM detects one of the following unusual conditions, then DTC P0711 sets.

    • An unrealistically large change in transmission temperature
    • A transmission temperature which remains constant for a period of time in which a measurable amount of change is expected

DTC P0711 is a type D DTC.

Conditions for Setting the DTC

    • No VSS Assy. DTCs P0502 or P0503.
    • No Transmission Component Slipping DTC P1870.
    • The system voltage is 8-16 volts.
    • The engine is running for 409 seconds.
    • The vehicle speed is greater than 8 km/h (5 mph) for 409 seconds.
    • The TCC slip speed is greater than 120 RPM for 409 seconds.
    • The transmission fluid temperature at startup is between -40 and +21°C (-40 and +70°F).
    • The TFT is between -38 and +151°C (-36 and +304°F).
    • The engine coolant temperature is greater than 70°C (158°F) and has changed by 50°C (90°F) since startup.
    • All of the above conditions are met and either of the following fail conditions occurs:
       - The transmission fluid temperature does not change more than 1.50°C (2.7°F) for 409 seconds since startup.
       - The transmission fluid temperature changes more than 20°C (36°F) in 200 milliseconds 14 times within 7 seconds.

Action Taken When the DTC Sets

    • The PCM does not illuminate the Malfunction Indicator Lamp (MIL).
    • The PCM determines a default Transmission Fluid Temperature (TFT) using the following matrix:

       Important: The actions listed below are in order of highest to lowest priority.

        1. If any Engine Coolant Temperature (ECT) DTCs P0117 or P0118 are set, then the default TFT is equal to 135°C (275°F).
        2. If the ECT is 125°C (257°F) or more, then the default TFT is equal to 135°C (275°F).
        3. If the Engine Run Time is less than 300 seconds and:
   • No Intake Air Temperature (IAT) DTCs P0112 or P0113 are set and IAT is available, then the default TFT is equal to IAT.
   • Any Intake Air Temperature (IAT) DTCs P0112 or P0113 are set or IAT is NOT available, then the default TFT is equal to 90°C (194°F).
        4. If the Engine Run Time is greater than 300 seconds and No Intake Air Temperature (IAT) DTCs P0112 or P0113 are set and IAT is available and Engine Coolant Temperature (ECT) is between 40 and 125°C (104 and 257°F) and:
   • IAT at startup is less than 15°C (59°F), then the default TFT is equal to the Engine Coolant Temperature (ECT) plus 5°C (8°F).
   • IAT at startup is greater than 35°C (95°F), then the default TFT is equal to the Engine Coolant Temperature (ECT) plus 10°C (16°F).
   • IAT at startup is between 15 and 35°C (59 and 95°F), then the default TFT is equal to the Engine Coolant Temperature (ECT).
        5. If the Engine Run Time is greater than 300 seconds and any Intake Air Temperature (IAT) DTCs P0112 or P0113 are set or IAT is NOT available, then the default TFT is equal to the Engine Coolant Temperature (ECT).
        6. If the Engine Run Time is greater than 300 seconds and ECT is less than 40°C (104°F) or more, then the default TFT is equal to 60°C (140°F).
    • The PCM freezes shift adapts from being updated.
    • DTC P0711 stores in PCM history.

Conditions for Clearing the DTC

    • A scan tool can clear the DTC from the PCM history. The PCM clears the DTC from the PCM history if the vehicle completes 40 warm-up cycles without a failure reported.
    • The PCM cancels the DTC default actions when the fault no longer exists and the ignition is OFF long enough in order to power down the PCM.

Diagnostic Aids

DTC P0218 may set approximately 600 seconds after DTC P0711 has set. Follow the diagnostic table for DTC P0711 before proceeding to the diagnostic table for DTC P0218. Repairing the condition that caused DTC P0711 will likely eliminate DTC P0218.

Test Description

The numbers below refer to the step numbers on the diagnostic table.

  1. This step tests for an intermittent short or open condition in the engine wiring harness. The test light is used as a resistor in the circuit.

  2. This step determines if the PCM or the TFT sensor is causing a steady, unchanging TFT reading.

DTC P0711 Transmission Fluid Temperature Sensor Circuit -- Range/Performance (2.2L)

Step

Action

Value(s)

Yes

No

1

Was the Powertrain On-Board Diagnostic (OBD) System Check performed?

--

Go to Step 2

Go to Powertrain On Board Diagnostic (OBD) System Check

2

Perform the transmission fluid checking procedure. Refer to Transmission Fluid Check .

Did you perform the fluid checking procedure?

--

Go to Step 3

Go to Transmission Fluid Check

3

  1. Install the Scan Tool .
  2. With the engine OFF, turn the ignition switch to the RUN position.
  3. Important: Before clearing the DTC(s), use the scan tool in order to record the Failure Records for reference. Using the Clear Info function will erase the stored Failure Records from the PCM.

  4. Record the DTC Failure Records, then clear the DTC(s).
  5. Select TFT on the scan tool.
  6. Drive the vehicle and observe the scan tool for either of the following fail conditions:
  7. • The TFT does not change more than 1.50°C (2.7°F) in 409 seconds since startup
    • The TFT changes more than 20°C (36°F) in 200 milliseconds 14 times within 7 seconds (unrealistic change).

Did either of the fail conditions occur?

--

Go to Step 4

Go to Diagnostic Aids

4

Did the scan tool display a condition in which the TFT does not change by more than the specified value in 409 seconds since startup?

1.50°C (2.7°F)

Go to Step 6

Go to Step 5

5

  1. Turn the ignition OFF.
  2. Disconnect the transmission 20-way connector.
  3. Install the J 39775 Jumper Harness on the engine side of the 20-way connector.
  4. Using the J 35616-A Connector Test Adapter Kit, connect a test light from terminal L to terminal M.
  5. Turn the ignition switch to the RUN position.
  6. While observing the scan tool display, move or massage the engine wiring harness from PCM connectors C1 and C2 to the 20-way connector.

Does the TFT change by more than the specified value?

20°C (36°F)

Go to Step 7

Go to Step 8

6

  1. Turn the ignition OFF.
  2. Disconnect the transmission 20-way connector.
  3. Turn the ignition switch to the RUN position.

Does the scan tool display the same condition as in Step 4?

--

Go to Step 11

Go to Step 10

7

  1. Inspect circuits 1227 (YEL/BLK) and 407 (BLK) of the engine wiring harness for an intermittent open or short condition.
  2. Repair the circuits if necessary.

Refer to General Electrical Diagnosis .

Did you find an intermittent open or short condition?

--

Go to Step 12

Go to Step 11

8

Inspect circuits 1227 (BRN) and 452 (GRY) of the automatic transmission wiring harness assembly for an intermittent open or short condition.

Refer to General Electrical Diagnosis .

Did you find an intermittent open or short condition?

--

Go to Step 9

Go to Step 10

9

Replace the automatic transmission wiring harness assembly.

Refer to Torque Converter Clutch Pulse Width Modulation Solenoid, Torque Converter Clutch Solenoid, and Wiring Harness .

Is the replacement complete?

--

Go to Step 12

--

10

Replace the TFT Sensor (the sensor is a part of the TFP Valve Position Switch).

Refer to Valve Body and Pressure Switch Replacement .

Is the replacement complete?

--

Go to Step 12

--

11

Replace the PCM.

Refer to Powertrain Control Module Replacement/Programming .

Is the replacement complete?

--

Go to Step 12

--

12

In order to verify your repair, perform the following procedure:

  1. Select DTC.
  2. Select Clear Info.
  3. Drive the vehicle and ensure that the following conditions are met:
  4. • The TFT changes by more than 2.25°C (4°F) for 11 seconds since startup
    • The TFT does not change by more than 20°C (36°F) within 200 milliseconds for a period of at least 11 seconds
  5. Select Specific DTC. Enter DTC P0711.

Has the test run and passed?

--

System OK

Go to Step 1

DTC P0711 TFT Sensor Circuit Range/Performance 4.3L


Object Number: 201200  Size: LF
Automatic Transmission Components
Automatic Transmission Controls Schematics
OBD II Symbol Description Notice
Handling ESD Sensitive Parts Notice
Handling ESD Sensitive Parts Notice

Circuit Description

The Automatic Transmission Fluid Temperature (TFT) Sensor is part of the Automatic Transmission Fluid Pressure Manual Valve Position Switch (TFP Val. Position Sw.). The TFT Sensor is a resistor, or thermistor, which changes value based on temperature. The sensor has a negative-temperature coefficient. This means that as the temperature increases, the resistance decreases, and as the temperature decreases, the resistance increases. The Vehicle Control Module (VCM) supplies a 5 volt reference signal to the sensor on circuit 1227 and measures the voltage drop in the circuit. When the transmission fluid is cold, the sensor resistance is high and the VCM detects high signal voltage. As the fluid temperature warms to a normal operating temperature, the resistance becomes less and the signal voltage decreases. The VCM uses this information to control shift quality and torque converter clutch apply.

When the VCM detects one of the following unusual conditions, then DTC P0711 sets.

    • An unrealistically large change in transmission temperature
    • A transmission temperature which remains constant for a period of time in which a measurable amount of change is expected

DTC P0711 is a type D DTC.

Conditions for Setting the DTC

    • No VSS Assy. DTCs P0502 or P0503.
    • No Transmission Component Slipping DTC P1870.
    • The system voltage is 10-16 volts.
    • The engine is running for 409 seconds.
    • The vehicle speed is greater than 8 km/h (5 mph) for 409 seconds cumulative this ignition cycle.
    • The TCC slip speed is greater than 120 RPM for 409 seconds cumulative this ignition cycle.
    • The transmission fluid temperature at startup is between -40 and +21°C (-40 and +70°F).
    • The TFT is between -38 and +151°C (-36 and +304°F).
    • The engine coolant temperature is greater than 70°C (158°F) and the temperature has changed by 50°C (90°F) since startup.
    • All of the above conditions are met and either of the following fail conditions occurs:
       - The transmission fluid temperature does not change more than 1.50°C (2.7°F) for 409 seconds since startup.
       - The transmission fluid temperature changes more than 20°C (36°F) in 200 milliseconds 14 times within 7 seconds.

Action Taken When the DTC Sets

    • The VCM does not illuminate the Malfunction Indicator Lamp (MIL).
    • The VCM determines a default Transmission Fluid Temperature (TFT) using the following matrix:
        The scan tool does not indicate the default TFT.

       Important: The actions listed below are in order of highest to lowest priority.

        1. If any Engine Coolant Temperature (ECT) DTCs P0117 or P0118 are set, then the default TFT is equal to 135°C (275°F).
        2. If the ECT is 125°C (257°F) or more, then the default TFT is equal to 135°C (275°F).
        3. If the Engine Run Time is less than 300 seconds and:
   • No Intake Air Temperature (IAT) DTCs P0112 or P0113 are set and IAT is available, then the default TFT is equal to IAT.
   • Any Intake Air Temperature (IAT) DTCs P0112 or P0113 are set or IAT is NOT available, then the default TFT is equal to 90°C (194°F).
        4. If the Engine Run Time is greater than 300 seconds and No Intake Air Temperature (IAT) DTCs P0112 or P0113 are set and IAT is available and Engine Coolant Temperature (ECT) is between 40 and 125°C (104 and 257°F) and:
   • IAT at startup is less than 15°C (59°F), then the default TFT is equal to the Engine Coolant Temperature (ECT) plus 5°C (8°F).
   • IAT at startup is greater than 35°C (95°F), then the default TFT is equal to the Engine Coolant Temperature (ECT) plus 10°C (16°F).
   • IAT at startup is between 15 and 35°C (59 and 95°F), then the default TFT is equal to the Engine Coolant Temperature (ECT).
        5. If the Engine Run Time is greater than 300 seconds and any Intake Air Temperature (IAT) DTCs P0112 or P0113 are set or IAT is NOT available, then the default TFT is equal to the Engine Coolant Temperature (ECT).
        6. If the Engine Run Time is greater than 300 seconds and ECT is less than 40°C (104°F) or more, then the default TFT is equal to 60°C (140°F).
    • The VCM freezes shift adapts from being updated.
    • DTC P0711 stores in VCM history.

Conditions for Clearing the DTC

    • A scan tool can clear the DTC from the VCM history. The VCM clears the DTC from the VCM history if the vehicle completes 40 warm-up cycles without a failure reported.
    • The VCM cancels the DTC default actions when the fault no longer exists and the ignition is OFF long enough in order to power down the VCM.

Diagnostic Aids

DTC P0218 may set approximately 600 seconds after DTC P0711 has set. Follow the diagnostic table for DTC P0711 before proceeding to the diagnostic table for DTC P0218. Repairing the condition that caused DTC P0711 will likely eliminate DTC P0218.

Test Description

The numbers below refer to the step numbers on the diagnostic table.

  1. This step tests for an intermittent short or open condition in the engine wiring harness. The test light is used as a resistor in the circuit.

  2. This step determines if the VCM or the TFT sensor is causing a steady, unchanging TFT reading.

DTC P0711 Transmission Fluid Temperature Sensor Circuit -- Range/Performance (4.3L)

Step

Action

Value(s)

Yes

No

1

Was the Powertrain On-Board Diagnostic (OBD) System Check performed?

--

Go to Step 2

Go to Powertrain On Board Diagnostic (OBD) System Check

2

Perform the transmission fluid checking procedure.

Refer to Transmission Fluid Check .

Did you perform the fluid checking procedure?

--

Go to Step 3

Go to Transmission Fluid Check

3

  1. Install the Scan Tool .
  2. With the engine OFF, turn the ignition switch to the RUN position.
  3. Important: Before clearing the DTC(s), use the scan tool in order to record the Failure Records for reference. Using the Clear Info function will erase the stored Failure Records from the VCM.

  4. Record the DTC Failure Records, then clear the DTC(s).
  5. Select TFT on the scan tool.
  6. Drive the vehicle and observe the scan tool for either of the following fail conditions:
  7. • The TFT does not change more than 1.50°C (2.7°F) in 409 seconds since startup
    • The TFT changes more than 20°C (36°F) in 200 milliseconds 14 times within 7 seconds

Did either of the fail conditions occur?

--

Go to Step 4

Go to Diagnostic Aids

4

Did the scan tool display a condition in which the TFT does not change by more than the specified value in 409 seconds since startup?

1.50°C (2.7°F)

Go to Step 6

Go to Step 5

5

  1. Turn the ignition OFF.
  2. Disconnect the transmission 20-way connector.
  3. Install the J 39775 Jumper Harness on the engine side of the 20-way connector .
  4. Using the J 35616-A Connector Test Adapter Kit, connect a test light from terminal L to terminal M.
  5. Turn the ignition switch to the RUN position.
  6. While observing the scan tool display, move or massage the engine wiring harness from VCM connectors C2 and C3 to the 20-way connector.

Does the TFT change by more than the specified value?

20°C (36°F)

Go to Step 7

Go to Step 8

6

  1. Turn the ignition OFF.
  2. Disconnect the transmission 20-way connector.
  3. Turn the ignition switch to the RUN position.

Does the scan tool display the same condition as in Step 4?

--

Go to Step 11

Go to Step 10

7

  1. Inspect circuit 1227 (YEL/BLK) of the engine wiring harness for an intermittent open or short condition.
  2. Inspect circuit 470 (BLK) of the engine wiring harness for an intermittent open or short condition.
  3. Repair the circuits if necessary.

Refer to General Electrical Diagnosis Procedures.

Did you find an intermittent open or short condition?

--

Go to Step 12

Go to Step 11

8

  1. Inspect circuit 1227 (BRN) of the Automatic Transmission Wiring Harness Assembly (A/T Wiring Harness Assembly) for an intermittent open or short condition.
  2. Inspect circuit 452 (GRY) of the A/T Wiring Harness Assembly for an intermittent open or short condition.

Refer to General Electrical Diagnosis Procedures.

Did you find an intermittent open or short condition?

--

Go to Step 9

Go to Step 10

9

Replace the A/T Wiring Harness Assembly.

Refer to TCC PWM Solenoid, TCC Solenoid, and Wiring Harness Replacement.

Is the replacement complete?

--

Go to Step 12

--

10

Replace the TFT Sensor (the sensor is a part of the TFP Valve Position Switch).

Refer to Valve Body and Pressure Switch Replacement.

Is the replacement complete?

--

Go to Step 12

--

11

Replace the VCM.

Refer to VCM Replacement/Programming .

Is the replacement complete?

--

Go to Step 12

--

12

In order to verify your repair, perform the following procedure:

  1. Select DTC.
  2. Select Clear Info.
  3. Drive the vehicle and ensure that the following conditions are met:
  4. • The TFT changes by more than 2.25°C (4°F) for 11 seconds since startup
    • The TFT does not change by more than 20°C (36°F) within 200 milliseconds for a period of at least 11 seconds
  5. Select Specific DTC. Enter DTC P0711.

Has the test run and passed?

--

System OK

Go to Step 1