GM Service Manual Online
For 1990-2009 cars only
Makes
🢒
Chevrolet
🢒
2000
🢒
Blazer - 2WD
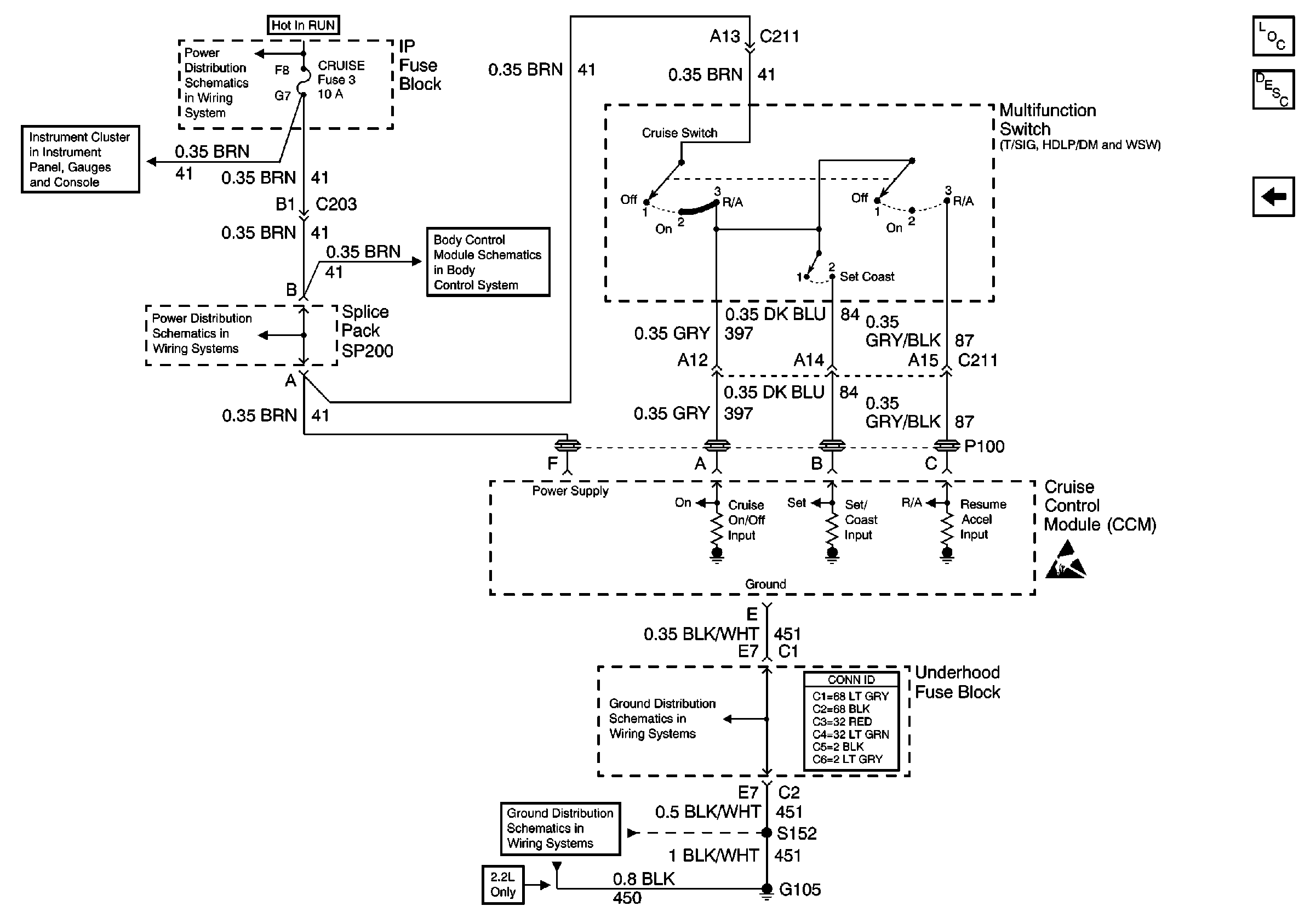
🢒 CRUISE Fuse, Multifunction Switch and Cruise Control Module
CRUISE Fuse, Multifunction Switch and Cruise Control Module
CRUISE Fuse, Multifunction Switch and Cruise Control Module
Cruise Control Components
Cruise Control System Circuit Description
Cruise Control Module and PCM/VCM
Power
HVAC and CRUISE Fuses
HVAC and CRUISE Fuses
Power and Ground
Handling ESD Sensitive Parts Notice
G103 and G105 (2.2L)
G103 and G105 (2.2L)
Power and Grounding Connector End Views